TOP
|
特許
|
意匠
|
商標
特許ウォッチ
Twitter
他の特許を見る
公開番号
2025122741
公報種別
公開特許公報(A)
公開日
2025-08-22
出願番号
2024018351
出願日
2024-02-09
発明の名称
空気分散部材及び乾式分離装置
出願人
株式会社山本工作所
代理人
個人
,
個人
,
個人
,
個人
主分類
B07B
4/08 20060101AFI20250815BHJP(固体相互の分離;仕分け)
要約
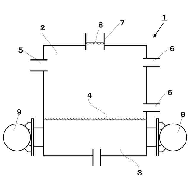
【課題】2枚の多孔板の間にシート状の濾材を挟んで構成される空気分散部材であって、通過する空気の流量あるいは流速のばらつきが生じ難い空気分散部材を提供する。
【解決手段】空気分散部材4は、2枚の多孔板41の間に、シート状の濾材42を挟持して構成される。そして、空気分散部材4は、2枚の多孔板41を互いに緊結して、2枚の多孔板41の間にある濾材42に対して面圧を作用させるボルト44とナット45を備える。
【選択図】図2
特許請求の範囲
【請求項1】
2枚の多孔板の間に、シート状の濾材を挟持して構成される空気分散部材において、
前記2枚の多孔板を互いに緊結して、前記2枚の多孔板の間にある前記濾材に対して面圧を作用させる緊結手段を備えることを特徴とする、
空気分散部材。
続きを表示(約 990 文字)
【請求項2】
複数個の前記緊結手段を備えることを特徴とする、
請求項1に記載の空気分散部材。
【請求項3】
前記空気分散部材の平面形において、複数個の前記緊結手段が格子状に配列されていることを特徴とする、
請求項2に記載の空気分散部材。
【請求項4】
前記緊結手段は、
前記空気分散部材を貫通する貫通孔に挿通されるボルトと前記ボルトに螺合されるナットであることを特徴とする、
請求項1に記載の空気分散部材。
【請求項5】
前記緊結手段は、
前記空気分散部材を貫通する貫通孔に挿通されるリベットであることを特徴とする、
請求項1に記載の空気分散部材。
【請求項6】
前記緊結手段は、
前記空気分散部材を貫通する貫通孔に挿通されて、その両端が前記多孔板に溶接されて固定されるピンであることを特徴とする、
請求項1に記載の空気分散部材。
【請求項7】
前記緊結手段は、
前記2枚の多孔板を縫い合わせる線状部材であることを特徴とする、
請求項1に記載の空気分散部材。
【請求項8】
処理対象物が投入される流動槽と、
前記流動槽の下方にあって前記流動槽に隣接するともに、加圧された空気が外部から供給される空気室と、
前記流動槽と前記空気室の境界に配置されて、両者を区画する請求項1から請求項7のいずれか一項に記載の空気分散部材を備えることを特徴とする、
乾式分離装置。
【請求項9】
処理対象物が投入される流動槽と、
前記流動槽の下方にあって前記流動槽に隣接するともに、加圧された空気が外部から供給される空気室と、
2枚の多孔板の間に、シート状の濾材を挟持して構成される平板状の空気分散部材であって、前記流動槽と前記空気室の境界に配置されて、両者を区画する空気分散部材とを備える乾式分離装置において、
前記流動槽に固定されて、前記空気分散部材の上面に当接する上部当接部材と、
前記上部当接部材の直下にあって、前記空気室に固定されて、前記空気分散部材の下面に当接する下部当接部材と、を備えることを特徴とする、
乾式分離装置。
発明の詳細な説明
【技術分野】
【0001】
本発明は、空気分散部材及び乾式分離装置に関する。
続きを表示(約 2,000 文字)
【背景技術】
【0002】
密度の異なる複数種の粉粒体を構成要素とするとともに、当該構成要素を混合して構成される処理対象物を、構成要素の密度差を利用して、構成要素毎に分離する乾式分離装置が知られている。例えば、特許文献1,2には、流動槽と該流動槽の下方にあって該流動槽に隣接して配置される空気室を備える乾式分離装置が記載されている。
【0003】
また、特許文献1,2に記載の乾式分離装置は流動槽を加振する加振手段を備えていて、流動槽が加振される。流動槽が加振されると、処理対象物である粉粒体の粒子が振動する。粉粒体の粒子が振動すると、粉粒体の粒子の流動性が増すので、処理対象物の分離が促進される。
【0004】
これらの乾式分離装置においては、空気室と流動槽の間に空気分散部材が配置されて両者を区画している。流動槽には処理対象物が投入され、空気室には加圧された空気が外部から供給される。空気室に供給された空気は空気分散部材を通って、流動槽内に流入する。そして、流動槽内にある処理対象物は、空気室から流入する空気の作用によって、流動槽内で流動する。
【0005】
流動槽内にある処理対象物が流動槽内で流動すると、処理対象物の内、密度が小さい構成要素は流動槽内の高い位置に移動する。密度が大きい構成要素は流動槽内の低い位置に移動する。また、流動槽は複数個の排出口を備えていて、複数個の排出口は、流動槽の高さ方向に配置されている。そのため、流動槽の高い位置に配置された排出口からは、密度が小さい構成要素が排出され、低い位置に配置された排出口からは、密度が大きい構成要素が排出される。乾式分離装置においては、概略、以上のプロセスを経て、処理対象物の分離がなされる。
【0006】
さて、上記の乾式分離装置が備える空気分散部材は、流動槽に空気が満遍なく流れるように、空気室から流動槽に流れる空気を分散させる面状の部材である。一般的には、不織布等のシート状の濾材が空気分散部材として使用されるが、シート状の濾材だけでは機械的な強度が不足し、そのためにメンテナンスに手間が掛かるという問題がある。この問題を解決するために、特許文献2に記載の乾式分離装置においては、一般にパンチングメタルと呼ばれる金属製の多孔板をシート状の濾材の強度不足を補う補強部材としている。より具体的に言うと、特許文献2に記載の乾式分離装置においては、2枚の多孔板の間にシート状の濾材を挟んだものを、空気分散部材としている。この空気分散部材においては、2枚の多孔板と濾材が機械的に一体に構成されているので、空気分散部材のハンドリングが容易である。そのため、乾式分離装置の製造及び保守整備を容易にすることができる。
【先行技術文献】
【特許文献】
【0007】
特開2016-168556号公報
特開2021-171668号公報
【発明の概要】
【発明が解決しようとする課題】
【0008】
しかしながら、一般に多孔板は、打ち抜き加工を経て製造されるので、面外方向に多少の歪が残る。そのため、2枚の多孔板の間にシート状の濾材を挟むと、多孔板とシート状の濾材との間に、僅かであるが、不規則な隙間が生じる。そのため、2枚の多孔板の間に流入した空気の一部が該隙間を通って予期しない部位に流れることがある。そして、その結果、空気分散部材の反対側の面から吹き出す空気の流量あるいは流速に偏りが生じることがある。つまり、空気分散部材の反対側の面から吹き出す空気の流量あるいは流速が、小孔毎に相違することがある。要するに、流動槽に向かって空気分散部材から流出する空気の流量あるいは流速が、空気分散部材の部位によって大きくなったり、あるいは小さくなったりすることがある。
【0009】
そして、空気分散部材から流出する空気の流量あるいは流速に偏りが生じると、流動槽内のある部位においては粉粒体が上昇し、別の部位では粉粒体が下降するという現象が生じる。そのため、粉粒体は流動槽内で不規則に上下動する。その結果、流動槽内の特定の高さにおいて、密度の異なる複数種の粉粒体が許容できない水準で混在するという現象が生じる。そのため、特定の排出口から、密度の異なる複数種の粉粒体が排出されるという問題が生じる。つまり、乾式分離装置の分離精度が低下して、処理対象物を十分に分離できなくなるという問題が生じる。
【0010】
なお、本願発明の発明者らの研究によれば、上記の現象は、加振手段を動作させて、流動槽を加振する場合に、顕著に生じることが分かった。つまり、加振手段を動作させて、処理対象物の分離を促進しようとすると、乾式分離装置の分離精度が顕著に低下して、処理対象物を十分に分離できなくなるという問題が生じることがあった。
(【0011】以降は省略されています)
この特許をJ-PlatPat(特許庁公式サイト)で参照する
関連特許
日清製粉株式会社
篩
5か月前
個人
ゴミ分別システム
3か月前
株式会社クボタ
豆類選別機
1か月前
株式会社クボタ
豆類選別機
1か月前
株式会社クボタ
豆類選別機
1か月前
近江度量衡株式会社
選別箱詰システム
1か月前
シブヤ精機株式会社
農産物の集出荷装置
2か月前
川崎重工業株式会社
廃棄物処理システム
1か月前
コネクテッドロボティクス株式会社
処理方法
4か月前
キヤノン株式会社
分別装置及び分別方法
4か月前
アンリツ株式会社
物品検査装置
29日前
株式会社栗本鐵工所
ローラスクリーン
1か月前
株式会社クボタ
豆類選別機
1か月前
株式会社クボタ
豆類選別機
1か月前
株式会社シンセイ
砂乾燥選別装置
5か月前
株式会社サタケ
測定装置および選別装置
2か月前
株式会社クボタ
豆類選別機
1か月前
TOPPANホールディングス株式会社
選果装置
8日前
日本協同企画株式会社
果菜引継ぎ搬送装置及び果菜箱詰め装置
4か月前
株式会社 東京ウエルズ
ワーク分類装置、ワーク分類方法
3か月前
株式会社山本工作所
空気分散部材及び乾式分離装置
3か月前
アンリツ株式会社
選別装置および物品検査装置
3か月前
株式会社PFU
物体撮像装置および物体認識装置
5か月前
株式会社ダルトン
振動ふるい装置及び振動ふるい方法
1か月前
三井金属計測機工株式会社
選果装置の排果システム
1か月前
アクセリア株式会社
情報提供システム、提供情報生成装置及び情報提供方法
2か月前
国立大学法人北海道大学
粒子の分離方法および粒子の分離装置
1か月前
日本製鉄株式会社
スクラップ選別装置およびそれを用いたスクラップの選別方法
8日前
UBE三菱セメント株式会社
長尺物の篩い分け方法、焼却灰の処理方法、及び、振動篩機
3か月前
株式会社FUJI
異物除去方法
3か月前
アクセリア株式会社
情報提供システム及び情報提供方法
1か月前
日鉄エンジニアリング株式会社
異物分離装置及び異物分離方法
2か月前
個人
灰汁除去器具、灰汁除去器具の製造方法
1か月前
個人
複素環式THR-β受容体アゴニスト化合物ならびにその調製方法および使用
4か月前
リジェネックスバイオ インコーポレイテッド
完全ヒト翻訳後修飾抗体による治療剤
3か月前
他の特許を見る