TOP
|
特許
|
意匠
|
商標
特許ウォッチ
Twitter
他の特許を見る
公開番号
2025162331
公報種別
公開特許公報(A)
公開日
2025-10-27
出願番号
2024065560
出願日
2024-04-15
発明の名称
選果装置の排果システム
出願人
三井金属計測機工株式会社
代理人
弁理士法人エスエス国際特許事務所
主分類
B07C
5/36 20060101AFI20251020BHJP(固体相互の分離;仕分け)
要約
【課題】検査における最適な排出口の割り当てを自動的に行い、時期や生産者などによらず、選果作業に必要な時間の短縮や青果物の搬送に必要な電力の削減を行う。
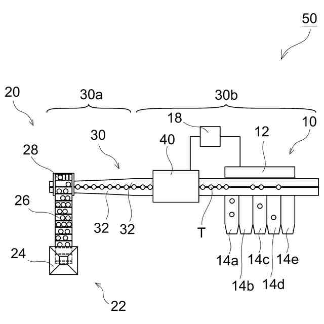
【解決手段】青果物Tのランクに応じて異なる排出口14a-14eへと青果物Tを排出する排果システム10にて、青果物検査装置40によって検査された青果物Tの検査結果に基づき、青果物Tのランクを選別する制御装置18と、複数の排出口と排出口14a-14eに青果物Tを排出するための排出機構とを有する選別排出装置12とを備え、制御装置18は、選果作業の開始時に、選果データに基づき、青果物Tのランクごとの個数を計数し、搬送手段の上流側にある排出口14a-14eから順に、個数の多いランクを割り当てるとともに、選果作業の際に、青果物Tのランクに基づき、選別排出装置12を制御して、青果物Tのランクに応じた排出口14a-14eに青果物Tを排出する。
【選択図】図1
特許請求の範囲
【請求項1】
青果物を搬送手段によって搬送しながら選果を行う選果装置において、前記青果物のランクに応じて異なる排出口へと前記青果物を排出する排果システムであって、
事前に取得した選果データが記録されているとともに、青果物検査装置によって検査された前記青果物の検査結果に基づき、前記青果物のランクを選別する制御装置と、
複数の排出口と、前記排出口に前記青果物を排出するための排出機構と、を有する選別排出装置と、
を備え、
前記制御装置は、選果作業の開始時に、前記選果データに基づき、前記青果物のランクごとの個数を計数し、前記搬送手段の上流側にある前記排出口から順に、個数の多いランクを割り当てるように構成されるとともに、
前記制御装置は、選果作業の際に、前記青果物のランクに基づき、前記選別排出装置を制御して、前記青果物のランクに応じた排出口に前記青果物を排出するように構成されることを特徴とする排果システム。
続きを表示(約 120 文字)
【請求項2】
前記選果データが、直近の選果作業を行った際に取得した選果データ、または、選果作業を行う前に、一部の前記青果物を抜き出して予備選果を行うことで取得した選果データであることを特徴とする請求項1に記載の排果システム。
発明の詳細な説明
【技術分野】
【0001】
本発明は、青果物の選別作業において、例えば、等級や品質などに基づき青果物を所定の排出口へ排出する選果装置の排果システムに関する。
続きを表示(約 1,800 文字)
【背景技術】
【0002】
従来、選果場などにおいて、青果物の選果を行う際には、ピアノ鍵盤状のコンベアを用いたPKコンベアや平ベルトコンベアなどの搬送装置によって選果物を搬送しながら、例えば、外観検査装置や内部品質検査装置などを用いて青果物の等級や品質などを判別し、この判別結果に基づいて、各青果物を等級ごとや品質ごとに仕分けられた排出口へ排出する選果装置が用いられている。
【0003】
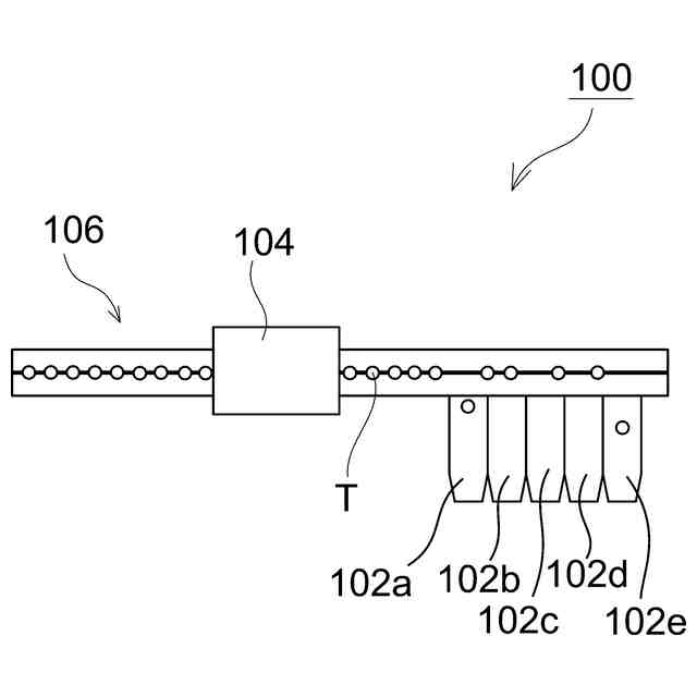
このような選果装置100は、図4に示すように、例えば、外観検査装置や内部品質検査装置などの検査装置104と、搬送手段106と、複数の排出口102a~102eを備えており、検査装置104によって検査された青果物は、搬送手段106によって一方向に搬送され、検査装置104による検査結果に基づき、各排出口102a~102eに排出される。
【0004】
例えば、各排出口102a~102eには、それぞれ、高糖度の青果物(排出口102a)、中等度の青果物(排出口102b)、低糖度の青果物(排出口102c)、規格外の青果物(排出口102d)、障害果(排出口102e)が排出されるように設定されている。
【発明の概要】
【発明が解決しようとする課題】
【0005】
このような従来の選果装置100では、一般的に、事前に設定された排出口は変更することなく運用されている。
選果作業後の動線を考慮すると、次の作業場所に近い排出口(例えば、排出口102e)に、排出される量が多い等級・品質の青果物(例えば、中等度の青果物)を排出するように設定したり、逆に、選果作業に必要な時間の短縮や青果物の搬送に必要な電力の削減などを目的として、検査後の青果物の搬送距離を短くするために、検査装置104に近い排出口(排出口102a)に、排出される量が多い等級・品質の青果物を排出するように設定したりすることができる。
【0006】
しかしながら、時期や生産者によって排出される量が多い等級・品質が異なることがある。このため、排出口ごとに排出される等級・品質を固定してしまうと、時期や生産者によっては、選果作業に必要な時間が延びてしまったり、青果物の搬送に必要な電力が増えてしまったりする。
【0007】
本発明では、このような現状に鑑み、検査における最適な排出口の割り当てを自動的に行い、時期や生産者などによらず、選果作業に必要な時間の短縮や青果物の搬送に必要な電力の削減を行うことができる選果装置の排果システム及び排果方法を提供することを目的とする。
【課題を解決するための手段】
【0008】
本発明は、上述するような従来技術における課題を解決するために発明されたものであって、本発明の選果装置の排果システムは、以下のように構成されたものを含む。
【0009】
[1] 青果物を搬送手段によって搬送しながら選果を行う選果装置において、前記青果物のランクに応じて異なる排出口へと前記青果物を排出する排果システムであって、
事前に取得した選果データが記録されているとともに、青果物検査装置によって検査された前記青果物の検査結果に基づき、前記青果物のランクを選別する制御装置と、
複数の排出口と、前記排出口に前記青果物を排出するための排出機構と、を有する選別排出装置と、
を備え、
前記制御装置は、選果作業の開始時に、前記選果データに基づき、前記青果物のランクごとの個数を計数し、前記搬送手段の上流側にある前記排出口から順に、個数の多いランクを割り当てるように構成されるとともに、
前記制御装置は、選果作業の際に、前記青果物のランクに基づき、前記選別排出装置を制御して、前記青果物のランクに応じた排出口に前記青果物を排出するように構成されることを特徴とする排果システム。
【0010】
[2] 前記選果データが、直近の選果作業を行った際に取得した選果データ、または、選果作業を行う前に、一部の前記青果物を抜き出して予備選果を行うことで取得した選果データであることを特徴とする[1]に記載の排果システム。
【発明の効果】
(【0011】以降は省略されています)
この特許をJ-PlatPat(特許庁公式サイト)で参照する
関連特許
日清製粉株式会社
篩
4か月前
個人
ゴミ分別システム
3か月前
株式会社タケエイ
振動篩装置
4か月前
株式会社クボタ
豆類選別機
1か月前
株式会社クボタ
豆類選別機
1か月前
株式会社クボタ
豆類選別機
1か月前
近江度量衡株式会社
選別箱詰システム
28日前
シブヤ精機株式会社
農産物の集出荷装置
1か月前
川崎重工業株式会社
廃棄物処理システム
1か月前
コネクテッドロボティクス株式会社
処理方法
3か月前
キヤノン株式会社
分別装置及び分別方法
4か月前
アンリツ株式会社
物品検査装置
21日前
株式会社栗本鐵工所
ローラスクリーン
1か月前
株式会社クボタ
豆類選別機
1か月前
株式会社クボタ
豆類選別機
1か月前
株式会社クボタ
豆類選別機
1か月前
株式会社サタケ
測定装置および選別装置
1か月前
株式会社シンセイ
砂乾燥選別装置
4か月前
TOPPANホールディングス株式会社
選果装置
今日
日本協同企画株式会社
果菜引継ぎ搬送装置及び果菜箱詰め装置
4か月前
株式会社山本工作所
空気分散部材及び乾式分離装置
3か月前
株式会社 東京ウエルズ
ワーク分類装置、ワーク分類方法
3か月前
アンリツ株式会社
選別装置および物品検査装置
3か月前
株式会社PFU
物体撮像装置および物体認識装置
4か月前
株式会社ダルトン
振動ふるい装置及び振動ふるい方法
1か月前
三井金属計測機工株式会社
選果装置の排果システム
1か月前
アクセリア株式会社
情報提供システム、提供情報生成装置及び情報提供方法
1か月前
国立大学法人北海道大学
粒子の分離方法および粒子の分離装置
1か月前
日本製鉄株式会社
スクラップ選別装置およびそれを用いたスクラップの選別方法
今日
UBE三菱セメント株式会社
長尺物の篩い分け方法、焼却灰の処理方法、及び、振動篩機
3か月前
株式会社FUJI
異物除去方法
3か月前
アクセリア株式会社
情報提供システム及び情報提供方法
1か月前
日鉄エンジニアリング株式会社
異物分離装置及び異物分離方法
2か月前
個人
灰汁除去器具、灰汁除去器具の製造方法
1か月前
個人
複素環式THR-β受容体アゴニスト化合物ならびにその調製方法および使用
4か月前
リジェネックスバイオ インコーポレイテッド
完全ヒト翻訳後修飾抗体による治療剤
3か月前
他の特許を見る