TOP
|
特許
|
意匠
|
商標
特許ウォッチ
Twitter
他の特許を見る
公開番号
2025175588
公報種別
公開特許公報(A)
公開日
2025-12-03
出願番号
2024081767
出願日
2024-05-20
発明の名称
スクラップ選別装置およびそれを用いたスクラップの選別方法
出願人
日本製鉄株式会社
,
産業振興株式会社
代理人
個人
主分類
B07C
5/344 20060101AFI20251126BHJP(固体相互の分離;仕分け)
要約
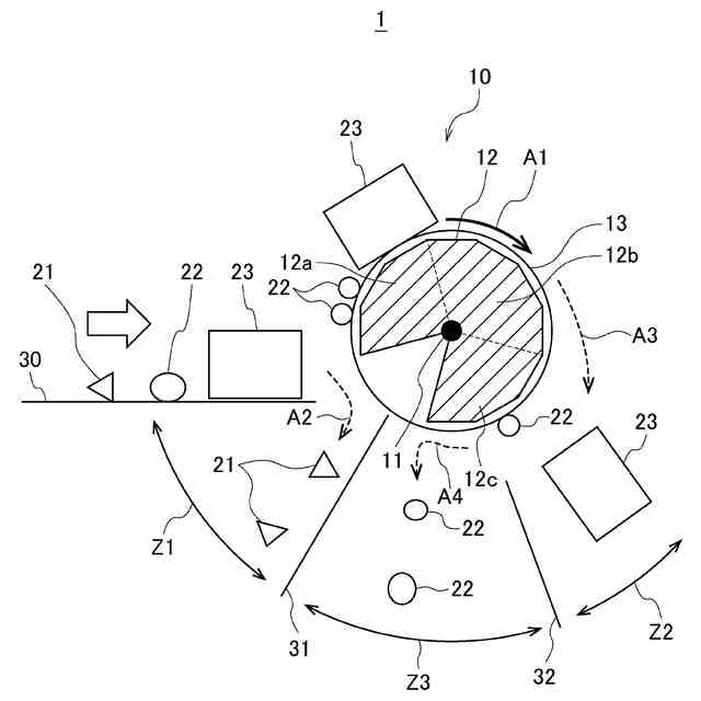
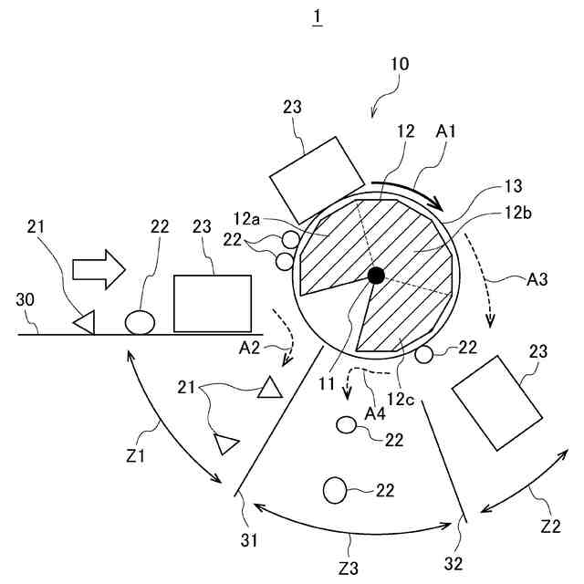
【課題】1つの磁選機でスクラップから非磁性物、軽量磁性物および重量磁性物の3種類に選別可能なスクラップ選別装置およびそれを用いたスクラップの選別方法を提供する。
【解決手段】コンベアとドラム型磁選機との間には、非磁性物を通過させるための隙間が設けられており、ドラム型磁選機に向かってスクラップがコンベアに搬送されると、スクラップ中の非磁性物を前記隙間に落下させ、スクラップ中の軽量磁性物および重量磁性物を回転ドラムに吸着させてドラム型磁選機により回転ドラムの最大高さを経由して搬送し、その後、磁石の磁力に逆らって前記重量磁性物を重力によって前記回転ドラムから落下させ、前記磁石の磁力で吸着できない領域に到達することによって前記軽量磁性物を前記回転ドラムから落下させる。
【選択図】図1
特許請求の範囲
【請求項1】
スクラップの中から、非磁性物、基準重量未満の軽量磁性物、および前記基準重量以上の重量磁性物を選別するスクラップ選別装置であって、
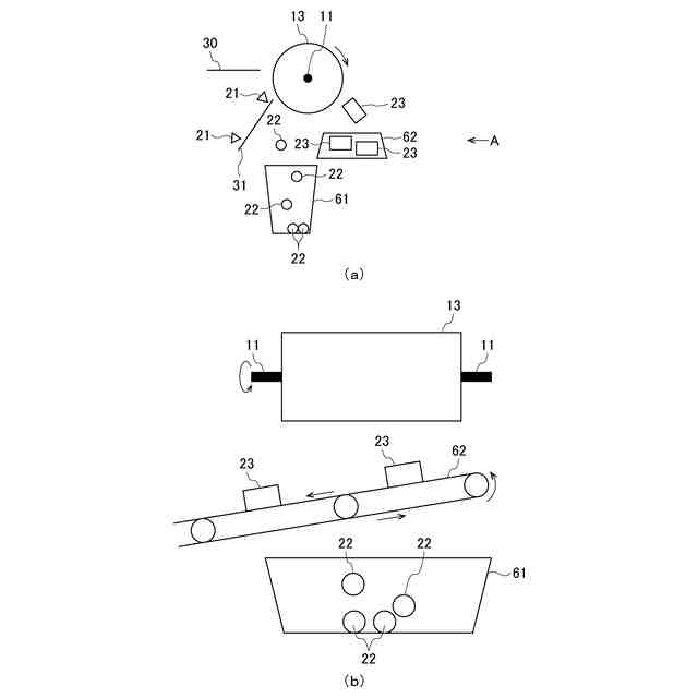
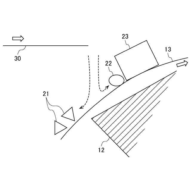
前記スクラップを搬送するコンベアと、
前記コンベアに搬送されたスクラップ中の軽量磁性物および重量磁性物を、内部に固定された磁石を用いて回転ドラムに吸着させるドラム型磁選機と、
を有し、
前記コンベアと前記ドラム型磁選機との間には、前記非磁性物を通過させるための隙間が設けられており、
前記ドラム型磁選機に向かって前記スクラップが前記コンベアに搬送されると、前記スクラップ中の非磁性物を前記隙間に落下させ、前記スクラップ中の軽量磁性物および重量磁性物を前記回転ドラムに吸着させて前記ドラム型磁選機により前記回転ドラムの最大高さを経由して搬送し、その後、前記磁石の磁力に逆らって前記重量磁性物を重力によって前記回転ドラムから落下させ、前記磁石の磁力で吸着できない領域に到達することによって前記軽量磁性物を前記回転ドラムから落下させることを特徴とするスクラップ選別装置。
続きを表示(約 1,200 文字)
【請求項2】
前記軽量磁性物が落下する領域に前記非磁性物が落下しないようにするための第1の仕切り板と、
前記軽量磁性物が落下する領域に前記重量磁性物が落下しないようにするための第2の仕切り板と、
をさらに有し、
前記第2の仕切り板は、前記回転ドラムに吸着した軽量磁性物が衝突しないように設置されていることを特徴とする請求項1に記載のスクラップ選別装置。
【請求項3】
前記重量磁性物が前記回転ドラム上に搬送されて前記回転ドラムのドラム軸と同じ高さに到達してから前記回転ドラムの最も低い位置に到達するまでの間に前記重量磁性物を前記回転ドラムから落下させることを特徴とする請求項1または2に記載のスクラップ選別装置。
【請求項4】
前記ドラム型磁選機の周方向において、少なくとも前記軽量磁性物および重量磁性物を吸着する位置から、前記重量磁性物が落下して前記軽量磁性物のみが前記回転ドラムに吸着し得る位置までの範囲にわたって前記磁石が設置されていることを特徴とする請求項1または2に記載のスクラップ選別装置。
【請求項5】
前記軽量磁性物および重量磁性物を吸着する位置での磁力が、前記重量磁性物が落下する位置での磁力よりも大きいことを特徴とする請求項1または2に記載のスクラップ選別装置。
【請求項6】
前記コンベアから落下する前に、前記軽量磁性物および前記重量磁性物を磁力によって前記回転ドラムに引き寄せて吸着させることを特徴とする請求項1または2に記載のスクラップ選別装置。
【請求項7】
前記コンベアから落下させて前記軽量磁性物および前記重量磁性物を前記回転ドラムに吸着させることを特徴とする請求項1または2に記載のスクラップ選別装置。
【請求項8】
スクラップを搬送するコンベアと、前記コンベアに搬送されたスクラップ中の基準重量未満の軽量磁性物および前記基準重量以上の重量磁性物を、内部に固定された磁石を用いて回転ドラムに吸着させるドラム型磁選機と、を有するスクラップ選別装置を用いたスクラップの選別方法であって、
前記コンベアと前記ドラム型磁選機との間に前記スクラップ中の非磁性物を通過させるための隙間を設け、
前記ドラム型磁選機に向かって前記スクラップが前記コンベアに搬送されると、前記スクラップ中の非磁性物を前記隙間に落下させ、前記スクラップ中の軽量磁性物および重量磁性物を前記回転ドラムに吸着させて前記ドラム型磁選機により前記回転ドラムの最大高さを経由して搬送し、その後、前記磁石の磁力に逆らって前記重量磁性物を重力によって前記回転ドラムから落下させ、前記磁石の磁力で吸着できない領域に到達することによって前記軽量磁性物を前記回転ドラムから落下させることを特徴とするスクラップの選別方法。
発明の詳細な説明
【技術分野】
【0001】
本発明は、スクラップから非磁性物、軽量磁性物および重量磁性物を選別するスクラップ選別装置およびそれを用いたスクラップの選別方法に関する。
続きを表示(約 2,300 文字)
【背景技術】
【0002】
近年、地球温暖化を抑制するためにCO
2
排出量を削減するニーズが高まっており、鉄鋼業においてはCO
2
ガスを排出する高炉法に代わり、電炉法が注目されている。電炉法では、主に廃車や、廃家電、建物、その他使用済み鉄製品である鉄スクラップが主原料として用いられている。一方で、廃車や、廃家電、建物、その他使用済み鉄製品には鉄以外に様々な金属および非金属が使用されている。このため、シュレッダー設備で使用済み鉄製品等の老廃物から生成されたスクラップを破砕処理する際に、鉄とその他の金属および非金属とに選別することが一般的に行われている。
【0003】
特許文献1には、廃棄物に対して、感度を鈍く設定した弱磁力選別機によって軽量磁性物を選別分離し、その後、選別分離された後の廃棄物に対して、感度を高く設定した強磁力選別機によって重量磁性物を除去し、非磁性体を分離する方法が開示されている。また、非磁性物と磁性物とを1つの装置で分離する方法として、特許文献2には、内部磁極と外部磁極により励磁される強磁性マトリクスが磁石の役割を担い、処理物を非磁性物、磁性物、中間物の3つに分離するドラム式磁選機が開示されている。
【先行技術文献】
【特許文献】
【0004】
特開2006-75793号公報
特開平4-74545号公報
特開平11-347443号公報
【発明の概要】
【発明が解決しようとする課題】
【0005】
スクラップをシュレッダー設備に投入する際に、厚鋼板や形鋼などの大きな鉄塊といった重量物が投入されると、シュレッダー設備を壊してしまう可能性がある。このことから、スクラップをシュレッダー設備へ投入する前に、スクラップから非金属などの非磁性物を選別するだけでなく、鉄塊などの重量物も選別する必要がある。一方で、鉄塊などの重量物は比較的不純物が少なく、製鉄原料としてそのまま再利用が可能であることから、非磁性物とは区別して選別することが望ましい。
【0006】
また、スクラップをシュレッダー設備へ運搬するまでの工程においては、プレシュレッダー等を用いてある程度の大きさまでスクラップを粉砕する場合もあり、スクラップを粉砕するまでに様々な設備が必要となる。したがって、シュレッダー設備を壊してしまう可能性のある重量物や非金属などの非磁性物をスクラップから除去する際には、設備上の制約によりできるだけ小規模に行うことが要求される。
【0007】
特許文献1に記載の方法では、強磁力選別機と弱磁力選別機との2個の磁力選別機が必要となり、装置が複雑化して設備が大規模になる上にコストが大きくなってしまう。特許文献2に記載の方法は、粉体中の磁性物を除去することを想定した方法であるため、磁性物の中で軽量物と重量物とを選別することを想定したものではない。
【0008】
本発明は前述の問題点を鑑み、1つの磁選機でスクラップから非磁性物、軽量磁性物および重量磁性物の3種類に選別可能なスクラップ選別装置およびそれを用いたスクラップの選別方法を提供することを目的とする。
【課題を解決するための手段】
【0009】
本発明に係るスクラップ選別装置は、スクラップの中から、非磁性物、基準重量未満の軽量磁性物、および前記基準重量以上の重量磁性物を選別するスクラップ選別装置であって、前記スクラップを搬送するコンベアと、前記コンベアに搬送されたスクラップ中の軽量磁性物および重量磁性物を、内部に固定された磁石を用いて回転ドラムに吸着させるドラム型磁選機とを有し、前記コンベアと前記ドラム型磁選機との間には、前記非磁性物を通過させるための隙間が設けられており、前記ドラム型磁選機に向かって前記スクラップが前記コンベアに搬送されると、前記スクラップ中の非磁性物を前記隙間に落下させ、前記スクラップ中の軽量磁性物および重量磁性物を前記回転ドラムに吸着させて前記ドラム型磁選機により前記回転ドラムの最大高さを経由して搬送し、その後、前記磁石の磁力に逆らって前記重量磁性物を重力によって前記回転ドラムから落下させ、前記磁石の磁力で吸着できない領域に到達することによって前記軽量磁性物を前記回転ドラムから落下させることを特徴とする。
【0010】
本発明に係るスクラップの選別方法は、スクラップを搬送するコンベアと、前記コンベアに搬送されたスクラップ中の軽量磁性物および重量磁性物を、内部に固定された磁石を用いて回転ドラムに吸着させるドラム型磁選機と、を有するスクラップ選別装置を用いたスクラップの選別方法であって、前記コンベアと前記ドラム型磁選機との間に前記スクラップ中の非磁性物を通過させるための隙間を設け、前記ドラム型磁選機に向かって前記スクラップが前記コンベアに搬送されると、前記スクラップ中の非磁性物を前記隙間に落下させ、前記スクラップ中の軽量磁性物および重量磁性物を前記回転ドラムに吸着させて前記ドラム型磁選機により前記回転ドラムの最大高さを経由して搬送し、その後、前記磁石の磁力に逆らって前記重量磁性物を重力によって前記回転ドラムから落下させ、前記磁石の磁力で吸着できない領域に到達することによって前記軽量磁性物を前記回転ドラムから落下させることを特徴とする。
【発明の効果】
(【0011】以降は省略されています)
この特許をJ-PlatPat(特許庁公式サイト)で参照する
関連特許
日本製鉄株式会社
棒鋼
13日前
日本製鉄株式会社
棒鋼
13日前
日本製鉄株式会社
線材
1か月前
日本製鉄株式会社
鋳片
5日前
日本製鉄株式会社
床構造
2か月前
日本製鉄株式会社
鋼部品
1か月前
日本製鉄株式会社
鋼部品
13日前
日本製鉄株式会社
床構造
2か月前
日本製鉄株式会社
鋼部品
1か月前
日本製鉄株式会社
ボルト
2か月前
日本製鉄株式会社
剪断機
2か月前
日本製鉄株式会社
構造部材
2か月前
日本製鉄株式会社
橋脚構造
1か月前
日本製鉄株式会社
溶接継手
1か月前
日本製鉄株式会社
溶接継手
19日前
日本製鉄株式会社
鍛鋼ロール
1か月前
日本製鉄株式会社
鍛鋼ロール
1か月前
日本製鉄株式会社
腐食センサ
1か月前
日本製鉄株式会社
耐火構造物
2か月前
日本製鉄株式会社
耐火構造物
2か月前
日本製鉄株式会社
耐火構造物
2か月前
日本製鉄株式会社
学習システム
1か月前
日本製鉄株式会社
転炉精錬方法
2か月前
日本製鉄株式会社
管理システム
1か月前
日本製鉄株式会社
高Ni合金鋼
1か月前
日本製鉄株式会社
高Ni合金鋼
1か月前
日本製鉄株式会社
表面処理鋼材
5日前
日本製鉄株式会社
高炉の操業方法
1か月前
日本製鉄株式会社
機械構造用部品
14日前
日本製鉄株式会社
原油油槽用鋼材
1か月前
日本製鉄株式会社
溶鉄の製造方法
1か月前
日本製鉄株式会社
溶鉄の製造方法
1か月前
日本製鉄株式会社
溶鉄の製造方法
1か月前
日本製鉄株式会社
焼結鉱の製造方法
1か月前
日本製鉄株式会社
鋼の連続鋳造方法
1か月前
日本製鉄株式会社
鉄道車両用の台車
1か月前
続きを見る
他の特許を見る