TOP
|
特許
|
意匠
|
商標
特許ウォッチ
Twitter
他の特許を見る
10個以上の画像は省略されています。
公開番号
2025157579
公報種別
公開特許公報(A)
公開日
2025-10-15
出願番号
2025127807,2022064861
出願日
2025-07-30,2022-04-11
発明の名称
灰汁除去器具、灰汁除去器具の製造方法
出願人
個人
代理人
個人
主分類
A47J
43/28 20060101AFI20251007BHJP(家具;家庭用品または家庭用設備;コーヒーひき;香辛料ひき;真空掃除機一般)
要約
【課題】お玉の後方に浮遊する灰汁を容易且つ効率的に除去できる灰汁除去器具(お玉)を提供する。
【解決手段】灰汁除去器具であって、掬い部は、柄を保持する手または手首の方向を意味する、掬い部と柄との接続部分(柄の最前部)の後方に、灰汁を溜めるための灰汁溜め手段を備える。灰汁溜め手段は、そこに留めた灰汁が、掬い部の中心方向に流れ出ることを防止する流出防止壁を備える。掬い部は、内部空間に網と補強部材を備え、柄と補強部材とを接続し、網は、灰汁を通過させない程度に網目が細かいものである。柄の後方に灰汁溜め手段が位置するので、後方に浮遊する灰汁を容易に掬い取ることができる。また、直線状の柄を用いて灰汁除去器具を製造し、その後に柄の途中部分を、前方に突出させることにより、柄の最前部の後方にも灰汁を溜めるための灰汁溜め手段を形成することにより、製造コストを安価にすることができる。
【選択図】図2
特許請求の範囲
【請求項1】
内部空間を有する掬い部と、柄と、とからなる灰汁除去器具において、
前記掬い部は、前記内部空間に網と補強部材を備え、
前記柄と前記補強部材とを接続した、
ことを特徴とする灰汁除去器具。
続きを表示(約 71 文字)
【請求項2】
前記網は、灰汁を通過させない程度に網目が細かいものである、
ことを特徴する請求項1記載の灰汁除去器具。
発明の詳細な説明
【技術分野】
【0001】
本発明は、食物を煮た際等に生じる灰汁を除去するための灰汁除去器具(お玉)に関する。
続きを表示(約 2,300 文字)
【背景技術】
【0002】
食物を煮ると灰汁が生じる。灰汁は苦味や渋味を有するため料理を不味くする原因となる。よって、調理の際は適宜灰汁を除去する必要がある。
【0003】
灰汁は、通称「お玉」という調理器具を使って除去することが一般的であり、その方法は以下の通りである。
【0004】
図10の符号60はお玉であり、半球状の器部61と柄62とからなる。柄62は器部61の外縁(外周)に取り付けられている。
鍋30に入っているお湯31の表面には灰汁10が複数浮いている。灰汁10を除去する際はお玉60(器部61)をお湯31の表面で傾け、灰汁10を掬って器部61に溜め、お玉60を別の容器の上に移動させて、その容器に灰汁10を捨てる。
【先行技術文献】
【非特許文献】
【0005】
アマゾンジャパンホームページ、https://www.amazon.co.jp/dp/B07229C6L5/、2021年3月20日検索
【発明の概要】
【発明が解決しようとする課題】
【0006】
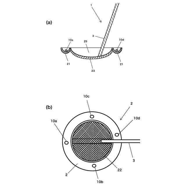
お湯31の表面には無数の灰汁10が浮遊しているが、お玉60の前方にある灰汁10aや、お玉60の横にある灰汁10b・10cは比較的除去しやすい。指や手首を曲げ動かして、お玉60を前方や左右に傾斜させることができるからである。
一方、お玉60の後方にある灰汁10dは除去が困難である。なぜなら、柄62は器部61の外縁(外周)の最も後方に取り付けられているため、柄62の後方には灰汁を除去する手段がないからである。すなわち、お玉60の後方にある灰汁10dを除去するためには手首や肘を大きく(角度で言えば90度近く)曲げて、お玉60の向きを変えなければならないため、除去が困難なのである。
【0007】
なお、現在までに、非特許文献に示したような灰汁除去に特化したお玉(例えば図11)も開発されている。図11のお玉70は、器部71と柄72とからなり、器部71はその中央部に網73を有するものである。網73の網の目は、液体を通過させることができる一方で、灰汁を通過させない大きさであるため、網73で灰汁を掬い除去できる。しかし、これも柄72の後方に灰汁を除去する手段がないため、お玉70の後方にある灰汁の除去が困難であることに変わりはない。
【0008】
本発明は、このような課題を解決するためのものであり、お玉の後方に浮遊する灰汁を容易且つ効率的に除去できる灰汁除去器具(お玉)を提供するものである。
【課題を解決するための手段】
【0009】
上記問題を解決するため、本発明では、以下の灰汁除去器具及び灰汁除去方法が提供される。
(1)掬い部と柄とからなる灰汁除去器具において、
前記掬い部は、前記掬い部と前記柄との接続部分の後方に、灰汁を溜めるための灰汁溜め手段を備える。すなわち、内部空間を有する掬い部と、柄と、とからなる灰汁除去器具において、前記掬い部は、前記内部空間に網と補強部材を備え、前記柄と前記補強部材とを接続した。また、前記網は、灰汁を通過させない程度に網目が細かいものである。
(2)前記接続部分の後方とは、前記柄を保持する手または手首の方向を意味する。
(3)前記接続部分の後方とは、前記掬い部と前記柄との接続部分を境に形成される前記掬い部の2つの方向のうち、前記柄を保持する手または手首の方向を意味する。
(4)前記灰汁溜め手段は、前記灰汁溜め手段に留めた前記灰汁が、前記掬い部の中心方向に流れ出ることを防止する流出防止手段を備える。
(5)前記流出防止手段には、前記掬い部の内側方向に設けられた流出防止壁が含まれる。
(6)前記柄と前記灰汁溜め手段との間に、灰汁を通過させることができる通過手段を備える。
(7)掬い部と柄とからなる灰汁除去器具において、前記掬い部は、前記掬い部と前記柄との接続部分の斜め後方に、灰汁を溜めるための灰汁溜め手段を備える。
(8)掬い部と柄とからなる灰汁除去器具において、前記掬い部は、前記柄の最前部の後方に、灰汁を溜めるための灰汁溜め手段を備える。
(9)最前部の後方とは、前記柄を保持する手または手首の方向を意味する。
(10)直線状に形成された柄と、灰汁を溜めるための灰汁溜め手段を有する掬い部と、を備える器具を加工して灰汁除去器具を製造する方法であり、前記柄の一部を、前方に突出させることにより、前記柄の最前部の後方に灰汁を前記灰汁溜め手段を形成する。
(11)前記最前部の後方とは、前記柄を保持する手または手首の方向を意味し、前記前方とは、前記柄を保持する手または手首から遠ざかる方向を意味する。
【発明の効果】
【0010】
本発明を利用すれば、以下の効果を得ることができる。
(1)灰汁除去器具(お玉)の後方に浮遊する灰汁を容易且つ効率的に除去できる。
(2)灰汁除去器具(お玉)を傾けても、灰汁除去部の内側に流出防止壁部があるので、一度灰汁溜め部に溜めた灰汁が器部の中心方向に溢れ出てしまうことを防止できる。
(3)柄と、柄の後方の灰汁除去部との間にある網は、灰汁を通過させることができるので、器部の内側から灰汁を除去することができる。
【図面の簡単な説明】
(【0011】以降は省略されています)
この特許をJ-PlatPat(特許庁公式サイト)で参照する
関連特許
個人
箸
1か月前
個人
家具
4か月前
個人
椅子
2か月前
個人
自助箸
6か月前
個人
掃除機
8か月前
個人
ソファー
1か月前
個人
耳拭き棒
11か月前
個人
枕
8か月前
個人
掃除道具
8か月前
個人
枕
5か月前
個人
体洗い具
10か月前
個人
屋外用箒
7か月前
個人
ハンガー
7か月前
個人
掃除用具
3か月前
個人
多用途紐
1か月前
個人
物品
3か月前
個人
省煙消臭器
8か月前
個人
掃除シート
9か月前
個人
組立式棚板
7か月前
個人
エコ掃除機
12か月前
個人
片手代替具
11か月前
個人
開閉トング
6か月前
個人
紙コップ 蓋
2か月前
個人
シャワー装置
6か月前
個人
中身のない枕
7か月前
個人
バターナイフ
1か月前
個人
靴ベラ
2か月前
個人
経典表示装置
4か月前
個人
受け皿
5か月前
個人
ゴミ袋保持枠
7か月前
個人
洗面台
10か月前
個人
転倒防止装置
5か月前
個人
汚水漏れ防止具
10か月前
個人
汚水汚れ防止具
10か月前
個人
ホバー掃除機。
6か月前
個人
矯正用枕
4か月前
続きを見る
他の特許を見る