TOP
|
特許
|
意匠
|
商標
特許ウォッチ
Twitter
他の特許を見る
公開番号
2025155693
公報種別
公開特許公報(A)
公開日
2025-10-14
出願番号
2024195385,2024054370
出願日
2024-11-07,2024-03-28
発明の名称
情報提供システム及び情報提供方法
出願人
アクセリア株式会社
代理人
個人
,
個人
,
個人
主分類
B07C
7/04 20060101AFI20251002BHJP(固体相互の分離;仕分け)
要約
【課題】仕分け作業を簡便にすること。
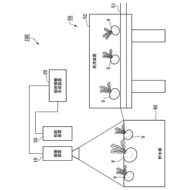
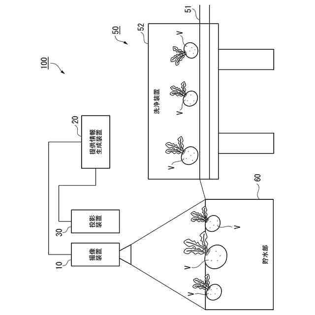
【解決手段】仕分対象となる1つ以上の対象物を撮像する撮像装置と、撮像装置と並んで配置され、撮像装置が撮像することによって得られた画像データで特定される1つ以上の対象物の位置に、1つ以上の対象物の仕分け作業を容易にするための情報である仕分情報を投影する投影装置と、を備える情報提供システム。
【選択図】図1
特許請求の範囲
【請求項1】
仕分対象となる1つ以上の対象物を撮像する撮像装置と、
前記撮像装置と並んで配置され、前記撮像装置が撮像することによって得られた画像データで特定される前記1つ以上の対象物の位置に、前記1つ以上の対象物の仕分け作業を容易にするための情報である仕分情報を投影する投影装置と、
を備える情報提供システム。
続きを表示(約 680 文字)
【請求項2】
前記投影装置は、
前記1つ以上の対象物に基づいて特定される情報に応じた態様で前記仕分情報を前記1つ以上の対象物の位置に投影する、
請求項1に記載の情報提供システム。
【請求項3】
前記1つ以上の対象物に基づいて特定される情報は、前記1つ以上の対象物のサイズを示すサイズ情報と、サイズに応じたグループを示す情報であり、
前記投影装置は、
前記仕分情報として、前記サイズ情報と、前記グループを示す情報とを異なる態様で前記1つ以上の対象物の位置に投影する、
請求項2に記載の情報提供システム。
【請求項4】
前記投影装置は、
前記サイズ情報を文字情報として、前記グループを示す情報を色、記号又は図形として分けて前記1つ以上の対象物に投影する、
請求項3に記載の情報提供システム。
【請求項5】
前記1つ以上の対象物に基づいて特定される情報は、対象物の種類であり、
前記投影装置は、
前記対象物の種類に応じた色で前記仕分情報を投影する、
請求項2に記載の情報提供システム。
【請求項6】
撮像装置によって、仕分対象となる1つ以上の対象物を撮像し、
前記撮像装置と並んで配置された投影装置において、前記撮像装置が撮像することによって得られた画像データで特定される前記1つ以上の対象物の位置に、前記1つ以上の対象物の仕分け作業を容易にするための情報である仕分情報を投影する、
情報提供方法。
発明の詳細な説明
【技術分野】
【0001】
本発明は、情報提供システム及び情報提供方法に関する。
続きを表示(約 1,300 文字)
【背景技術】
【0002】
従来、収穫した農作物を人手で仕分けする作業が行われている。この場合、農作物のサイズを人が目視により確認して重量等の等級に仕分けしている。人が目視により確認して重量等の等級に仕分けする場合、人によって分類サイズが異なってしまうことも考える。従来、撮影画像を用いて農作物を選別する農作物選別装置が提案されている(例えば、特許文献1参照)。
【先行技術文献】
【特許文献】
【0003】
特開2022-102614号公報
【発明の概要】
【発明が解決しようとする課題】
【0004】
特許文献1に記載の農作物選別装置では、農作物の輪郭と輪郭の内部領域の面積とに基づいて農作物の大きさ等級を演算して農作物を選別している。しかしながら、このような農作物選別装置は、農作物を選別する機構を備える必要があるため、従来の構成である農作物を搬送する搬送機構の後に新たな構成を追加する必要がある。農作物を選別する機構は、選別する種類が増えるにしたがって装置が大規模になってしまうという問題がある。したがって、簡易な構成で仕分け作業を容易にする技術が求められている。なお、このような問題は、農作物の仕分け作業に限らず、仕分けが必要となる作業全般に共通する問題である。
【0005】
上記事情に鑑み、本発明は、簡易な構成で仕分け作業を容易にすることができる技術の提供を目的としている。
【課題を解決するための手段】
【0006】
本発明の態様1は、仕分対象となる1つ以上の対象物を撮像する撮像装置と、前記撮像装置と並んで配置され、前記撮像装置が撮像することによって得られた画像データで特定される前記1つ以上の対象物の位置に、前記1つ以上の対象物の仕分け作業を容易にするための情報である仕分情報を投影する投影装置と、を備える情報提供システムである。
【0007】
本発明の態様2は、態様1の情報提供システムにおいて、前記投影装置は、前記1つ以上の対象物に基づいて特定される情報に応じた態様で前記仕分情報を前記1つ以上の対象物の位置に投影する。
【0008】
本発明の態様3は、態様2の情報提供システムにおいて、前記1つ以上の対象物に基づいて特定される情報は、前記1つ以上の対象物のサイズを示すサイズ情報と、サイズに応じたグループを示す情報であり、前記投影装置が、前記仕分情報として、前記サイズ情報と、前記グループを示す情報とを異なる態様で前記1つ以上の対象物の位置に投影する。
【0009】
本発明の態様4は、態様3の情報提供システムにおいて、前記投影装置が、前記サイズ情報を文字情報として、前記グループを示す情報を色、記号又は図形として分けて前記1つ以上の対象物に投影する。
【0010】
本発明の態様5は、態様2の情報提供システムにおいて、前記1つ以上の対象物に基づいて特定される情報は、対象物の種類であり、前記投影装置が、前記対象物の種類に応じた色で前記仕分情報を投影する。
(【0011】以降は省略されています)
この特許をJ-PlatPat(特許庁公式サイト)で参照する
関連特許
日清製粉株式会社
篩
5か月前
個人
ゴミ分別システム
3か月前
株式会社タケエイ
振動篩装置
5か月前
株式会社レクザム
基板アンローダ
5か月前
株式会社クボタ
豆類選別機
1か月前
株式会社クボタ
豆類選別機
1か月前
株式会社クボタ
豆類選別機
1か月前
近江度量衡株式会社
選別箱詰システム
1か月前
シブヤ精機株式会社
農産物の集出荷装置
2か月前
川崎重工業株式会社
廃棄物処理システム
1か月前
コネクテッドロボティクス株式会社
処理方法
4か月前
キヤノン株式会社
分別装置及び分別方法
4か月前
アンリツ株式会社
物品検査装置
29日前
株式会社栗本鐵工所
ローラスクリーン
1か月前
株式会社シンセイ
砂乾燥選別装置
5か月前
株式会社クボタ
豆類選別機
1か月前
株式会社クボタ
豆類選別機
1か月前
株式会社クボタ
豆類選別機
1か月前
株式会社サタケ
測定装置および選別装置
2か月前
TOPPANホールディングス株式会社
選果装置
8日前
日本協同企画株式会社
果菜引継ぎ搬送装置及び果菜箱詰め装置
4か月前
株式会社山本工作所
空気分散部材及び乾式分離装置
3か月前
株式会社 東京ウエルズ
ワーク分類装置、ワーク分類方法
3か月前
アンリツ株式会社
選別装置および物品検査装置
3か月前
株式会社PFU
物体撮像装置および物体認識装置
5か月前
株式会社ダルトン
振動ふるい装置及び振動ふるい方法
1か月前
三井金属計測機工株式会社
選果装置の排果システム
1か月前
国立大学法人北海道大学
粒子の分離方法および粒子の分離装置
1か月前
アクセリア株式会社
情報提供システム、提供情報生成装置及び情報提供方法
2か月前
日本製鉄株式会社
スクラップ選別装置およびそれを用いたスクラップの選別方法
8日前
UBE三菱セメント株式会社
長尺物の篩い分け方法、焼却灰の処理方法、及び、振動篩機
3か月前
株式会社FUJI
異物除去方法
3か月前
アクセリア株式会社
情報提供システム及び情報提供方法
1か月前
日鉄エンジニアリング株式会社
異物分離装置及び異物分離方法
2か月前
個人
灰汁除去器具、灰汁除去器具の製造方法
1か月前
個人
複素環式THR-β受容体アゴニスト化合物ならびにその調製方法および使用
4か月前
続きを見る
他の特許を見る