TOP
|
特許
|
意匠
|
商標
特許ウォッチ
Twitter
他の特許を見る
公開番号
2025058747
公報種別
公開特許公報(A)
公開日
2025-04-09
出願番号
2023168878
出願日
2023-09-28
発明の名称
青果物の選別装置
出願人
近江度量衡株式会社
代理人
個人
,
個人
主分類
B07C
5/342 20060101AFI20250402BHJP(固体相互の分離;仕分け)
要約
【課題】本発明は、コンパクトな選別装置を提供する。
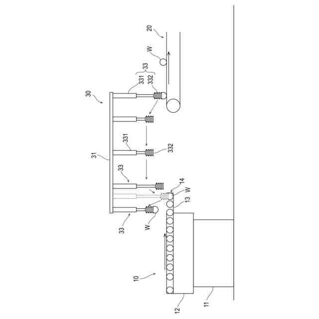
【解決手段】本発明に係る選別装置は、青果物Wの外観に基づいて判定されたクラスに対応して設けられた複数の仕分ライン20と、単列搬送された青果物Wをピックアップして、当該青果物Wを前記仕分ライン20のいずれかまで移送する移送装置30と、前記移送装置30による前記青果物Wの移送経路に沿って設けられ、前記青果物Wの外観を撮像して外観画像を生成する上方カメラ41、下方カメラ42、側方カメラ43a,43b,前後カメラ44a,44bと、前記外観画像に基づいて前記青果物のクラスを判定するコンピュータ47と、を備える。
【選択図】図1
特許請求の範囲
【請求項1】
青果物の外観に基づいて判定されたクラスに対応して設けられた複数の仕分部と、
青果物をピックアップして、当該青果物を前記仕分部のいずれかまで移送する移送部と、
前記青果物の外観を撮像して外観画像を生成するカメラと、
前記外観画像に基づいて青果物のクラスを判定する判定部と、
を備える、青果物の選別装置。
続きを表示(約 390 文字)
【請求項2】
前記カメラは、
青果物を上方から撮像する上方カメラと、
前記移送される青果物を下方から撮像する下方カメラと、
を含む、請求項1に記載の青果物の選別装置。
【請求項3】
前記カメラは、前記移送される青果物を、移送方向に対して側方から撮像する側方カメラを含む、請求項1に記載の青果物の選別装置。
【請求項4】
前記カメラは、
前記移送される青果物を、前記移送方向に対して前方から撮像する前方カメラと、
前記移送される青果物を、前記移送方向に対して後方から撮像する後方カメラと、
を含む、請求項1に記載の青果物の選別装置。
【請求項5】
前記移送部による前記青果物の移送経路は円状であることを特徴とする、請求項1から請求項4のいずれか1項に記載の青果物の選別装置。
発明の詳細な説明
【技術分野】
【0001】
本発明は、青果物の選別装置に関するものである。
続きを表示(約 1,300 文字)
【背景技術】
【0002】
従来より、青果物の集出荷施設では、生産者から持ち込まれた青果物を等階級別に選別する選別装置と、等階級別に仕分けられた青果物を箱詰めする箱詰装置と、が用いられている。選別装置は、青果物を搬送するコンベアと、搬送中の青果物の外部品質を計測する外部品質計測部と、搬送中の青果物の内部品質を計測する内部品質計測部と、計測された外部品質および内部品質に基づいて青果物の等階級を判定するコンピュータと、を備えている。
【0003】
例えば、特許文献1に記載の選別装置は、上流側コンベア、下流側コンベア、及び複数の等階級別コンベアを備えている。当該上流側コンベアの搬送経路には内部品質計測部が設けられている。上流側コンベアと下流側コンベアの間には移送装置が設けられており、当該移載装置によって、青果物が上流側コンベアから下流側コンベアへと移載される。当該移載装置の移載経路および下流側コンベアの搬送経路には外部品質計測装置が設けられている。下流側コンベアは、いわゆる仕分コンベアとして機能するものであり、外部品質および内部品質に基づいて判定された等階級に基づいて、青果物を等階級別コンベアへと仕分排出する。
【先行技術文献】
【特許文献】
【0004】
特開第3813026号公報
【発明の概要】
【発明が解決しようとする課題】
【0005】
上記特許文献1の選別装置では、下流側コンベアに外部品質計測部を設けるとともに、当該下流側コンベアをいわゆる仕分コンベアとして機能させているので、下流側コンベアにある程度の長さが必要となり、選別装置をコンパクトにレイアウトすることは困難であった。
【0006】
そこで、本発明は、コンパクトな選別装置を提供することを目的とする。
【課題を解決するための手段】
【0007】
上記目的を達成するため、本発明の青果物の選別装置は、前記青果物の外観に基づいて判定されたクラスに対応して設けられた複数の仕分部と、青果物をピックアップして、当該青果物を前記仕分部のいずれかまで移送する移送部と、前記移送部による前記青果物の移送経路に沿って設けられ、前記青果物の外観を撮像して外観画像を生成するカメラと、前記外観画像に基づいて前記青果物のクラスを判定する判定部と、を備えることを特徴とする。
【0008】
また、前記カメラは、前記移送される青果物を、移送方向に対して側方から撮像する側方カメラを含むことを特徴とする。
【0009】
さらに、前記カメラは、前記移送される青果物を、前記移送方向に対して前方から撮像する前方カメラと、前記移送される青果物を、前記移送方向に対して後方から撮像する後方カメラと、を含むことを特徴とする。
【0010】
さらにまた、前記カメラは、前記移送される青果物を上方から撮像する上方カメラと、前記移送される青果物を下方から撮像する下方カメラと、を含むことを特徴とする。
(【0011】以降は省略されています)
この特許をJ-PlatPat(特許庁公式サイト)で参照する
関連特許
近江度量衡株式会社
選別箱詰システム
29日前
近江度量衡株式会社
青果物の選別装置
7か月前
個人
ゴミ分別システム
3か月前
株式会社クボタ
豆類選別機
1か月前
株式会社クボタ
豆類選別機
1か月前
株式会社クボタ
豆類選別機
1か月前
近江度量衡株式会社
選別箱詰システム
29日前
川崎重工業株式会社
廃棄物処理システム
1か月前
シブヤ精機株式会社
農産物の集出荷装置
1か月前
コネクテッドロボティクス株式会社
処理方法
4か月前
アンリツ株式会社
物品検査装置
22日前
株式会社栗本鐵工所
ローラスクリーン
1か月前
株式会社クボタ
豆類選別機
1か月前
株式会社サタケ
測定装置および選別装置
1か月前
株式会社クボタ
豆類選別機
1か月前
株式会社クボタ
豆類選別機
1か月前
TOPPANホールディングス株式会社
選果装置
1日前
日本協同企画株式会社
果菜引継ぎ搬送装置及び果菜箱詰め装置
4か月前
株式会社 東京ウエルズ
ワーク分類装置、ワーク分類方法
3か月前
株式会社山本工作所
空気分散部材及び乾式分離装置
3か月前
アンリツ株式会社
選別装置および物品検査装置
3か月前
株式会社ダルトン
振動ふるい装置及び振動ふるい方法
1か月前
三井金属計測機工株式会社
選果装置の排果システム
1か月前
国立大学法人北海道大学
粒子の分離方法および粒子の分離装置
1か月前
アクセリア株式会社
情報提供システム、提供情報生成装置及び情報提供方法
1か月前
日本製鉄株式会社
スクラップ選別装置およびそれを用いたスクラップの選別方法
1日前
UBE三菱セメント株式会社
長尺物の篩い分け方法、焼却灰の処理方法、及び、振動篩機
3か月前
株式会社FUJI
異物除去方法
3か月前
アクセリア株式会社
情報提供システム及び情報提供方法
1か月前
日鉄エンジニアリング株式会社
異物分離装置及び異物分離方法
2か月前
個人
灰汁除去器具、灰汁除去器具の製造方法
1か月前
個人
複素環式THR-β受容体アゴニスト化合物ならびにその調製方法および使用
4か月前
リジェネックスバイオ インコーポレイテッド
完全ヒト翻訳後修飾抗体による治療剤
3か月前
他の特許を見る