TOP
|
特許
|
意匠
|
商標
特許ウォッチ
Twitter
他の特許を見る
公開番号
2025174843
公報種別
公開特許公報(A)
公開日
2025-11-28
出願番号
2025012816
出願日
2025-01-29
発明の名称
フィルター装置
出願人
セイコーエプソン株式会社
代理人
個人
,
個人
,
個人
主分類
B01D
46/44 20060101AFI20251120BHJP(物理的または化学的方法または装置一般)
要約
【課題】シンプルな構成で体積流量による風量制御ができるフィルター装置を提供する。
【解決手段】フィルター装置は、フィルターと、配管と、前記配管を介して前記フィルターでろ過された空気を吸引するブロアーと、前記配管を流れる気体の質量流量を測定する風速センサーと、温度を測定する温度センサーと、気圧を測定する圧力センサーと、測定された気圧と、測定された温度と、測定された質量流量と、に基づき、前記ブロアーの吸引を制御するプロセッサーと、を備える。
【選択図】図4
特許請求の範囲
【請求項1】
フィルターと、
配管と、
前記配管を介して前記フィルターでろ過された空気を吸引するブロアーと、
前記配管を流れる気体の質量流量を測定する風速センサーと、
温度を測定する温度センサーと、
気圧を測定する圧力センサーと、
前記圧力センサーにより測定された気圧と、前記温度センサーにより測定された温度と、前記風速センサーにより測定された質量流量と、に基づき、前記ブロアーの吸引を制御するプロセッサーと、
を備えたフィルター装置。
続きを表示(約 450 文字)
【請求項2】
前記プロセッサーは、前記圧力センサーにより測定された気圧が高いほど前記ブロアーに強く吸引を行わせる、
請求項1に記載のフィルター装置。
【請求項3】
前記プロセッサーは、前記温度センサーにより測定された温度が高いほど前記ブロアーに弱く吸引を行わせる、
請求項1に記載のフィルター装置。
【請求項4】
前記温度センサーは、サーミスターであり、
前記圧力センサーは、ピエゾ抵抗方式の圧力センサーであり、
前記風速センサーは、熱式のフローセンサーである、
請求項1に記載のフィルター装置。
【請求項5】
原料を解繊する解繊部と、
材料を堆積させてウェブを形成する堆積部と、
前記ウェブを圧縮してシートを成形する成形部と、
前記解繊部により解繊された前記原料から生じる廃粉を前記フィルターに送る廃粉管と、
をさらに備えた請求項1~4のいずれか1項に記載のフィルター装置。
発明の詳細な説明
【技術分野】
【0001】
本発明は、フィルター装置に関する。
続きを表示(約 2,000 文字)
【背景技術】
【0002】
古紙などの紙片から乾式でシートを製造するシート製造装置では、シートの製造に適さない短い繊維や、紙片に含まれる色材などの廃粉を廃粉捕集ユニットで捕集して廃棄している。この際、廃粉捕集ユニットに流れる体積流量が一定になるように、整流器に取り付けられた風速センサーにより廃粉ブロワーの回転数を制御していたが、当該風速センサーで検知する風速は質量流量であるため、体積流量と差が生じてしまうという問題があった。また、体積流量を計測可能な風量計も知られているが、質量流量式の風速センサーと比べて、高コストであった。
【0003】
例えば、特許文献1には、ダクトの中に設けられ、冷却ファンが発生させる風の流れを受ける風受け板と、風受け板の傾斜角度を体積流量に換算する換算部を備えた冷却ファン用体積流量計が開示されている。当該文献によれば、冷却ファンの微量な体積流量を測定することが可能となる、としている。
【先行技術文献】
【特許文献】
【0004】
特開2010-38714号公報
【発明の概要】
【発明が解決しようとする課題】
【0005】
しかしながら、特許文献1の風量計では、ダクトの中に風受け板があるため、圧力損失が大きかった。
【課題を解決するための手段】
【0006】
本願の一態様に係るフィルター装置は、フィルターと、配管と、前記配管を介して前記フィルターでろ過された空気を吸引するブロアーと、前記配管を流れる気体の質量流量を測定する風速センサーと、温度を測定する温度センサーと、気圧を測定する圧力センサーと、前記圧力センサーにより測定された気圧と、前記温度センサーにより測定された温度と、前記風速センサーにより測定された質量流量と、に基づき、前記ブロアーの吸引を制御するプロセッサーと、を備える。
【図面の簡単な説明】
【0007】
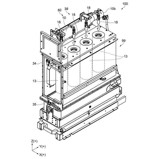
実施形態1に係る廃粉捕集装置の概略構成を示す斜視図。
図1の反対側から見た廃粉捕集装置の斜視図。
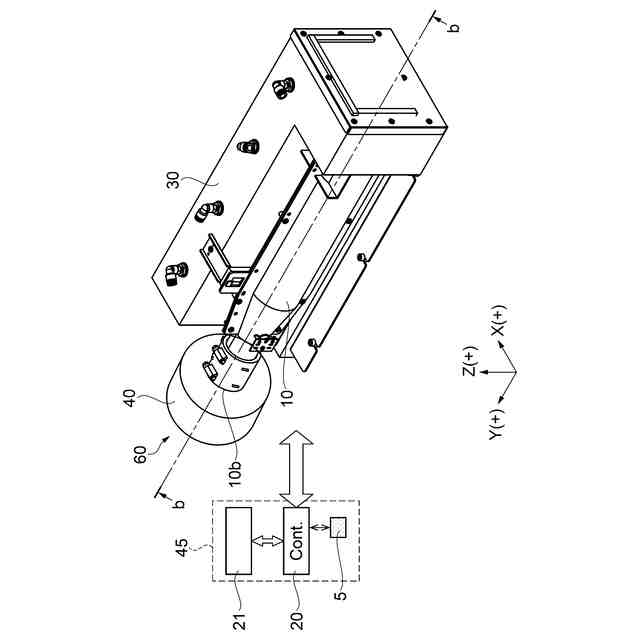
風量調整装置の概略構成を示す斜視図。
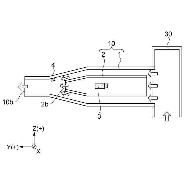
図3のb-b断面における整流器の側断面図。
風量調整方法の流れを示すフローチャート図。
実施形態2に係るシート製造装置の概略構成図。
【発明を実施するための形態】
【0008】
実施形態1
***廃粉捕集装置の概要***
図1は、実施形態1に係るフィルター装置としての廃粉捕集装置の概略構成を示す斜視図である。図2は、図1の反対側から見た廃粉捕集装置の斜視図である。図2では、内部構成を解り易くするために、一部構成の図示を省略している。
本実施形態に係る廃粉捕集装置100の概略構成について、図1、図2を用いて説明する。なお、各図には、互いに直交する3軸であるX軸、Y軸およびZ軸を図示している。本実施形態では、Z軸方向を鉛直方向としているが、これに限定するものではない。X軸に沿った方向を「X方向」、Y軸に沿った方向を「Y方向」、Z軸に沿った方向を「Z方向」と言う。また、各軸方向の矢印先端側を「プラス側」、矢印基端側を「マイナス側」とも言う。例えば、Y方向とは、Y方向プラス側とY方向マイナス側との両方の方向を言う。また、Z方向プラス側を「上」、Z方向マイナス側を「下」とも言う。また、以下の各図においては、説明を分かりやすくするため、実際とは異なる寸法や尺度で記載している場合がある。
【0009】
本実施形態の廃粉捕集装置100は、産業設備の排気中のダストを集塵するろ過式集塵装置、いわゆるバグフィルター装置であり、排気中の粉体の捕集や、粉砕品の回収、局所集塵などに用いることができる。
廃粉捕集装置100は、フィルター部34、廃粉箱35、整流器10を含む風量調整装置60、カバー部材30、逆気流発生部38などから構成される。
図1に示すように、廃粉捕集装置100は、縦長の直方体状をなしており、下から廃粉箱35、フィルター部34、風量調整装置60およびカバー部材30を、この順番で積層した構成となっている。これらの部位は、フィルター部34を主体とした筐体99に組み付けられており、1体の装置となっている。
【0010】
図2に示すように、フィルター部34は、4本の円筒状のフィルター13を備えている。なお、フィルター13は4本に限定するものではなく、複数本であれば良い。フィルター13は、円筒状のフィルターバッグ(ろ布)であり、鉛直方向に延在している。図1に示すように、フィルター部34の一方の側面には、2つの吸気口34bが設けられている。吸気口34bには、上流装置からの不図示の配管が接続され、当該配管からダストを含む気体がフィルター部34内に流入される。
(【0011】以降は省略されています)
この特許をJ-PlatPat(特許庁公式サイト)で参照する
関連特許
セイコーエプソン株式会社
フィルター装置
1日前
セイコーエプソン株式会社
光源装置およびプロジェクター
1日前
セイコーエプソン株式会社
時計用部品および時計用部品の製造方法
1日前
セイコーエプソン株式会社
レシートシステム、レシートシステムの制御方法、及び、サーバー
1日前
株式会社西部技研
除湿装置
1か月前
株式会社日本触媒
ドロー溶質
1か月前
プライミクス株式会社
攪拌装置
9日前
日本バイリーン株式会社
フィルタ
23日前
サンノプコ株式会社
消泡剤
1か月前
東レ株式会社
遠心ポッティング方法
1か月前
トヨタ自動車株式会社
濾過装置
24日前
株式会社切川物産
撹拌装置
10日前
トヨタ紡織株式会社
フィルタ
3日前
栗田工業株式会社
ギ酸の回収方法
10日前
松岡紙業 株式会社
油吸着体の製造方法
1か月前
個人
気液混合装置
1か月前
トヨタ紡織株式会社
水流帯電装置
3日前
東芝ライテック株式会社
光照射装置
24日前
富士電機株式会社
ガス処理システム
1か月前
株式会社フクハラ
圧縮空気圧回路ユニット
1か月前
株式会社明電舎
成膜装置
1か月前
日本化薬株式会社
直鎖ブテン製造用触媒及びその使用
1か月前
東芝ライテック株式会社
紫外線処理装置
9日前
株式会社ダイセル
圧力容器
1日前
本田技研工業株式会社
二酸化炭素回収装置
1か月前
本田技研工業株式会社
二酸化炭素回収装置
1か月前
本田技研工業株式会社
二酸化炭素回収装置
1か月前
本田技研工業株式会社
二酸化炭素回収装置
1か月前
いであ株式会社
PFAS除去用バイオ炭の製造方法
25日前
個人
フッ化炭素糸物にフッ素をコーティングした浄水手段
1か月前
三浦工業株式会社
撹拌装置
1か月前
日本碍子株式会社
電気加熱式担体
1か月前
JFEエンジニアリング株式会社
二酸化炭素回収方法
1か月前
栗田工業株式会社
有機物含有水の脱泡処理装置
17日前
三菱重工業株式会社
石膏脱水システム
23日前
株式会社大気社
気体処理装置
1か月前
続きを見る
他の特許を見る