TOP
|
特許
|
意匠
|
商標
特許ウォッチ
Twitter
他の特許を見る
公開番号
2025142928
公報種別
公開特許公報(A)
公開日
2025-10-01
出願番号
2024042554
出願日
2024-03-18
発明の名称
二酸化炭素回収装置
出願人
本田技研工業株式会社
代理人
個人
,
個人
主分類
B01D
53/047 20060101AFI20250924BHJP(物理的または化学的方法または装置一般)
要約
【課題】必要とする温度帯が異なる機器が併存する場合であっても効率的に加熱及び冷却を行うことができるエネルギー効率の高い二酸化炭素回収装置を提供すること。
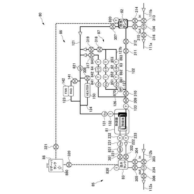
【解決手段】二酸化炭素回収装置1の熱交換装置70は、温水を加熱するとともに冷水を冷却するヒートポンプ式の熱源器81と、熱源器81で加熱された温水を貯留する温水タンク83を含み、当該温水タンク83と熱源器81の間で温水を循環させる熱源高温水回路85と、熱源器81で冷却された冷水を貯留する冷水タンク82を含み、当該冷水タンク82と熱源器81の間で冷水を循環させる熱源低温水回路86と、熱源低温水回路86から分岐し、吸着工程又は脱離工程を行うための対象機器を経由して熱源低温水回路86の熱源器81への流入側に接続され、対象機器から排熱回収を行った冷水を熱源器81に戻す機器熱回収回路87と、を有する。
【選択図】図5
特許請求の範囲
【請求項1】
吸着材を内部に有し、前記吸着材に対して二酸化炭素を含む気体を吸引して前記二酸化炭素を吸着させる吸着工程と、前記吸着材の周囲を減圧した状態で加熱することにより当該吸着材から前記二酸化炭素を脱離する脱離工程と、を実行する複数のモジュールと、
加熱用熱媒体を加熱するとともに冷却用熱媒体を冷却するヒートポンプ式の熱源器と、前記モジュールのそれぞれに対して前記加熱用熱媒体を供給して加熱する加熱用熱媒体ラインと、前記冷却用熱媒体を供給して冷却する冷却用熱媒体ラインとを有する熱交換装置と、
を備え、
前記熱交換装置は、
前記熱源器で加熱された前記加熱用熱媒体を貯留する加熱用熱媒体タンクを含み、当該加熱用熱媒体タンクと前記熱源器の間で前記加熱用熱媒体を循環させる熱源高温水回路と、
前記熱源器で冷却された前記冷却用熱媒体を貯留する冷却用熱媒体タンクを含み、当該冷却用熱媒体タンクと前記熱源器の間で前記冷却用熱媒体を循環させる熱源低温水回路と、
前記熱源低温水回路から分岐し、前記吸着工程又は前記脱離工程を行うための対象機器を経由して前記熱源低温水回路の前記熱源器への流入側に接続され、前記対象機器から排熱回収を行った前記冷却用熱媒体を前記熱源器に戻す機器熱回収回路と、
を有する、
二酸化炭素回収装置。
続きを表示(約 430 文字)
【請求項2】
前記モジュールを冷却した排熱回収後の前記冷却用熱媒体を、前記冷却用熱媒体タンクを介して前記熱源器の流入側に戻す、
請求項1に記載の二酸化炭素回収装置。
【請求項3】
前記冷却用熱媒体を前記熱源器への流入側に送るカスケードポンプを更に備える、
請求項1又は2に記載の二酸化炭素回収装置。
【請求項4】
前記機器熱回収回路は、
前記熱源低温水回路から複数に分岐した経路のそれぞれに前記対象機器が配置され、
複数の前記対象機器のそれぞれで排熱回収を行った前記冷却用熱媒体を集合して前記熱源器に戻す、
請求項1又は2に記載の二酸化炭素回収装置。
【請求項5】
前記熱源器に流入する前記冷却用熱媒体の温度が予め設定される適切な範囲になるように前記機器熱回収回路の経路を制御する制御装置を更に備える、
請求項1又は2に記載の二酸化炭素回収装置。
発明の詳細な説明
【技術分野】
【0001】
本発明は、二酸化炭素回収装置に関する。
続きを表示(約 1,900 文字)
【背景技術】
【0002】
従来、熱媒体を利用して対象機器を加温や冷却を行うシステムにおいてヒートポンプ等の熱源器を利用する技術が知られている。この種の技術が記載されるものとして例えば特許文献1がある。特許文献1は、空調空間を所定の温度・湿度状態に保つ省エネルギー型換気空調システムに関するものである。
【先行技術文献】
【特許文献】
【0003】
特開2010-276217号公報
【発明の概要】
【発明が解決しようとする課題】
【0004】
ところで、吸着材を保持するモジュールに対し、二酸化炭素を含む空気等の気体を吸引して吸着材に吸着させ、吸着材を減圧加熱して吸着した二酸化炭素を脱離して二酸化炭素の回収を行う二酸化炭素回収装置においても、ヒートポンプ等の熱源器が利用されている。
【0005】
二酸化炭素回収装置では、吸着モジュールには高い温度の加熱用熱媒体を供給する必要がある一方、各機器からの排熱及び回収した水蒸気の凝縮等のために低温度の冷却用熱媒体を供給する必要もある。しかし、加熱用熱媒体と冷却用熱媒体の温度差が大きい状態では、熱源器での熱交換に必要なエネルギーが大きくなり、COP(Coefficient of Performance)の低下を招いてしまう。要求される温度帯が異なる複数の機器に熱媒体を供給する必要がある二酸化炭素回収装置にはエネルギー効率の向上という観点で改善の余地があった。
【0006】
本発明は、必要とする温度帯が異なる機器が併存する場合であっても効率的に加熱及び冷却を行うことができるエネルギー効率の高い二酸化炭素回収装置を提供することを目的とする。
【0007】
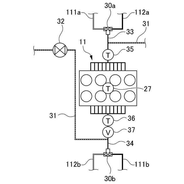
(1)本発明は、吸着材(例えば、後述する吸着材12)を内部に有し、前記吸着材に対して二酸化炭素を含む気体を吸引して前記二酸化炭素を吸着させる吸着工程と、前記吸着材の周囲を減圧した状態で加熱することにより当該吸着材から前記二酸化炭素を脱離する脱離工程と、を実行する複数のモジュール(例えば、後述するモジュール11)と、加熱用熱媒体を加熱するとともに冷却用熱媒体を冷却するヒートポンプ式の熱源器(例えば、後述する熱源器81)と、前記モジュールのそれぞれに対して前記加熱用熱媒体(例えば、後述する温水)を供給して加熱する加熱用熱媒体ライン(例えば、後述する温水ライン112)と、前記冷却用熱媒体(例えば、後述する冷水)を供給して冷却する冷却用熱媒体ライン(例えば、後述する冷水ライン111)とを有する熱交換装置(例えば、後述する熱交換装置70)と、を備え、前記熱交換装置は、前記熱源器で加熱された前記加熱用熱媒体を貯留する加熱用熱媒体タンク(例えば、後述する温水タンク83)を含み、当該加熱用熱媒体タンクと前記熱源器の間で前記加熱用熱媒体を循環させる熱源高温水回路(例えば、後述する熱源高温水回路85)と、前記熱源器で冷却された前記冷却用熱媒体を貯留する冷却用熱媒体タンク(例えば、後述する冷水タンク82)を含み、当該冷却用熱媒体タンクと前記熱源器の間で前記冷却用熱媒体を循環させる熱源低温水回路(例えば、後述する熱源低温水回路86)と、前記熱源低温水回路から分岐し、前記吸着工程又は前記脱離工程を行うための対象機器(例えば、後述する真空ポンプ62、二酸化炭素回収用ポンプ63及びインタークーラ64)を経由して前記熱源低温水回路の前記熱源器への流入側に接続され、前記対象機器から排熱回収を行った前記冷却用熱媒体を前記熱源器に戻す機器熱回収回路(例えば、後述する機器熱回収回路87)と、を有する、二酸化炭素回収装置(例えば、後述する二酸化炭素回収装置1)である。
【0008】
(2)上記(1)に記載の二酸化炭素回収装置において、前記モジュールを冷却した排熱回収後の前記冷却用熱媒体を、前記冷水タンクを介して前記熱交換装置の流入側に戻してもよい。
【0009】
(3)上記(1)又は(2)に記載の二酸化炭素回収装置は、前記冷却用熱媒体を前記熱源器への流入側に送るカスケードポンプ(例えば、後述する機器冷却用ポンプ870)を更に備えてもよい。
【0010】
(4)上記(1)又は(2)に記載の二酸化炭素回収装置において、前記機器熱回収回路は、前記熱源低温水回路から複数に分岐した経路のそれぞれに前記対象機器が配置され、複数の前記対象機器のそれぞれで排熱回収を行った前記冷却用熱媒体を集合して前記熱源器に戻してもよい。
(【0011】以降は省略されています)
この特許をJ-PlatPat(特許庁公式サイト)で参照する
関連特許
本田技研工業株式会社
車両
21日前
本田技研工業株式会社
差圧式電解装置
15日前
本田技研工業株式会社
回転電機のロータ
14日前
本田技研工業株式会社
駆動装置ユニット
18日前
本田技研工業株式会社
スポット溶接方法
1日前
本田技研工業株式会社
電動無段変速装置
17日前
本田技研工業株式会社
給電システムおよび給電方法
23日前
本田技研工業株式会社
制御装置、および、制御方法
1日前
本田技研工業株式会社
情報処理方法及びプログラム
今日
本田技研工業株式会社
負極、固体電池及び積層体の製造方法
22日前
本田技研工業株式会社
正極、固体電池及び固体電池の製造方法
22日前
本田技研工業株式会社
二酸化炭素回収装置及び二酸化炭素回収方法
22日前
本田技研工業株式会社
情報処理装置、情報処理方法、およびプログラム
今日
本田技研工業株式会社
制御装置
2日前
本田技研工業株式会社
学習装置、推定装置、学習方法、推定方法及びプログラム
21日前
本田技研工業株式会社
作動装置
今日
本田技研工業株式会社
車両、制御方法、プログラム、記憶媒体、及び情報処理装置
今日
本田技研工業株式会社
移動体支援装置および移動体システム
15日前
株式会社西部技研
除湿装置
22日前
株式会社日本触媒
ドロー溶質
16日前
ユニチカ株式会社
複合中空糸膜
1か月前
東レ株式会社
中空糸膜モジュール
1か月前
日本バイリーン株式会社
フィルタ
1日前
サンノプコ株式会社
消泡剤
14日前
東レ株式会社
遠心ポッティング方法
8日前
トヨタ自動車株式会社
濾過装置
2日前
松岡紙業 株式会社
油吸着体の製造方法
16日前
個人
気液混合装置
14日前
大和ハウス工業株式会社
反応装置
29日前
ヤマシンフィルタ株式会社
フィルタ装置
1か月前
大陽日酸株式会社
CO2の回収方法
1か月前
本田技研工業株式会社
ガス回収装置
1か月前
東芝ライテック株式会社
光照射装置
2日前
株式会社フクハラ
圧縮空気圧回路ユニット
14日前
富士電機株式会社
ガス処理システム
11日前
株式会社明電舎
成膜装置
11日前
続きを見る
他の特許を見る