TOP
|
特許
|
意匠
|
商標
特許ウォッチ
Twitter
他の特許を見る
公開番号
2025154513
公報種別
公開特許公報(A)
公開日
2025-10-10
出願番号
2024057561
出願日
2024-03-29
発明の名称
気体処理装置
出願人
株式会社大気社
代理人
弁理士法人大塚国際特許事務所
主分類
B01D
53/04 20060101AFI20251002BHJP(物理的または化学的方法または装置一般)
要約
【課題】比較的コンパクトに設置可能な二酸化炭素の回収設備を提供すること。
【解決手段】気体の入口部及び出口部を有する中空の筐体と、二酸化炭素の吸脱着材を備えた吸脱着器と、前記吸脱着材を加熱可能な加熱手段と、前記吸脱着器に気体を通過させる気流を発生して前記出口部へ排気する送風機と、を備えた気体処理装置であって、前記筐体の内部空間が、仕切り壁によって複数の空間に区画されており、前記複数の空間は、前記入口部と連通した第一の空間と、前記第一の空間に隣接し、前記吸脱着器が配置された第二の空間と、前記第二の空間に隣接し、前記送風機が配置された第三の空間と、を含み、前記吸脱着器は、前記第一の空間から気体を吸気し、前記第三の空間へ気体を排気する。
【選択図】 図2
特許請求の範囲
【請求項1】
気体の入口部及び出口部を有する筐体と、
二酸化炭素の吸脱着材を備えた吸脱着器と、
前記吸脱着材を加熱可能な加熱手段と、
前記吸脱着器に気体を通過させる気流を発生して前記出口部へ排気する送風機と、
を備えた気体処理装置であって、
前記筐体の内部空間が、仕切り壁によって複数の空間に区画されており、
前記複数の空間は、
前記入口部と連通した第一の空間と、
前記第一の空間に隣接し、前記吸脱着器が配置された第二の空間と、
前記第二の空間に隣接し、前記送風機が配置された第三の空間と、を含み、
前記吸脱着器は、前記第一の空間から気体を吸気し、前記第三の空間へ気体を排気する、
ことを特徴とする気体処理装置。
続きを表示(約 1,100 文字)
【請求項2】
請求項1に記載の気体処理装置であって、
前記筐体の外部に配置された風車を備え、
前記送風機には、前記風車の駆動力が伝達される、
ことを特徴とする気体処理装置。
【請求項3】
請求項2に記載の気体処理装置であって、
前記風車は、前記筐体の天部に配置されている、
ことを特徴とする気体処理装置。
【請求項4】
請求項1に記載の気体処理装置であって、
前記加熱手段は、
液体を加熱する加熱源と、
前記液体を前記吸脱着器に供給する供給手段と、を備え、
前記供給手段は、前記第二の空間に配置される、
ことを特徴とする気体処理装置。
【請求項5】
請求項4に記載の気体処理装置であって、
前記加熱源は、太陽光集熱器であり、
前記供給手段は、前記吸脱着器と前記太陽光集熱器との間で前記液体を循環させる、
ことを特徴とする気体処理装置。
【請求項6】
請求項5に記載の気体処理装置であって、
前記第二の空間において前記液体の循環経路に設けられ、前記液体を貯留するタンクを備える、
ことを特徴とする気体処理装置。
【請求項7】
請求項5に記載の気体処理装置であって、
前記太陽光集熱器は、前記筐体の外壁の一部を形成する太陽光集熱パネルである、
ことを特徴とする気体処理装置。
【請求項8】
請求項7に記載の気体処理装置であって、
前記筐体は、
天部と、底部と、前記天部と前記底部との間の筒形状の外周部と、を有し、
前記太陽光集熱パネルは前記外周部を形成する、
ことを特徴とする気体処理装置。
【請求項9】
請求項8に記載の気体処理装置であって、
前記外周部は、前記天部から前記底部に向かって外側に向かうように傾斜した傾斜部を有し、
前記太陽光集熱パネルは前記傾斜部を形成する、
ことを特徴とする気体処理装置。
【請求項10】
請求項1に記載の気体処理装置であって、
前記吸脱着器は、前記吸脱着材に対して気体の流れ方向上流側に水分の吸脱着材を備え、
前記第三の空間には、前記送風機から排気される気体の水分を低減する凝縮器が配置されており、
前記凝縮器を通過した気体が前記出口部から排気される、
ことを特徴とする気体処理装置。
(【請求項11】以降は省略されています)
発明の詳細な説明
【技術分野】
【0001】
本発明は、二酸化炭素の回収技術に関する。
続きを表示(約 1,500 文字)
【背景技術】
【0002】
空気等の気体から二酸化炭素を回収する技術が注目されている。特許文献1には二酸化炭素の吸着材を吸着容器、再生容器、乾燥容器に亘って流動させ、吸着材で吸着した二酸化炭素を回収するシステムが開示されている。
【先行技術文献】
【特許文献】
【0003】
特開2020-069424号公報
【発明の概要】
【発明が解決しようとする課題】
【0004】
特許文献1のシステムでは、各設備を設置する敷地や、吸着材の搬送構造、設備間を結ぶラインが必要とされ、規模が大きい。農業用施設等の二酸化炭素の供給先に隣接してコンパクトに設置可能な装置が望まれている。
【0005】
本発明の目的は、比較的コンパクトに設置可能な二酸化炭素の回収設備を提供することにある。
【課題を解決するための手段】
【0006】
本発明によれば、
吸気部と、排気部と、前記吸気部と前記排気部との間の二酸化炭素の吸脱着材と、を備えた吸脱着器と、
前記吸脱着材を加熱可能な加熱手段と、
前記吸脱着器に気体を通過させる気流を発生する送風機と、
気体の入口部及び出口部を有する中空の筐体と、
を備えた気体処理装置であって、
前記筐体の内部空間が、仕切り壁によって複数の空間に区画されており、
前記複数の空間は、
前記入口部と連通した第一の空間と、
前記第一の空間に隣接し、前記吸脱着器が配置された第二の空間と、
前記第二の空間に隣接し、前記出口部と連通した第三の空間と、を含み、
前記送風機は、前記第三の空間に配置され、
前記吸脱着器の前記吸気部は、前記第一の空間に露出し、
前記吸脱着器の前記排気部は、前記第三の空間に露出する、
ことを特徴とする気体処理装置が提供される。
【発明の効果】
【0007】
本発明によれば、比較的コンパクトに設置可能な二酸化炭素の回収設備を提供することができる。
【図面の簡単な説明】
【0008】
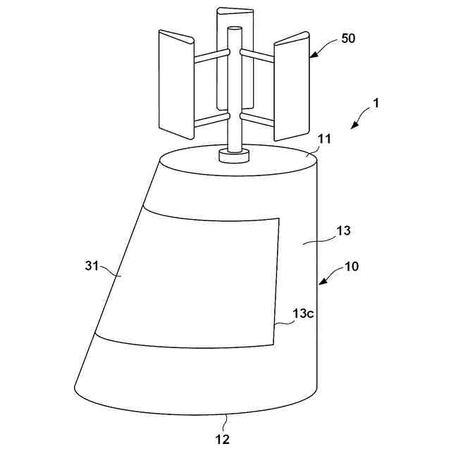
本発明の一実施形態に係る気体処理装置の外観図。
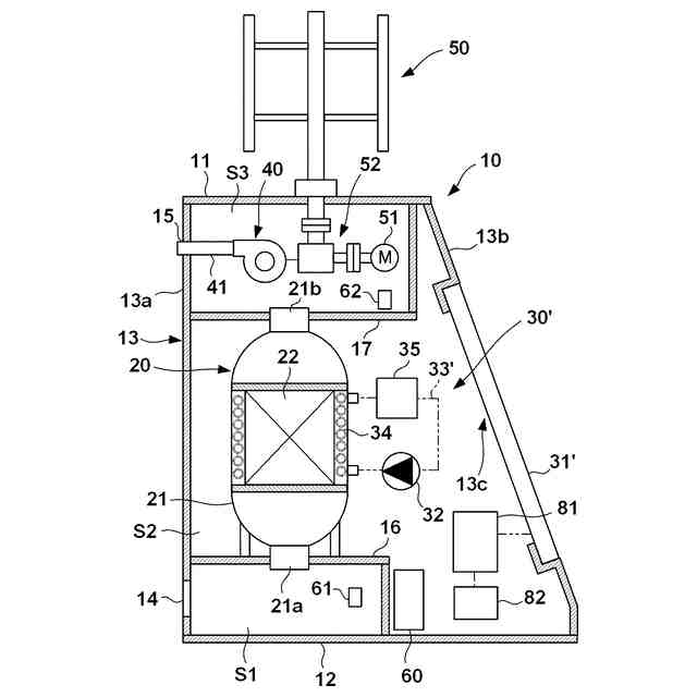
図1の気体処理装置の内部構造の説明図。
(A)及び(B)は図1の気体処理装置の動作説明図。
別の例の気体処理装置の内部構造の説明図。
別の例の気体処理装置の内部構造の説明図。
別の例の気体処理装置の内部構造の説明図。
別の例の気体処理装置の内部構造の説明図。
横軸式の風車を適用した気体処理装置の外観図。
【発明を実施するための形態】
【0009】
以下、添付図面を参照して実施形態を詳しく説明する。なお、以下の実施形態は特許請求の範囲に係る発明を限定するものではなく、また実施形態で説明されている特徴の組み合わせの全てが発明に必須のものとは限らない。実施形態で説明されている複数の特徴のうち二つ以上の特徴は任意に組み合わされてもよい。また、同一若しくは同様の構成には同一の参照番号を付し、重複した説明は省略する。
【0010】
<第一実施形態>
<装置の構成>
図1は本発明の一実施形態に係る気体処理装置1の外観図、図2は気体処理装置1の内部構造の説明図である。気体処理装置1は屋外に設置され、気体から二酸化炭素を回収して、二酸化炭素の濃度が高い気体を排出する装置であり、例えば、ビニルハウスに代表される農業施設などに隣接して設置される。本実施形態の場合、処理対象である気体は空気である。
(【0011】以降は省略されています)
この特許をJ-PlatPat(特許庁公式サイト)で参照する
関連特許
株式会社大気社
排気システム
1か月前
株式会社大気社
気体処理装置
22日前
株式会社大気社
二酸化炭素回収装置
22日前
株式会社大気社
二酸化炭素回収装置
22日前
株式会社大気社
送風装置及び気体処理装置
22日前
株式会社大気社
剥離装置、剥離装置の制御方法及びプログラム
23日前
株式会社大気社
研磨材分離装置、研磨材分離装置の制御方法及びプログラム
25日前
株式会社西部技研
除湿装置
16日前
株式会社日本触媒
ドロー溶質
10日前
ユニチカ株式会社
複合中空糸膜
1か月前
サンノプコ株式会社
消泡剤
8日前
東レ株式会社
中空糸膜モジュール
29日前
東レ株式会社
遠心ポッティング方法
2日前
株式会社笹山工業所
濁水処理システム
1か月前
個人
攪拌装置
1か月前
個人
気液混合装置
8日前
大和ハウス工業株式会社
反応装置
23日前
松岡紙業 株式会社
油吸着体の製造方法
10日前
ヤマシンフィルタ株式会社
フィルタ装置
1か月前
本田技研工業株式会社
ガス回収装置
25日前
株式会社フクハラ
圧縮空気圧回路ユニット
8日前
富士電機株式会社
ガス処理システム
5日前
大陽日酸株式会社
CO2の回収方法
25日前
株式会社明電舎
成膜装置
5日前
日本化薬株式会社
直鎖ブテン製造用触媒及びその使用
2日前
本田技研工業株式会社
二酸化炭素回収装置
23日前
本田技研工業株式会社
二酸化炭素回収装置
18日前
本田技研工業株式会社
二酸化炭素回収装置
25日前
本田技研工業株式会社
二酸化炭素回収装置
23日前
本田技研工業株式会社
二酸化炭素回収装置
23日前
本田技研工業株式会社
二酸化炭素回収装置
1か月前
本田技研工業株式会社
二酸化炭素回収装置
29日前
ノリタケ株式会社
触媒材料およびその利用
23日前
本田技研工業株式会社
二酸化炭素回収装置
1か月前
本田技研工業株式会社
二酸化炭素回収装置
1か月前
本田技研工業株式会社
二酸化炭素回収装置
23日前
続きを見る
他の特許を見る