TOP
|
特許
|
意匠
|
商標
特許ウォッチ
Twitter
他の特許を見る
10個以上の画像は省略されています。
公開番号
2025154512
公報種別
公開特許公報(A)
公開日
2025-10-10
出願番号
2024057560
出願日
2024-03-29
発明の名称
送風装置及び気体処理装置
出願人
株式会社大気社
代理人
弁理士法人大塚国際特許事務所
主分類
F04D
25/02 20060101AFI20251002BHJP(液体用容積形機械;液体または圧縮性流体用ポンプ)
要約
【課題】風車を駆動源とする送風機の配置自由度の高い技術を提供すること。
【解決手段】建物の外部に設置された風車と、前記建物の内部に設置され、前記風車の回転力により駆動する送風機と、前記風車の回転力を前記送風機に伝達する伝達機構と、を備えた送風装置であって、前記伝達機構は、前記風車の回転軸と軸方向が異なる第一の駆動伝達軸と、前記回転軸から前記第一の駆動伝達軸へ駆動力を伝達する第一の歯車装置と、前記第一の駆動伝達軸と軸方向が異なる第二の駆動伝達軸と、前記第一の駆動伝達軸から前記第二の駆動伝達軸へ駆動力を伝達する第二の歯車装置と、を備える。
【選択図】 図6
特許請求の範囲
【請求項1】
建物の外部に設置された風車と、
前記建物の内部に設置され、前記風車の回転力により駆動する送風機と、
前記風車の回転力を前記送風機に伝達する伝達機構と、
を備えた送風装置であって、
前記伝達機構は、
前記風車の回転軸と軸方向が異なる第一の駆動伝達軸と、
前記回転軸から前記第一の駆動伝達軸へ駆動力を伝達する第一の歯車装置と、
前記第一の駆動伝達軸と軸方向が異なる第二の駆動伝達軸と、
前記第一の駆動伝達軸から前記第二の駆動伝達軸へ駆動力を伝達する第二の歯車装置と、を備える、
ことを特徴とする送風装置。
続きを表示(約 1,300 文字)
【請求項2】
請求項1に記載の送風装置であって、
前記風車は、水平軸型の風車であり、
前記第一の駆動伝達軸は、前記建物の外壁を通過する垂直軸である、
ことを特徴とする送風装置。
【請求項3】
請求項2に記載の送風装置であって、
前記風車が受ける風速が所定の風速を超えた場合に、前記回転軸の回転を制動する制動手段を備える、
ことを特徴とする送風装置。
【請求項4】
請求項3に記載の送風装置であって、
前記風車の風車羽根及び前記回転軸は、水平方向に変位可能に設けられており、
前記制動手段は、風力を受けて前記風車羽根及び前記回転軸が水平方向の一方向に変位した場合に制動力を発揮し、
前記風車羽根及び前記回転軸を水平方向の他方向に付勢する付勢手段を更に備える、
ことを特徴とする送風装置。
【請求項5】
請求項4に記載の送風装置であって、
前記第一の歯車装置は、
前記回転軸の側の第一の歯車と、
前記第一の駆動伝達軸の側の第二の歯車と、を備え、
前記風車羽根及び前記回転軸が前記一方向に変位した場合に、前記第一の歯車と前記第二の歯車との噛み合いが解かれる、
ことを特徴とする送風装置。
【請求項6】
請求項4に記載の送風装置であって、
前記風車羽根及び前記回転軸の変位速度を緩和するダンパを備える、
ことを特徴とする送風装置。
【請求項7】
請求項1に記載の送風装置であって、
前記伝達機構は、前記風車の回転速度を増速して前記送風機に伝達する増速部を備える、
ことを特徴とする送風装置。
【請求項8】
請求項1に記載の送風装置であって、
前記伝達機構は、前記風車が受ける風速が所定の風速に達しない場合に、前記送風機に対する前記風車の回転力の伝達を遮断する遮断部を備える、
ことを特徴とする送風装置。
【請求項9】
請求項8に記載の送風装置であって、
前記遮断部は、前記第一の駆動伝達軸の第一軸部と第二軸部との間の設けられた遠心式のクラッチである、
ことを特徴とする送風装置。
【請求項10】
筐体と、
前記筐体内に配置され、二酸化炭素の吸脱着材を備えた吸脱着器と、
前記筐体内に配置され、前記吸脱着器に気体を通過させる気流を発生する送風機と、
を備えた気体処理装置であって、
前記筐体の外部に設置された風車と、
前記風車の回転力を前記送風機に伝達する伝達機構と、を備え、
前記伝達機構は、
前記風車の回転軸と軸方向が異なる第一の駆動伝達軸と、
前記回転軸から前記第一の駆動伝達軸へ駆動力を伝達する第一の歯車装置と、
前記第一の駆動伝達軸と軸方向が異なる第二の駆動伝達軸と、
前記第一の駆動伝達軸から前記第二の駆動伝達軸へ駆動力を伝達する第二の歯車装置と、を備える、
ことを特徴とする気体処理装置。
発明の詳細な説明
【技術分野】
【0001】
本発明は、建物内で気体を送風する送風装置に関する。
続きを表示(約 1,500 文字)
【背景技術】
【0002】
屋外に配置した風車を駆動源として屋内の設備を作動させる装置が知られている。特許文献1には、屋内のシーリングファンを屋外の風車によって駆動し、室内に空気の対流を生じさせる装置が開示されている。風車を駆動源とすることで、省エネルギを図ることができる。
【先行技術文献】
【特許文献】
【0003】
特開2013-88054号公報
【発明の概要】
【発明が解決しようとする課題】
【0004】
風車は、建物のより高い位置に設置することで風力が得られやすい。その結果、風車を駆動源とする設備の配置自由度が低下し、特許文献1の技術においても、駆動力を受けるシーリングファンは、風車及び屋根の直下に配置されている。
【0005】
本発明の目的は、風車を駆動源とする送風機の配置自由度の高い技術を提供することにある。
【課題を解決するための手段】
【0006】
本発明によれば、
建物の外部に設置された風車と、
前記建物の内部に設置され、前記風車の回転力により駆動する送風機と、
前記風車の回転力を前記送風機に伝達する伝達機構と、
を備えた送風装置であって、
前記伝達機構は、
前記風車の回転軸と軸方向が異なる第一の駆動伝達軸と、
前記回転軸から前記第一の駆動伝達軸へ駆動力を伝達する第一の歯車装置と、
前記第一の駆動伝達軸と軸方向が異なる第二の駆動伝達軸と、
前記第一の駆動伝達軸から前記第二の駆動伝達軸へ駆動力を伝達する第二の歯車装置と、を備える、
ことを特徴とする送風装置が提供される。
【発明の効果】
【0007】
本発明によれば、風車を駆動源とする送風機の配置自由度の高い技術を提供することができる。
【図面の簡単な説明】
【0008】
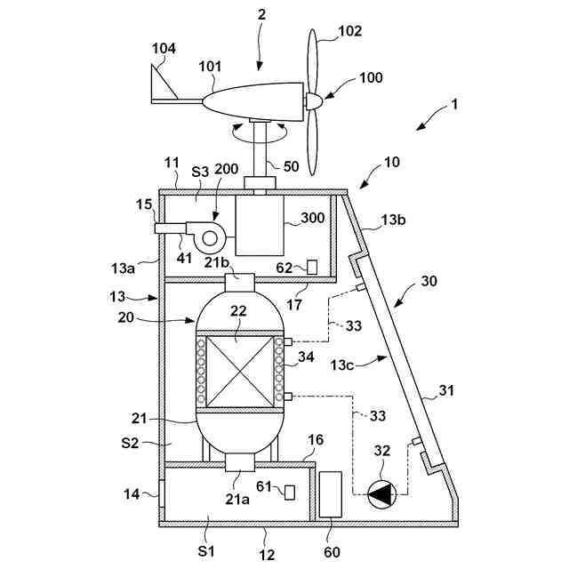
本発明の一実施形態に係る気体処理装置の外観図。
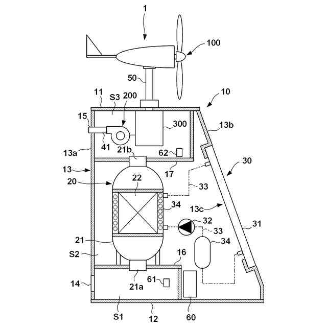
図1の気体処理装置の内部構造の説明図。
(A)及び(B)は図1の気体処理装置の動作説明図。
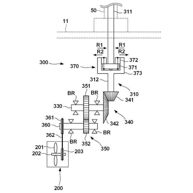
風車の内部構造と伝達機構の上部の説明図。
風車の動作説明図。
伝達機構の中部及び下部の説明図。
別の例の気体処理装置の内部構造の説明図。
別の例の気体処理装置の内部構造の説明図。
別の例の気体処理装置の内部構造の説明図。
別の例の気体処理装置の内部構造の説明図。
【発明を実施するための形態】
【0009】
以下、添付図面を参照して実施形態を詳しく説明する。なお、以下の実施形態は特許請求の範囲に係る発明を限定するものではなく、また実施形態で説明されている特徴の組み合わせの全てが発明に必須のものとは限らない。実施形態で説明されている複数の特徴のうち二つ以上の特徴は任意に組み合わされてもよい。また、同一若しくは同様の構成には同一の参照番号を付し、重複した説明は省略する。
【0010】
<第一実施形態>
<装置の構成>
図1は本発明の一実施形態に係る気体処理装置1の外観図、図2は気体処理装置1の内部構造の説明図である。気体処理装置1は屋外に設置され、気体から二酸化炭素を回収して、二酸化炭素の濃度が高い気体を排出する装置であり、例えば、ビニルハウスに代表される農業施設などに隣接して設置される建物である。本実施形態の場合、処理対象である気体は空気である。
(【0011】以降は省略されています)
この特許をJ-PlatPat(特許庁公式サイト)で参照する
関連特許
株式会社大気社
排気システム
1か月前
株式会社大気社
気体処理装置
24日前
株式会社大気社
二酸化炭素回収装置
24日前
株式会社大気社
二酸化炭素回収装置
24日前
株式会社大気社
送風装置及び気体処理装置
24日前
株式会社大気社
剥離装置、剥離装置の制御方法及びプログラム
25日前
株式会社大気社
研磨材分離装置、研磨材分離装置の制御方法及びプログラム
27日前
株式会社大気社
制御装置、制御方法、制御プログラム、及びクリーンルームシステム
3か月前
個人
海流製造装置。
1か月前
株式会社スギノマシン
圧縮機
25日前
株式会社ツインバード
送風装置
1か月前
株式会社ツインバード
送風装置
1か月前
日機装株式会社
遠心ポンプ
17日前
カヤバ株式会社
電動ポンプ
2か月前
株式会社不二越
蓄圧装置
3か月前
ビッグボーン株式会社
送風装置
2か月前
株式会社酉島製作所
ポンプ
4か月前
株式会社ノーリツ
ロータリ圧縮機
2か月前
株式会社不二越
ベーンポンプ
3か月前
サンデン株式会社
スクロール圧縮機
1か月前
樫山工業株式会社
真空ポンプ
26日前
サンデン株式会社
スクロール圧縮機
1か月前
サンデン株式会社
可変容量型圧縮機
4日前
サンデン株式会社
スクロール圧縮機
1か月前
小倉クラッチ株式会社
ルーツブロア
3か月前
株式会社坂製作所
スクロール圧縮機
4か月前
株式会社ノーリツ
ロータリー圧縮機
4か月前
株式会社チロル
送風機、送風機付衣服
2か月前
株式会社アイシン
ポンプケース
1か月前
株式会社島津製作所
真空ポンプ
2か月前
株式会社島津製作所
真空ポンプ
1か月前
エドワーズ株式会社
真空ポンプ
1か月前
株式会社豊田自動織機
流体機械
1か月前
NTN株式会社
電動オイルポンプ
1か月前
株式会社豊田自動織機
電動圧縮機
1か月前
株式会社豊田自動織機
電動圧縮機
1か月前
続きを見る
他の特許を見る