TOP
|
特許
|
意匠
|
商標
特許ウォッチ
Twitter
他の特許を見る
公開番号
2025148253
公報種別
公開特許公報(A)
公開日
2025-10-07
出願番号
2025024767
出願日
2025-02-19
発明の名称
気体分離膜モジュールの検査装置および検査方法
出願人
東レ株式会社
代理人
主分類
B01D
65/10 20060101AFI20250930BHJP(物理的または化学的方法または装置一般)
要約
【課題】
気体分離膜モジュールの劣化、損傷、リークなどの異常について、少量の気体により検査を行うことができる、気体分離膜モジュールの検査装置および検査方法を提供すること。
【解決手段】
気体分離膜モジュールの封止気体が、1種類または2種類以上の気体で構成され、
気体分離膜モジュールの封止気体を、非透過側の加圧及び透過側の減圧の、少なくとも一方により、封止気体を、非透過側および透過側の少なくとも一方から排出し、
気体分離膜モジュールの非透過気体及び透過気体の少なくとも一方について、気体の特性を測定する、
気体分離膜モジュールの検査方法およびその検査装置。
【選択図】図1
特許請求の範囲
【請求項1】
気体分離膜モジュールの封止気体が、1種類または2種類以上の気体で構成され、
前記気体分離膜モジュールの封止気体を、非透過側の加圧及び透過側の減圧の、少なくとも一方により、非透過側および透過側の少なくとも一方から排出し、
気体分離膜モジュールの非透過気体及び透過気体の少なくとも一方について、気体の特性を測定する、
気体分離膜モジュールの検査方法。
続きを表示(約 1,300 文字)
【請求項2】
気体分離膜モジュールの封止気体が、1種類または2種類以上の気体で構成され、
前記気体分離膜モジュールの封止気体を、非透過側の加圧及び透過側の減圧の、少なくとも一方により、非透過側および透過側の少なくとも一方から排出し、
前記気体分離膜モジュール内の部位にて、前記非透過気体または前記透過気体の少なくとも一方の特性を測定する、
気体分離膜モジュールの検査方法。
【請求項3】
前記気体分離膜モジュールの、2箇所以上の部位にて、前記非透過気体または前記透過気体の少なくとも一方の特性を測定する、
請求項2に記載の気体分離膜モジュールの検査方法。
【請求項4】
前記気体分離膜が平膜である、請求項1または2に記載の気体分離膜モジュールの検査方法。
【請求項5】
前記気体分離膜、非透過側流路材、および透過側流路材が、前記気体分離膜の前記透過気体を集積する中心管の周りに巻囲された気体分離膜モジュールである、
請求項1または2に記載の気体分離膜モジュールの検査方法。
【請求項6】
前記封止気体が2種類以上の気体で構成され、最も動的分子径が小さい気体に対し、その他の気体の動的分子径の比が1.05以上2.60以下である、
請求項1または2に記載の気体分離膜モジュールの検査方法。
【請求項7】
非透過気体及び透過気体の少なくとも一方の体積流量、質量流量、組成、温度、圧力、熱伝導度のいずれか1つ以上の特性を測定する、
請求項1または2に記載の気体分離膜モジュールの検査方法。
【請求項8】
1種類または2種類以上の気体で構成される気体を、気体分離膜モジュールへ供給及び封止する手段を有し、
1種類または2種類以上の気体で構成される封止気体を、非透過気体および透過気体に分離する気体分離膜モジュールを有し、
気体分離膜モジュールの封止気体を、非透過側を加圧及び透過側を減圧する、少なくとも一方の手段を有し、
気体分離膜モジュールの封止気体を、非透過側および透過側の少なくとも一方から排出する手段を有し、
気体分離膜モジュールの非透過気体及び透過気体の少なくとも一方について、気体の特性を測定する手段を有する、
気体分離膜モジュールの検査装置。
【請求項9】
光ファイバー、半導体、電気製品の製造工程における気体の分離、天然ガス、都市ガス、バイオガス、メタネーションなどの反応で生成する気体、未反応原料や副生物を含む気体の分離、水電解装置などから発生する気体の分離、混合気体から目的の気体を濃縮する気体の分離、から選ばれる少なくとも一つの工程で使用することを特徴とする請求項1に記載の気体分離膜モジュールの検査方法。
【請求項10】
請求項1の気体分離膜モジュールの検査方法を使用することを特徴する、光ファイバーの製造方法。
(【請求項11】以降は省略されています)
発明の詳細な説明
【技術分野】
【0001】
本発明は、気体分離膜モジュールの部位で、非透過気体または透過気体の少なくとも一方の特性を測定する検査装置および検査方法に関する。
続きを表示(約 2,400 文字)
【背景技術】
【0002】
近年、混合気体から特定の気体を効率的に分離する技術開発が望まれており、効率的に混合気体から特定の気体を分離させる方法として、素材の持つ気体透過性の違いを利用して目的成分を選択的に透過させる膜分離法が注目されている。ヘリウム、水素、二酸化炭素、窒素、六フッ化硫黄、水蒸気または希ガス等、様々な気体を対象とした分離膜が開発されている。分離膜による気体の分離は、省エネルギー・省スペースを実現する技術として期待されている。
【0003】
ここで分離膜を実際の分離プロセスで使用する場合、例えば平膜状の分離膜では、スパイラル式のモジュールとして使用する。モジュールを作製する際の接着部に不良や分離膜の損傷があると、また、分離膜モジュールを使用に際し、酸性ガスなどにより分離膜が劣化すると、非透過側の気体が透過側に漏れる、または分離性は低下する懸念がある。場合によっては、通常の運転に加えて薬品洗浄等を行う可能性もある。
そのため、分離膜エレメントが損傷、破断又は劣化する等の異常が発生する懸念がある。そのため、分離膜モジュールにおける異常の発生を迅速に検知し、異常位置等を可及的速やかに特定して、早期対策を講じることが重要となる。
【0004】
特許文献1には、混合気体の実分離計数を測定する分離膜の品質評価方法およびその装置が開示されている。
【0005】
特許文献2には、水処理プロセスで使用する分離膜モジュールについて、薬品で分離膜を洗浄する際、破断や劣化が懸念されるため、直列に配置した複数の分離膜モジュールについて、複数の透過水の流量や水質を測定する方法が開示されている。
【先行技術文献】
【特許文献】
【0006】
特許第6643223号公報
国際公開第2020/071507号
【発明の概要】
【発明が解決しようとする課題】
【0007】
実際の分離プロセスで使用する分離膜モジュールにおける異常の有無を確認すること、すなわち分離膜モジュールの検査は重要である。一方で、分離膜モジュールの検査について、従来の方法においては、分離膜モジュールに大量の気体を供給し検査を行う必要があった。気体の種類によっては、高価で希少な気体もあり、コスト面などで課題があった。
【0008】
そこで本発明は、この課題を改善し、気体分離膜モジュールの劣化、損傷、リークなどの異常について、少量の気体により検査を行うことができる、気体分離膜モジュールの検査装置および検査方法を提供する。
【課題を解決するための手段】
【0009】
上記目的を達成するための本発明は、以下の構成を有する。
(1)気体分離膜モジュールの封止気体が、1種類または2種類以上の気体で構成され、
気体分離膜モジュールの封止気体を、非透過側の加圧及び透過側の減圧の、少なくとも一方により、封止気体を、非透過側および透過側の少なくとも一方から排出し、気体分離膜モジュールの非透過気体及び透過気体の少なくとも一方について、気体の特性を測定する、気体分離膜モジュールの検査方法。
(2)気体分離膜モジュールの封止気体が、1種類または2種類以上の気体で構成され、
気体分離膜モジュールの封止気体を、非透過側の加圧及び透過側の減圧の、少なくとも一方により、封止気体を、非透過側および透過側の少なくとも一方から排出し、前記気体分離膜モジュール内の部位にて、前記非透過気体または前記透過気体の少なくとも一方の特性を測定する、気体分離膜モジュールの検査方法。
(3)前記気体分離膜モジュールの、2箇所以上の部位にて、前記非透過気体または前記透過気体の少なくとも一方の特性を測定する、(2)に記載の気体分離膜モジュールの検査方法。
(4)前記気体分離膜が平膜である、(1)または(2)に記載の気体分離膜モジュールの検査方法。
(5)前記気体分離膜、非透過側流路材、および透過側流路材が、前記気体分離膜の前記透過気体を集積する中心管の周りに巻囲された気体分離膜モジュールである、(1)から(4)に記載の気体分離膜モジュールの検査方法。
(6)前記封止気体が2種類以上の気体で構成され、最も動的分子径が小さい気体に対し、その他の気体の動的分子径の比が1.05以上2.60以下である、(1)から(5)に記載の気体分離膜モジュールの検査方法。
(7)非透過気体及び透過気体の少なくとも一方の体積流量、質量流量、組成、温度、圧力、熱伝導度のいずれか1つ以上の特性を測定する、(1)から(6)に記載の気体分離膜モジュールの検査方法。
(8)1種類または2種類以上の気体で構成される気体を、気体分離膜モジュールへ供給及び封止する手段を有し、1種類または2種類以上の気体で構成される封止気体を、非透過気体および透過気体に分離する気体分離膜モジュールを有し、気体分離膜モジュールの封止気体を、非透過側を加圧及び透過側を減圧する、少なくとも一方の手段を有し、気体分離膜モジュールの封止気体を、非透過側および透過側の少なくとも一方から排出する手段を有し、気体分離膜モジュールの非透過気体及び透過気体の少なくとも一方について、気体の特性を測定する手段を有する、
気体分離膜モジュールの検査装置。
【発明の効果】
【0010】
本発明によって、気体分離膜モジュールの劣化、損傷、リークなどの異常について、少量の気体により検査を行うことができる、気体分離膜モジュールの検査装置および検査方法を提供することができる。
【図面の簡単な説明】
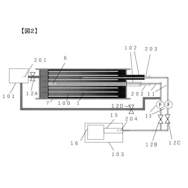
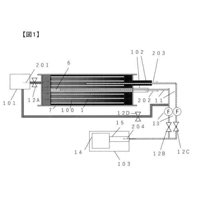
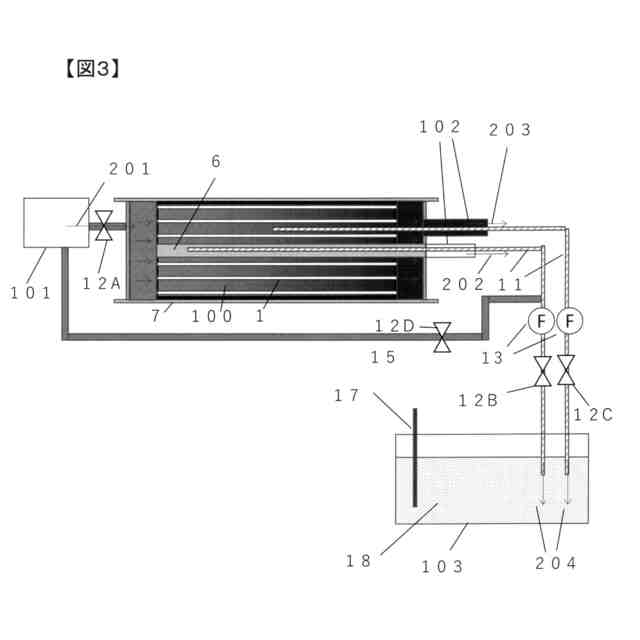
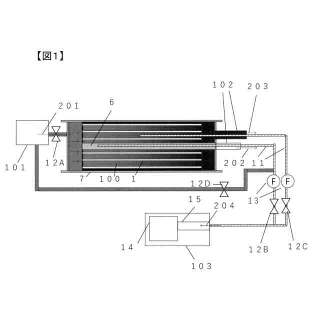
(【0011】以降は省略されています)
この特許をJ-PlatPat(特許庁公式サイト)で参照する
関連特許
東レ株式会社
異物検査装置および異物検査方法
3日前
他の特許を見る