TOP
|
特許
|
意匠
|
商標
特許ウォッチ
Twitter
他の特許を見る
10個以上の画像は省略されています。
公開番号
2025172377
公報種別
公開特許公報(A)
公開日
2025-11-26
出願番号
2024077861
出願日
2024-05-13
発明の名称
乗物用内装材及び乗物用内装材の製造方法
出願人
トヨタ紡織株式会社
代理人
弁理士法人暁合同特許事務所
主分類
B60R
13/02 20060101AFI20251118BHJP(車両一般)
要約
【課題】基材に形成される貫通孔の個数を削減することが可能な乗物用内装材を提供する。
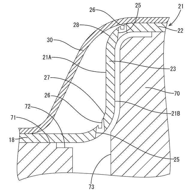
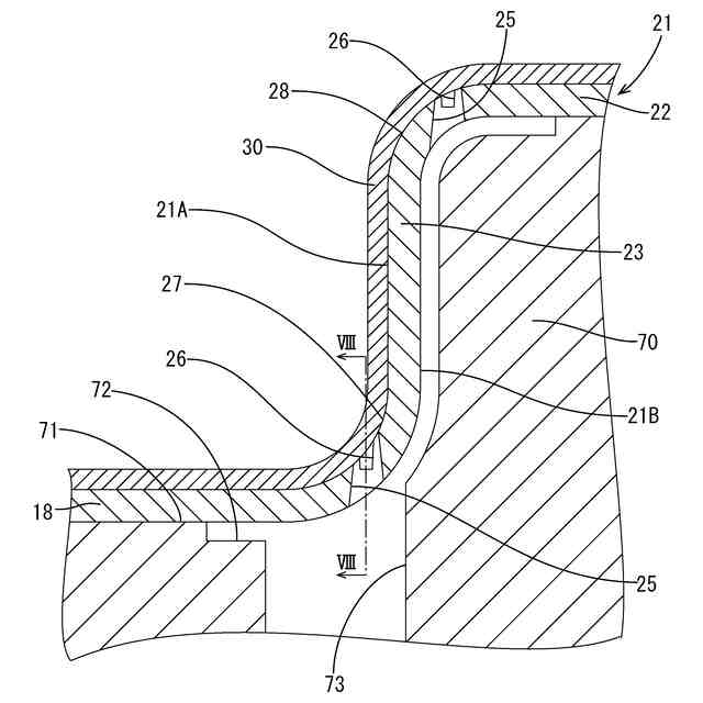
【解決手段】板状をなす基材21と、基材21における車室内側の面21Aに貼り付けられる表皮材30と、を備え、基材21には、複数の貫通孔25が形成され、車室内側の面21Aには、複数の貫通孔25を連結する溝部26が形成されている。
【選択図】図2
特許請求の範囲
【請求項1】
板状をなす基材と、
前記基材の一方の面に貼り付けられる表皮材と、を備え、
前記基材には、複数の貫通孔が形成され、
前記一方の面には、前記複数の貫通孔を連結する溝部が形成されている、乗物用内装材。
続きを表示(約 260 文字)
【請求項2】
前記基材は、前記表皮材側に開口する凹部を有しており、
前記溝部は、前記凹部の内面に形成されている、請求項1に記載の乗物用内装材。
【請求項3】
板状をなす基材の一方の面に表皮材を貼り付ける表皮材貼付工程を備え、
前記基材は、複数の貫通孔と、前記一方の面に形成され、前記複数の貫通孔を連結する溝部と、を有しており、
前記表皮材貼付工程においては、前記複数の貫通孔及び前記溝部に負圧を作用させることで、前記一方の面に前記表皮材を吸引する、乗物用内装材の製造方法。
発明の詳細な説明
【技術分野】
【0001】
本明細書で開示される技術は、乗物用内装材及び乗物用内装材の製造方法に関する。
続きを表示(約 2,000 文字)
【背景技術】
【0002】
従来、乗物用内装材として、下記特許文献1に記載のものが知られている。この特許文献1に記載された乗物用内装材は、基材と、基材の表面に貼り付けられた表皮材と、を備える。
【先行技術文献】
【特許文献】
【0003】
特開2000-313293号公報
【発明の概要】
【発明が解決しようとする課題】
【0004】
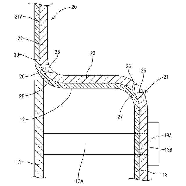
上記構成の乗物用内装材の製造過程において、基材に表皮材を貼り付ける際には、表皮材を基材の表面に密着させることが求められる。表皮材を基材の表面に密着させる方法としては、基材に形成した複数の貫通孔に負圧を作用させることで、表皮材を基材の表面に対して吸引する方法が知られている。基材が合成樹脂によって構成されている場合には、基材の成形時に吸引用の貫通孔を形成する。具体的には、基材を射出成形するための成形型の成形面にピンを立設することで、ピンに対応した形状の貫通孔を形成することができる。基材の全面に亘って表皮材を確実に吸引するためには、吸引用の貫通孔は多い方が好ましい。しかしながら、貫通孔の個数が増えると、これを形成するために必要なピンの個数も増加してしまい、成形型の製造に係るコストが増加する。また、吸引用の貫通孔の径が大きいと、貫通孔の形成箇所において、表皮材が凹んでしまい意匠性が低下する事態が懸念される。このような事態を抑制するためには貫通孔の孔径を小さくする必要があり、貫通孔を形成するためのピンの直径を小さくする必要がある。この結果、ピンの強度が低くなり、基材成形時に作用する圧力によってピンが破損する可能性が生じる。貫通孔の個数ひいてはピンの個数が増えると、ピンが破損する可能性がより一層高くなるという問題点がある。
【0005】
本明細書で開示される技術は上記のような事情に基づいて完成されたものであって、基材に形成される貫通孔の個数を削減することが可能な乗物用内装材及び乗物用内装材の製造方法を提供することを目的とする。
【課題を解決するための手段】
【0006】
上記課題を解決するための手段として、本明細書で開示される乗物用内装材は、板状をなす基材と、前記基材の一方の面に貼り付けられる表皮材と、を備え、前記基材には、複数の貫通孔が形成され、前記一方の面には、前記複数の貫通孔を連結する溝部が形成されていることを特徴とする。
【0007】
上記構成によれば、乗物用内装材の製造過程において、基材における裏面側(表皮材とは反対側)から複数の貫通孔に負圧を作用させることで、表皮材を基材における一方の面に吸引することができる。ここで、基材は、複数の貫通孔を連結する溝部を有している。このため、複数の貫通孔に負圧を作用させることで、各貫通孔を通じて溝部に負圧を作用させることができ、表皮材を溝部の全長に亘って吸引することができる。これにより、表皮材において、隣り合う貫通孔の間に対応する部分を溝部によって吸引することができるから、隣り合う貫通孔の間に他の貫通孔を形成する必要がなくなる。この結果、貫通孔のみを用いて表皮材を吸引する構成と比べて、貫通孔の個数を削減することができる。
【0008】
また、前記基材は、前記表皮材側に開口する凹部を有しており、前記溝部は、前記凹部の内面に形成されているものとすることができる。凹部の内面に表皮材を吸引する際には、平面に表皮材を吸引する場合と比べて、表皮材を吸引し難いため、貫通孔の配置密度をより大きくする必要がある。上記構成では、凹部の内面に溝部を形成することで、凹部に形成する貫通孔の個数を削減することができる。
【0009】
また、上記課題を解決するための手段として、本明細書で開示される乗物用内装材の製造方法は、板状をなす基材の一方の面に表皮材を貼り付ける表皮材貼付工程を備え、前記基材は、複数の貫通孔と、前記一方の面に形成され、前記複数の貫通孔を連結する溝部と、を有しており、前記表皮材貼付工程においては、前記複数の貫通孔及び前記溝部に負圧を作用させることで、前記一方の面に前記表皮材を吸引することを特徴とする。
【0010】
上記方法によれば、表皮材を溝部の全長に亘って吸引することができる。これにより、表皮材において、隣り合う貫通孔の間に対応する部分を溝部によって吸引することができるから、隣り合う貫通孔の間に他の貫通孔を形成する必要がなくなる。この結果、貫通孔のみを用いて表皮材を吸引する構成と比べて、貫通孔の個数を削減することができる。
【発明の効果】
(【0011】以降は省略されています)
この特許をJ-PlatPat(特許庁公式サイト)で参照する
関連特許
個人
タイヤレバー
3か月前
個人
前輪キャスター
3か月前
個人
上部一体型自動車
1か月前
個人
空間形成装置
27日前
個人
ルーフ付きトライク
3か月前
個人
タイヤ脱落防止構造
3か月前
日本精機株式会社
照明装置
22日前
日本精機株式会社
表示装置
3か月前
日本精機株式会社
表示装置
3か月前
日本精機株式会社
表示装置
3か月前
個人
車両通過構造物
4か月前
個人
マスタシリンダ
2か月前
日本精機株式会社
表示装置
3か月前
個人
乗合路線バスの客室装置
4か月前
個人
常設収納型サンバイザー
1か月前
日本精機株式会社
車載表示装置
28日前
株式会社豊田自動織機
産業車両
22日前
株式会社豊田自動織機
産業車両
3か月前
個人
回転窓ワイパー装置
27日前
日本精機株式会社
車室演出装置
3か月前
日本精機株式会社
画像投映装置
1か月前
個人
音声ガイド、音声サービス
4か月前
日本精機株式会社
車載表示装置
2か月前
日本精機株式会社
車載表示装置
1か月前
株式会社ニフコ
収納装置
2か月前
個人
円湾曲ホイール及び球体輪
4か月前
日本精機株式会社
車載表示装置
1か月前
株式会社ニフコ
照明装置
3か月前
極東開発工業株式会社
車両
3か月前
日本無線株式会社
取付金具
4か月前
井関農機株式会社
作業車両
2か月前
日本精機株式会社
車両用表示装置
3か月前
個人
音による速度計とプログラム
1か月前
日本精機株式会社
車両用表示装置
1か月前
日本精機株式会社
車両用投影装置
2か月前
株式会社SUBARU
車両
1か月前
続きを見る
他の特許を見る