TOP
|
特許
|
意匠
|
商標
特許ウォッチ
Twitter
他の特許を見る
公開番号
2025170915
公報種別
公開特許公報(A)
公開日
2025-11-20
出願番号
2024075775
出願日
2024-05-08
発明の名称
情報処理装置、情報処理方法、及び情報処理プログラム
出願人
トヨタ紡織株式会社
代理人
弁理士法人 HARAKENZO WORLD PATENT & TRADEMARK
主分類
A61B
5/0245 20060101AFI20251113BHJP(医学または獣医学;衛生学)
要約
【課題】利便性に優れた状態推定を実現する。
【解決手段】プロセッサ(11)は、車両(1)に設けられた所定の装置によって乗員(2)に刺激を与える前に測定された乗員に関する情報と、所定の装置によって乗員に刺激を与えた後に測定された乗員に関する情報とに基づいて、乗員の状態を推定する。
【選択図】図1
特許請求の範囲
【請求項1】
車両に乗車している乗員の状態を推定する情報処理装置であって、
少なくとも1つのプロセッサを備え、
前記プロセッサは、
前記車両に設けられた所定の装置によって前記乗員に刺激を与える前に測定された前記乗員に関する情報と、前記所定の装置によって前記乗員に前記刺激を与えた後に測定された前記乗員に関する情報とに基づいて、前記乗員の状態を推定する、
情報処理装置。
続きを表示(約 950 文字)
【請求項2】
前記乗員に刺激を与える前に前記乗員に関する情報を測定することを第1測定と定義した場合、
前記プロセッサは、前記乗員による所定の操作の検出をトリガとして、前記第1測定の前に、前記車両の内部空間の環境を所定の条件に調整する、
請求項1に記載の情報処理装置。
【請求項3】
前記所定の装置には、異なる2種類以上の装置が含まれ、
前記プロセッサは、前記異なる2種類以上の装置によって、異なる刺激を前記乗員に与える、
請求項2に記載の情報処理装置。
【請求項4】
前記乗員に関する情報には、少なくとも前記乗員の心拍数、血圧、体温、及び呼吸数のうち、いずれか1つが含まれ、
前記所定の条件には、少なくとも前記内部空間の温度、湿度、及び前記乗員が着座するシートのシートポジションが含まれ、
前記プロセッサは、前記乗員の状態として、少なくとも前記乗員の自律神経機能及び心血管機能のうち、いずれか一方を推定する、
請求項3に記載の情報処理装置。
【請求項5】
前記プロセッサは、少なくとも前記乗員の自律神経機能及び心血管機能のうち、いずれか一方を推定した推定結果を、前記乗員と同じ性別及び同じ年齢帯に属する他の乗員の推定結果と比較した態様で提示する、
請求項4に記載の情報処理装置。
【請求項6】
少なくとも1つのプロセッサを備え、車両に乗車している乗員の状態を推定する情報処理装置に用いられる情報処理方法であって、
前記車両に設けられた所定の装置によって前記乗員に刺激を与える前に測定された前記乗員に関する情報と、前記所定の装置によって前記乗員に前記刺激を与えた後に測定された前記乗員に関する情報とに基づいて、前記乗員の状態を推定する、
情報処理方法。
【請求項7】
車両に設けられた所定の装置によって乗員に刺激を与える前に測定された前記乗員に関する情報と、前記所定の装置によって前記乗員に前記刺激を与えた後に測定された前記乗員に関する情報とに基づいて、前記乗員の状態を推定する処理をコンピュータに実行させる情報処理プログラム。
発明の詳細な説明
【技術分野】
【0001】
本開示は、情報処理装置、情報処理方法、及び情報処理プログラムに関する。
続きを表示(約 1,400 文字)
【背景技術】
【0002】
従来、自律神経機能の異常の有無を判定する方法が知られている(例えば特許文献1)。特許文献1に記載された方法では、手首に心拍計を装着した被診断者に対して起立動作を要求する。そして、特許文献1に記載された方法では、起立動作が行われる前の心拍数と、起立動作が行われた後の心拍数との差である心拍数増加量が、予め設定された正常範囲であるか否かにより被診断者の自律神経機能の異常の有無を判定する。
【先行技術文献】
【特許文献】
【0003】
特許第5944550号
【発明の概要】
【発明が解決しようとする課題】
【0004】
しかしながら、特許文献1に記載された方法において、被診断者は指示にしたがい起立動作を行う必要がある。また、特許文献1に記載された方法において、被診断者は手首に心拍計を装着する必要がある。このように特許文献1に記載された方法は、被診断者に一定の負荷を要求するものであり、被診断者の利便性が高いとはいえない。
【0005】
本開示の一態様は、利便性に優れた状態推定を実現することを目的とする。
【課題を解決するための手段】
【0006】
上記の課題を解決するために、本開示の一態様に係る情報処理装置は、車両に乗車している乗員の状態を推定する情報処理装置であって、少なくとも1つのプロセッサを備え、前記プロセッサは、前記車両に設けられた所定の装置によって前記乗員に刺激を与える前に測定された前記乗員に関する情報と、前記所定の装置によって前記乗員に前記刺激を与えた後に測定された前記乗員に関する情報とに基づいて、前記乗員の状態を推定する。
【0007】
上記の課題を解決するために、本開示の一態様に係る情報処理方法は、少なくとも1つのプロセッサを備え、車両に乗車している乗員の状態を推定する情報処理装置に用いられる情報処理方法であって、前記車両に設けられた所定の装置によって前記乗員に刺激を与える前に測定された前記乗員に関する情報と、前記所定の装置によって前記乗員に前記刺激を与えた後に測定された前記乗員に関する情報とに基づいて、前記乗員の状態を推定する。
【0008】
上記の課題を解決するために、本開示の一態様に係る情報処理プログラムは、車両に設けられた所定の装置によって乗員に刺激を与える前に測定された前記乗員に関する情報と、前記所定の装置によって前記乗員に前記刺激を与えた後に測定された前記乗員に関する情報とに基づいて、前記乗員の状態を推定する処理をコンピュータに実行させる。
【0009】
本開示の各態様に係る情報処理装置は、コンピュータによって実現してもよく、この場合には、コンピュータを前記情報処理装置が備える各部(ソフトウェア要素)として動作させることにより前記情報処理装置をコンピュータにて実現させる情報処理プログラム、及びそれを記録したコンピュータ読み取り可能な記録媒体も、本開示の範疇に入る。
【発明の効果】
【0010】
本開示の一態様によれば、利便性に優れた状態推定を実現することが可能となる。
【図面の簡単な説明】
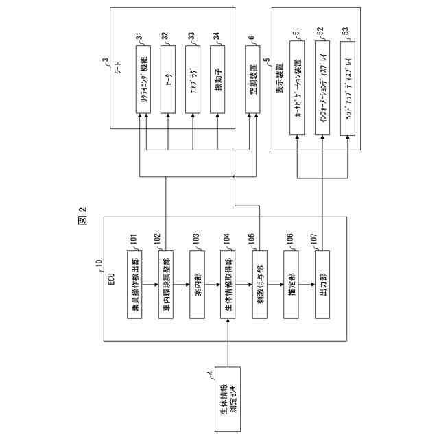
(【0011】以降は省略されています)
この特許をJ-PlatPat(特許庁公式サイト)で参照する
関連特許
トヨタ紡織株式会社
乗物用シート
1日前
トヨタ紡織株式会社
搬送システム
25日前
トヨタ紡織株式会社
振動刺激装置
1日前
トヨタ紡織株式会社
乗物用シート
1か月前
トヨタ紡織株式会社
乗物用シート
1か月前
トヨタ紡織株式会社
乗物用シート
14日前
トヨタ紡織株式会社
シートバック
14日前
トヨタ紡織株式会社
シートバック
14日前
トヨタ紡織株式会社
カップホルダー
1か月前
トヨタ紡織株式会社
ロックシステム
22日前
トヨタ紡織株式会社
乗物用照明装置
1か月前
トヨタ紡織株式会社
乗り物用シート
15日前
トヨタ紡織株式会社
乗り物用シート
15日前
トヨタ紡織株式会社
燃料電池スタック
1か月前
トヨタ紡織株式会社
乗物用シート装置
16日前
トヨタ紡織株式会社
ロータの製造装置
23日前
トヨタ紡織株式会社
乗物用シート装置
14日前
トヨタ紡織株式会社
燃料電池システム
25日前
トヨタ紡織株式会社
燃料電池の単セル
1か月前
トヨタ紡織株式会社
シート制御システム
1か月前
トヨタ紡織株式会社
コネクタ及び二次電池
22日前
トヨタ紡織株式会社
パーソナルブース装置
1日前
トヨタ紡織株式会社
パーソナルブース装置
1日前
トヨタ紡織株式会社
繊維状複合体の製造方法
1か月前
トヨタ紡織株式会社
繊維状複合体の製造方法
1か月前
トヨタ紡織株式会社
配車装置およびプログラム
25日前
トヨタ紡織株式会社
乗物用シートのアームレスト
24日前
トヨタ紡織株式会社
熱可塑性樹脂組成物の製造方法
1か月前
豊田合成株式会社
車両用照明装置
1か月前
豊田合成株式会社
車両用投影装置
1か月前
トヨタ紡織株式会社
熱可塑性樹脂組成物及びその製造方法
1か月前
トヨタ紡織株式会社
車両用ヘッドレスト及び車両用シート
16日前
トヨタ紡織株式会社
シートパッド及びシートパッドの成形型
23日前
トヨタ紡織株式会社
繊維状物質及びその製造方法並びに粉体
1か月前
トヨタ紡織株式会社
繊維状複合体及びその製造方法並びに粉体
1か月前
トヨタ紡織株式会社
乗り物酔い防止装置、及び乗り物酔い防止方法
1日前
続きを見る
他の特許を見る