TOP
|
特許
|
意匠
|
商標
特許ウォッチ
Twitter
他の特許を見る
10個以上の画像は省略されています。
公開番号
2025158380
公報種別
公開特許公報(A)
公開日
2025-10-17
出願番号
2024060869
出願日
2024-04-04
発明の名称
乗物用照明装置
出願人
トヨタ紡織株式会社
代理人
弁理士法人暁合同特許事務所
主分類
B60Q
3/217 20170101AFI20251009BHJP(車両一般)
要約
【課題】導光棒を収容部材に対してしっかりと固定しつつ、出射される光の長手方向における均一化を図った乗物用照明装置を提供する。
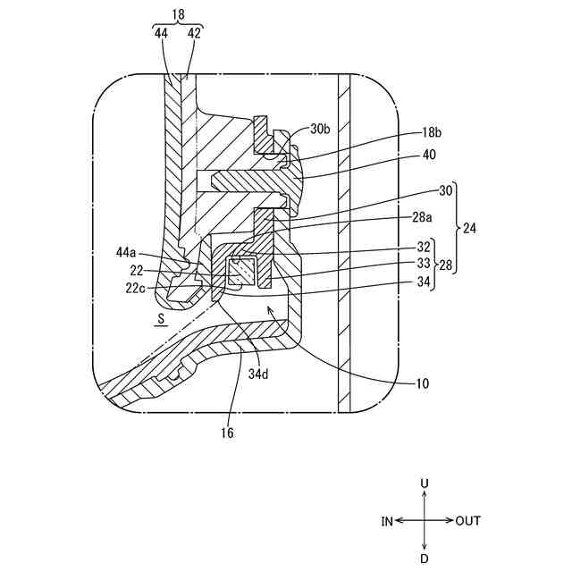
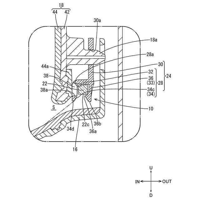
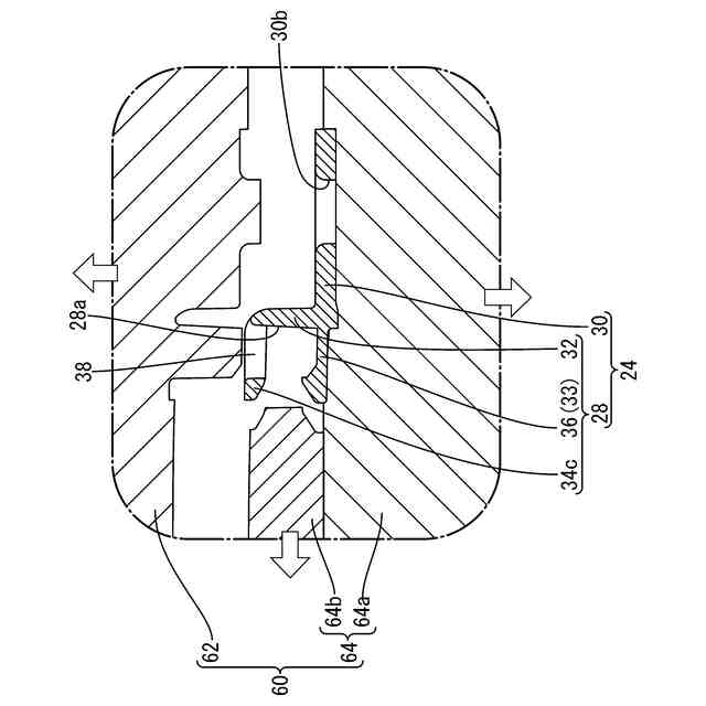
【解決手段】導光棒22と、遮光性を有し、凹所28aにおいて導光棒22を収容して凹所28aの開口から導光棒22の光を出射させる収容部材24と、を備え、収容部材24は、互いに対向して立設して間に凹所28aを形成する第1立壁部33および第2立壁部34を有し、第1立壁部33は、第2立壁部34に向かって突出して形成されて導光棒22を凹所28a内に保持するための爪部36を有し、第2立壁部34は、爪部36と対向する位置において、基端側に厚み方向に貫通する貫通孔38を有し、先端側に長手方向に橋架けられた形の橋架壁部34cを有し、第2立壁部34の先端は、光を出射する範囲の全域に亘って長手方向に連続して形成されている構成とする。
【選択図】図5
特許請求の範囲
【請求項1】
乗物用内装材に取り付けられる乗物用照明装置であって、
光源と、
長手状をなし、長手方向における一端から前記光源の光が入射され、その入射された光を他端側に導光する導光棒と、
遮光性を有し、前記導光棒に沿って延在する長手状をなし、前記長手方向に沿う凹所において前記導光棒を収容して前記凹所の開口から前記導光棒の光を出射させる収容部材と、
を備え、
前記収容部材は、互いに対向して立設する第1立壁部および第2立壁部を有し、前記第1立壁部と前記第2立壁部の間に前記凹所を形成するものとされ、
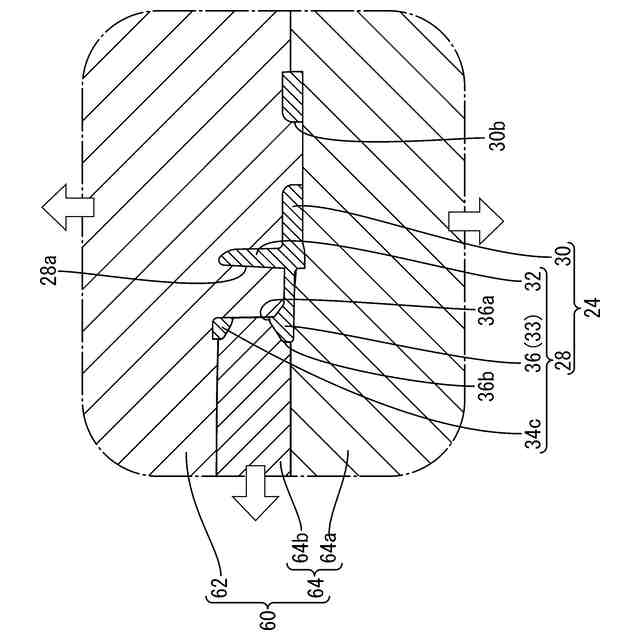
前記第1立壁部は、前記第2立壁部に向かって突出して形成されて前記導光棒を前記凹所内に保持するための爪部を有し、
前記第2立壁部は、前記爪部と対向する位置において、当該第2立壁部の基端側に、厚み方向に貫通する貫通孔を有し、当該第2立壁部の先端側に、長手方向に橋架けられた形の橋架壁部を有し、
前記第2立壁部の先端は、光を出射する範囲の全域に亘って長手方向に連続して形成されていることを特徴とする、乗物用照明装置。
続きを表示(約 820 文字)
【請求項2】
前記収容部材は、前記第2立壁部の先端から前記導光棒までの距離が、長手方向において一定となる状態で、前記導光棒を収容する、請求項1に記載の乗物用照明装置。
【請求項3】
前記第1立壁部および前記第2立壁部における基端から先端に向かう方向である立設方向において、前記貫通孔における孔縁の先端側の位置と、前記爪部の頂点の位置とが一致する、請求項1または請求項2に記載の乗物用照明装置。
【請求項4】
前記収容部材は、前記乗物用内装材に取り付けるための取付部を有し、
前記取付部は、前記立設方向において前記第1立壁部および前記第2立壁部とは反対側に延び出す形で形成されている、請求項3に記載の乗物用照明装置。
【請求項5】
前記第2立壁部は、前記第1立壁部に対し、相対的に乗物室側に位置している、請求項1または請求項2に記載の乗物用照明装置。
【請求項6】
前記乗物用内装材は、基材と、前記基材の乗物室内側面を被覆する表皮材と、を含んで構成され、
前記表皮材は、前記基材の縁部において乗物室外側に折り返されて固定されており、
前記表皮材の折り返された部分である折り返し部に対して、前記第2立壁部が接する状態で前記乗物用内装材に取り付けられている、請求項1または請求項2に記載の乗物用照明装置。
【請求項7】
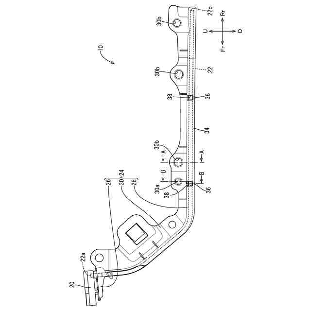
前記乗物用内装材は、アームレスト部と、前記アームレスト部の上方側の壁面を形成する壁面部と、を有するドアトリムであり、
当該乗物用照明装置は、前記開口が下方を向くとともに前記第2立壁部が前記第1立壁部に対して相対的に乗物室内側に位置する状態で、前記壁面部における乗物室外側面の下縁に沿って取り付けられ、前記アームレスト部に向かって光を照射するものである、請求項1または請求項2に記載の乗物用照明装置。
発明の詳細な説明
【技術分野】
【0001】
本発明は、乗物用照明装置に関する。
続きを表示(約 2,200 文字)
【背景技術】
【0002】
下記特許文献1には、乗物用照明装置の一例が記載されている。下記特許文献1に記載の乗物用照明装置は、車両用内装材に取り付けられるものであり、光源と、長手方向における一端から入射された光を他端側に導光する導光体と、導光体を保持する導光体保持部と、を備えている。下記特許文献1に記載の車両用照明装置は、導光体保持部が、導光体の車室側を覆って導光体の光を透過させる構成のもの、いわゆるレンズ部材とされている。
【先行技術文献】
【特許文献】
【0003】
特許第6128390号公報
【発明の概要】
【発明が解決しようとする課題】
【0004】
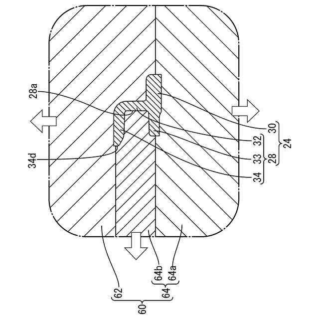
一方で、乗物用照明装置としては、乗物室内の乗員から視認できない位置に配されて、間接照明として用いるような場合に、レンズ部材を用いず、導光棒からの光を、乗物用内装材の照射部に向かって直接出射するような構成のものもある。そのような構成の乗物用照明装置は、例えば、遮光性を有し、導光棒に沿って延在する長手状をなし、長手方向に沿う凹所において導光棒を収容して凹所の開口から導光棒の光を出射させる収容部材を含んで構成される。そして、導光棒を凹所内に保持するためには、その凹所を形成する一対の立壁部に、導光棒を掛止するための爪部や、爪部に嵌め込むための切欠等を形成する必要がある。そのような構成から、凹所の開口から出射される光は、爪部や切欠等によって長手方向において不揃いになるという問題がある。
【0005】
本発明は、そのような実情に鑑みてなされたものであり、導光棒を収容部材に対してしっかりと固定しつつ、出射される光の長手方向における均一化を図った乗物用照明装置を提供することを課題とする。
【課題を解決するための手段】
【0006】
上記課題を解決するために、本願に開示される乗物用照明装置は、下記の構成とされている。
(1)乗物用内装材に取り付けられる乗物用照明装置であって、
光源と、
長手状をなし、長手方向における一端から前記光源の光が入射され、その入射された光を他端側に導光する導光棒と、
遮光性を有し、前記導光棒に沿って延在する長手状をなし、前記長手方向に沿う凹所において前記導光棒を収容して前記凹所の開口から前記導光棒の光を出射させる収容部材と、
を備え、
前記収容部材は、互いに対向して立設する第1立壁部および第2立壁部を有し、前記第1立壁部と前記第2立壁部の間に前記凹所を形成するものとされ、
前記第1立壁部は、前記第2立壁部に向かって突出して形成されて前記導光棒を前記凹所内に保持するための爪部を有し、
前記第2立壁部は、前記爪部と対向する位置において、当該第2立壁部の基端側に、厚み方向に貫通する貫通孔を有し、当該第2立壁部の先端側に、長手方向に橋架けられた形の橋架壁部を有し、
前記第2立壁部の先端は、光を出射する範囲の全域に亘って長手方向に連続して形成されていることを特徴とする、乗物用照明装置。
【0007】
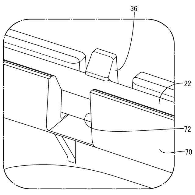
本願に開示される乗物用照明装置は、導光棒を一対の立壁部(第1立壁部および第2立壁部)によって挟むように収容し、それら第1立壁部と第2立壁部の間から導光棒の光を出射させる構成のものを前提としている。そして、本願に開示の乗物用照明装置は、導光棒が凹所から抜けないように、第1立壁部には、内側(第2立壁部)に向かって突出する爪部が形成されている。一方、その爪部の内面側を形成するために、第2立壁部における爪部に対向する箇所には、開口が必要となる。例えば、第2立壁部における爪部に対向する箇所が切り欠かれている(第2立壁部の先端が連続しておらず、途切れている)と、凹所の開口からだけでなく、その切欠から光が漏れて、光の照射範囲に、ムラが生じることになる。また、第2立壁部における橋架壁部より一端側の部分と他端側の部分とで、第1立壁部との間の間隔(凹所の開口の幅)に差が生じる虞があり、その場合には、橋架壁部より一端側の部分と他端側の部分とで、光の広がりが相違することになる。それに対して、本願に開示の乗物用照明装置は、第2立壁部における爪部に対向する箇所に、基端側に貫通孔が形成されているのみで、第2立壁部の先端は、橋架壁部によって繋がって長手方向において途切れていないため、凹所の開口から出射される光の広がりを、長手方向において揃えることができる。
【0008】
また、上記構成の乗物用照明装置において、以下に示す種々の態様とすることが可能である。
【0009】
(2)前記収容部材は、前記第2立壁部の先端から前記導光棒までの距離が、長手方向において一定となる状態で、前記導光棒を収容する、(1)項に記載の乗物用照明装置。
【0010】
この構成の乗物用照明装置は、第2立壁部の先端から、導光棒における凹所の開口側を向く面(光出射面)までの距離が、長手方向におけるいずれの位置においても、同じ寸法とされる。収容部材の開口から漏れる光の第1立壁部側への広がりを、長手方向において揃えることができる。
(【0011】以降は省略されています)
この特許をJ-PlatPat(特許庁公式サイト)で参照する
関連特許
トヨタ紡織株式会社
シート
24日前
トヨタ紡織株式会社
乗物用シート
24日前
トヨタ紡織株式会社
乗物用シート
9日前
トヨタ紡織株式会社
乗物用シート
9日前
トヨタ紡織株式会社
車両用排熱装置
22日前
トヨタ紡織株式会社
カップホルダー
18日前
トヨタ紡織株式会社
乗物用照明装置
8日前
トヨタ紡織株式会社
燃料電池の単セル
9日前
トヨタ紡織株式会社
乗物用シート装置
22日前
トヨタ紡織株式会社
燃料電池スタック
8日前
トヨタ紡織株式会社
クッションフレーム
23日前
トヨタ紡織株式会社
シート制御システム
11日前
トヨタ紡織株式会社
繊維状複合体の製造方法
16日前
トヨタ紡織株式会社
繊維状複合体の製造方法
16日前
トヨタ紡織株式会社
エアバッグの力布取付構造
22日前
トヨタ紡織株式会社
鉄心の焼鈍方法及び焼鈍用治具
22日前
トヨタ紡織株式会社
熱可塑性樹脂組成物の製造方法
16日前
トヨタ紡織株式会社
植物繊維含有樹脂ボードの製造方法
22日前
豊田合成株式会社
車両用投影装置
3日前
豊田合成株式会社
車両用照明装置
3日前
トヨタ紡織株式会社
熱可塑性樹脂組成物及びその製造方法
16日前
トヨタ紡織株式会社
繊維状物質及びその製造方法並びに粉体
16日前
トヨタ紡織株式会社
繊維状複合体及びその製造方法並びに粉体
16日前
トヨタ紡織株式会社
燃料電池用セパレータ及び燃料電池の単セル
22日前
トヨタ紡織株式会社
熱可塑性樹脂組成物及びその製造方法並びに成形体
16日前
トヨタ紡織株式会社
パーティション装置、パーティションシステム、及び制御装置
8日前
トヨタ紡織株式会社
燃料電池用セパレータの製造装置及び燃料電池用セパレータの製造方法
9日前
個人
タイヤレバー
2か月前
個人
前輪キャスター
2か月前
個人
上部一体型自動車
22日前
個人
ルーフ付きトライク
2か月前
個人
ホイルのボルト締結
3か月前
個人
タイヤ脱落防止構造
1か月前
日本精機株式会社
表示装置
2か月前
日本精機株式会社
表示装置
2か月前
日本精機株式会社
表示装置
2か月前
続きを見る
他の特許を見る