TOP
|
特許
|
意匠
|
商標
特許ウォッチ
Twitter
他の特許を見る
10個以上の画像は省略されています。
公開番号
2025167042
公報種別
公開特許公報(A)
公開日
2025-11-07
出願番号
2024071323
出願日
2024-04-25
発明の名称
乗物用シート
出願人
トヨタ紡織株式会社
代理人
弁理士法人岡田国際特許事務所
主分類
B60N
2/58 20060101AFI20251030BHJP(車両一般)
要約
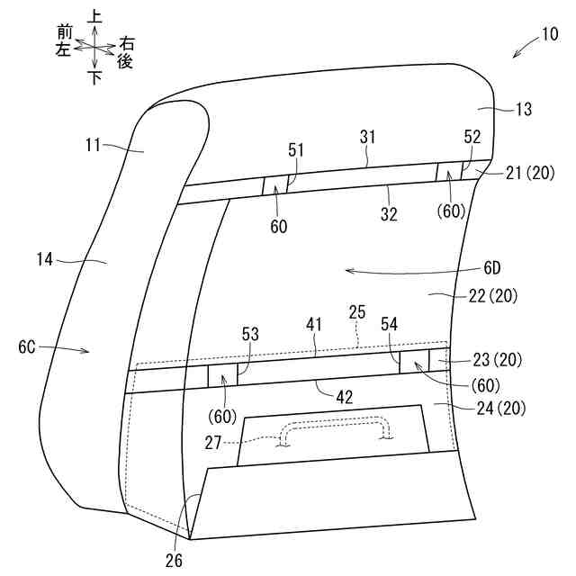
【課題】シートのコストアップを抑制しつつ、ストラップをカバー部位に取付けることにある。
【解決手段】後面カバー部位20(カバー部位)と第一ストラップ51(ストラップ)の間に、他部材を挿入して保持可能な収容部60が設けられている乗物用シートにおいて、後面カバー部位20には、隣合うカバーピース同士が縫合連結された箇所である上側第一縫合部31(第一縫合部)及び上側第二縫合部32(第二縫合部)が同じ向きに延びるように形成されており、第一ストラップ51は、同じ向きに延びる上側第一縫合部31と上側第二縫合部32とに渡されていると共に、第一ストラップ51の一端が上側第一縫合部31に共縫いされ、一端とは反対の第一ストラップ51の他端が上側第二縫合部32に共縫いされている。
【選択図】図6
特許請求の範囲
【請求項1】
シート外観を構成するカバー部位と、前記カバー部位に取付けられた帯状のストラップとを備え、前記カバー部位と前記ストラップの間に、他部材を挿入して保持可能な収容部が設けられている乗物用シートにおいて、
前記カバー部位には、隣合うカバーピース同士が縫合連結された箇所である第一縫合部及び第二縫合部が同じ向きに延びるように形成されており、
前記ストラップは、同じ向きに延びる前記第一縫合部と前記第二縫合部とに渡されていると共に、前記ストラップの一端が前記第一縫合部に共縫いされ、前記一端とは反対の前記ストラップの他端が前記第二縫合部に共縫いされている乗物用シート。
続きを表示(約 160 文字)
【請求項2】
前記カバー部位と前記ストラップとを部分的に密着させて前記収容部の開口寸法を調節する開口調節部が設けられている請求項1に記載の乗物用シート。
【請求項3】
前記開口調節部は、前記第一縫合部と前記第二縫合部の少なくとも一方から前記収容部に向かうように延びている請求項2に記載の乗物用シート。
発明の詳細な説明
【技術分野】
【0001】
本発明は、他部材を挿入して保持可能な収容部を備えた乗物用シートに関する。
続きを表示(約 2,200 文字)
【背景技術】
【0002】
この種の乗物用シートに関する技術が特許文献1に開示されている。特許文献1に開示のシーティングアセンブリ(乗物用シート)は、座部となるシートクッションと、シートクッションの後部から起立するシートバックとを有している。そしてシートバックの後面には、帯状のストラップがシート幅方向に延びるように設けられている。このストラップは、そのシート幅方向の両端が、シートバックの外面をなすトリム(カバー部位)に固定されている。またストラップには、トリムに縫合線で縫い付けられた箇所(アタッチメントエリア)がシート幅方向に等間隔で形成されている。そして隣り合う縫合線間の部分では、ストラップとトリムとをループ状に拡開できるようになり、当該ループ状の部分に他部材を挿入して保持できるようになる。
【先行技術文献】
【特許文献】
【0003】
米国特許第11485292号明細書
【発明の概要】
【発明が解決しようとする課題】
【0004】
ところで上記した技術では、ストラップのシート幅方向の両端をトリムに固定している。この固定手法として、特許文献1の図2や図4A等を参照すると、ストラップをトリム(カバー部位)にあてがいながら、そのストラップの両端を縫合線でトリムに固定している。しかし上記した構成では、ストラップ取付用の縫合線が、トリムに予め設けられた縫合部(既存構成)とは別に必要になるため、シートのコストアップになる。本発明は上述の点に鑑みて創案されたものであり、本発明が解決しようとする課題は、シートのコストアップを抑制しつつ、ストラップをカバー部位に取付けることにある。
【課題を解決するための手段】
【0005】
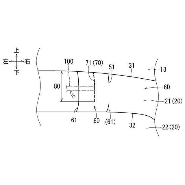
上記課題を解決するための手段として、第1発明の乗物用シートは、シート外観を構成するカバー部位と、カバー部位に取付けられた帯状のストラップとを備え、カバー部位とストラップの間に、他部材を挿入して保持可能な収容部が設けられている。この種のシート構成では、シートのコストアップを抑制しつつ、ストラップをカバー部位に取付けられることが望ましい。そこで本発明のカバー部位には、隣合うカバーピース同士が縫合連結された箇所である第一縫合部及び第二縫合部が同じ向きに延びるように形成されている。そしてストラップは、同じ向きに延びる第一縫合部と第二縫合部とに渡されていると共に、ストラップの一端が第一縫合部に共縫いされ、一端とは反対のストラップの他端が第二縫合部に共縫いされている。本発明では、カバー部位の既存構成となる両縫合部にストラップが共縫いして取付けられるため、シートのコストアップ抑制に資する構成となる。
【0006】
第2発明の乗物用シートは、第1発明の乗物用シートにおいて、カバー部位とストラップとを部分的に密着させて収容部の開口寸法を調節する開口調節部が設けられている。本発明では、開口調節部の働きで、収容部の開口寸法を、両縫合部間の離間寸法とは無関係に調節できるようになる。
【0007】
第3発明の乗物用シートは、第2発明の乗物用シートにおいて、開口調節部は、第一縫合部と第二縫合部の少なくとも一方から収容部に向かうように延びている。本発明では、収容部に挿入すべき他部材を、開口調節部に沿うように動かして収容部側に導けるようになる。
【発明の効果】
【0008】
本発明に係る第1発明によれば、シートのコストアップを抑制しつつ、ストラップをカバー部位に取付けられるようになる。また第2発明によれば、ストラップをカバー部位により性能良く取付けられるようになる。そして第3発明によれば、ストラップをカバー部位に更に性能良く取付けられるようになる。
【図面の簡単な説明】
【0009】
乗物用シートの後面図である。
シートバックを前側から見た斜視図である。
ストラップを示すシートバックの拡大後面図である。
シートカバーの縦断面図である。
シートカバーを後側から見た一部透視斜視図である。
上側のストラップとカバー部位の縫合箇所の拡大縦断面図である。
下側のストラップとカバー部位の縫合箇所の拡大縦断面図である。
他部材挿入時の収容部を示すシートバックの拡大後面図である。
変形例1の収容部の後面図である。
変形例2の収容部の後面図である。
変形例3の収容部の後面図である。
変形例4の収容部の後面図である。
変形例5の収容部の後面図である。
変形例6の収容部の後面図である。
変形例7の収容部の後面図である。
変形例8の収容部の後面図である。
変形例9の収容部を示すカバー部位の拡大断面図である。
【発明を実施するための形態】
【0010】
以下、本発明を実施するための形態を、図1~図17を参照して説明する。各図には、乗物用シートの前後方向と上下方向(高さ方向)と左右方向(シート幅方向)を示す矢線を適宜図示する。なお各図では、便宜上、収容部に挿入される他部材を二点破線で図示しているが、この他部材の構成(種類、形、寸法等)を限定する趣旨ではない。
(【0011】以降は省略されています)
この特許をJ-PlatPat(特許庁公式サイト)で参照する
関連特許
トヨタ紡織株式会社
シート
1か月前
トヨタ紡織株式会社
アイロン
1か月前
トヨタ紡織株式会社
乗物用シート
23日前
トヨタ紡織株式会社
シートバック
1日前
トヨタ紡織株式会社
シートバック
1日前
トヨタ紡織株式会社
乗物用シート
1日前
トヨタ紡織株式会社
搬送システム
12日前
トヨタ紡織株式会社
デッキボード
1か月前
トヨタ紡織株式会社
乗物用シート
1か月前
トヨタ紡織株式会社
乗物用シート
23日前
トヨタ紡織株式会社
カップホルダー
1か月前
トヨタ紡織株式会社
ロックシステム
9日前
トヨタ紡織株式会社
車両用排熱装置
1か月前
トヨタ紡織株式会社
乗り物用シート
2日前
トヨタ紡織株式会社
乗り物用シート
2日前
トヨタ紡織株式会社
乗物用照明装置
22日前
トヨタ紡織株式会社
乗物用シート装置
1か月前
トヨタ紡織株式会社
燃料電池スタック
22日前
トヨタ紡織株式会社
燃料電池の単セル
23日前
トヨタ紡織株式会社
乗物用シート装置
1日前
トヨタ紡織株式会社
ロータの製造装置
10日前
トヨタ紡織株式会社
燃料電池システム
12日前
トヨタ紡織株式会社
乗物用シート装置
3日前
トヨタ紡織株式会社
クッションフレーム
1か月前
トヨタ紡織株式会社
シート制御システム
25日前
トヨタ紡織株式会社
コネクタ及び二次電池
9日前
トヨタ紡織株式会社
繊維状複合体の製造方法
1か月前
トヨタ紡織株式会社
繊維状複合体の製造方法
1か月前
トヨタ紡織株式会社
配車装置およびプログラム
12日前
トヨタ紡織株式会社
エアバッグの力布取付構造
1か月前
トヨタ紡織株式会社
乗物用シートのアームレスト
11日前
トヨタ紡織株式会社
熱可塑性樹脂組成物の製造方法
1か月前
トヨタ紡織株式会社
鉄心の焼鈍方法及び焼鈍用治具
1か月前
トヨタ紡織株式会社
剥離装置及び積層体の剥離方法
1か月前
豊田合成株式会社
車両用照明装置
17日前
トヨタ紡織株式会社
植物繊維含有樹脂ボードの製造方法
1か月前
続きを見る
他の特許を見る