TOP
|
特許
|
意匠
|
商標
特許ウォッチ
Twitter
他の特許を見る
10個以上の画像は省略されています。
公開番号
2025157815
公報種別
公開特許公報(A)
公開日
2025-10-16
出願番号
2024060068
出願日
2024-04-03
発明の名称
乗物用シート
出願人
トヨタ紡織株式会社
代理人
弁理士法人岡田国際特許事務所
主分類
B60N
2/58 20060101AFI20251008BHJP(車両一般)
要約
【課題】エアバッグの飛び出し箇所となるシートカバーのバースト部を、その開裂性をより適切に確保しつつ、交差する二つの縫合ラインで形成することにある。
【解決手段】エアバッグは、シートカバー10の縫合箇所で形成されたバースト部20が解放されることで、シート着座側に飛び出すように構成されている乗物用シートにおいて、バースト部20では、シート上下方向に延びる第一縫合ライン21と、第一縫合ライン21と交差する方向に延びる第二縫合ライン22とが交わっており、第一縫合ライン21と第二縫合ライン22とによって、バースト部20周りのシートカバー10部分を複数の区画(第一区画31~第四区画34)に分けた場合、複数の区画のそれぞれに、エアバッグの飛び出しの際にシートカバーの面方向における伸びを規制する力布(第一力布51~第四力布54のいずれか)が設けられている。
【選択図】図3
特許請求の範囲
【請求項1】
背もたれとなるシートバックが、シート外面をなすシートカバーと、前記シートカバーのシート内側に保持されたエアバッグとを備え、前記エアバッグは、前記シートカバーの縫合箇所で形成されたバースト部が解放されることで、シート着座側に飛び出すように構成されている乗物用シートにおいて、
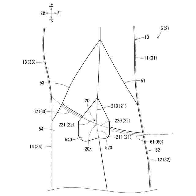
前記バースト部では、シート上下方向に延びる第一縫合ラインと、前記第一縫合ラインと交差する方向に延びる第二縫合ラインとが交わっており、
前記第一縫合ラインと前記第二縫合ラインとによって、バースト部周りのシートカバー部分を複数の区画に分けた場合、前記エアバッグの飛び出しの際に前記シートカバーの面方向における伸びを規制する力布が区画毎に設けられている乗物用シート。
続きを表示(約 530 文字)
【請求項2】
前記バースト部周りのシートカバー部分には、一つの区画内で伸びが面方向に伝播する第一の伸び領域と、前記第二縫合ラインを境として上下に分けられた二つの区画に跨って伸びが面方向に伝播する第二の伸び領域との少なくとも一つの領域が形成されており、
前記第一の伸び領域には、前記シートカバーの伸びを抑制する抑制部位が少なくとも一つ設けられていると共に、前記一つの区画内に設けられた前記力布が、前記第一縫合ラインと前記抑制部位間に渡されるように配置され、
前記第二の伸び領域には、前記シートカバーの伸びを抑制する別の抑制部位が設けられていると共に、前記二つの区画に配置する力布同士が、前記第一縫合ラインと前記別の抑制部位間に渡されるように前記第二縫合ラインを介して連結されて配置されている請求項1に記載の乗物用シート。
【請求項3】
前記第一の伸び領域には、線的に形成された前記抑制部位が、前記第二縫合ラインに沿って設けられている請求項2に記載の乗物用シート。
【請求項4】
前記第二縫合ラインには、その開放を抑制するように補強する補強部が設けられている請求項1~3のいずれか一項に記載の乗物用シート。
発明の詳細な説明
【技術分野】
【0001】
本発明は、シート外面をなすシートカバーと、シートカバーのシート内側に保持されたエアバッグとを備えている乗物用シートに関する。
続きを表示(約 2,800 文字)
【背景技術】
【0002】
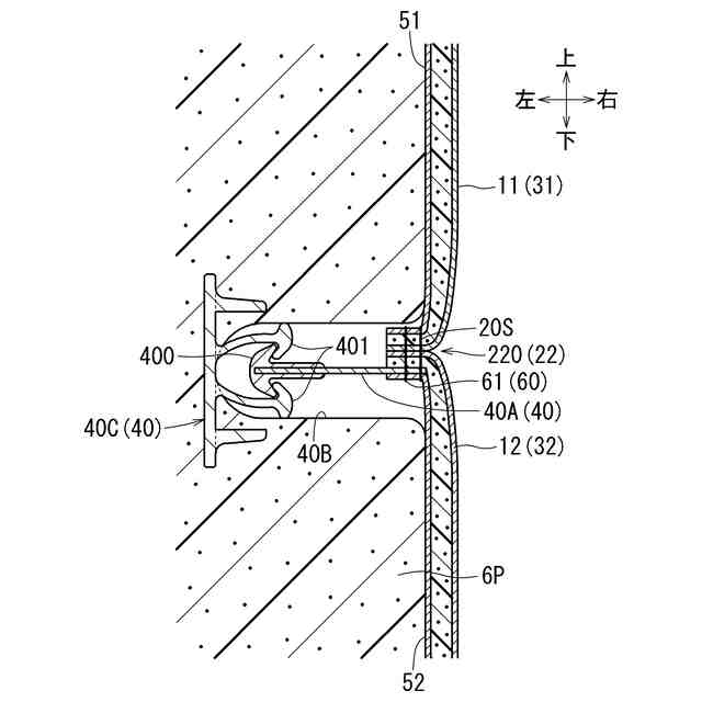
この種の乗物用シートに関する技術が特許文献1に開示されている。特許文献1の車両用シートは、背もたれとなるシートバックが、座部となるシートクッションの後部に設けられている。またシートバックは、その外形をなすシートカバーと、このシートカバーに覆われたパッドとを有している。そしてシートバックには、そのシート幅方向の側部(左部)にエアバッグ装置が配設されている。このエアバッグ装置は、パッドの裏側に保持されることで、シート外面をなすシートカバーのシート内側に配置されている。そして車両衝突時には、エアバッグ装置から膨出したエアバッグが、シートカバーの縫合部を開裂させてシート着座側に飛び出すようになる。
【0003】
ここで上記したシートカバーには、エアバッグの飛び出し箇所となる縫合部が十字状に形成されている。即ち、シートカバーには、そのシート表皮被覆部(着座面側のカバー部分)とカマチ被覆部(右カマチ面側のカバー部分)の間に、縦方向の縫合部がシート上下に延びるように設けられている。またカマチ被覆部に設けられた横方向の縫合部が、シート前後方向に延びることで、縦方向の縫合部に十字状に交差している。そしてカマチ被覆部の裏側には、横向きの縫合部の上側と下側とに、それぞれ帯状の力布がシート前後方向に延びるように設けられている。上記した構成では、エアバッグ飛び出しの際に、シートカバーの伸びを上下の力布で抑制することで、縦方向の縫合部の開裂が助長されるようになる。さらにエアバッグの膨張圧によって横向きの縫合部を開裂させることにより、十字状に開裂した縫合部部分からエアバッグがシート着座側に飛び出すようになる。
【先行技術文献】
【特許文献】
【0004】
特開2002-2344号公報
【発明の概要】
【発明が解決しようとする課題】
【0005】
ところで上記した技術では、十字状の縫合部(バースト部)を設けた上で、シートカバーの伸びを力布で抑制し、縦方向の縫合部(第一縫合ライン)の開裂を助長している。しかしカマチ被覆部(右カマチ面)のみに力布を設けた場合、着座面側のカバー部分の伸びをコントロールできず、縦方向の縫合部の適切な開裂性、例えば開裂範囲や開裂速度の確保に手間取るおそれがあった。更に上記した構成では、縦方向の縫合部の開裂性をより適切に確保する観点から、横方向の縫合部(第二縫合ライン)の開裂性をもコントロールできることが望ましい。本発明は上述の点に鑑みて創案されたものであり、本発明が解決しようとする課題は、エアバッグの飛び出し箇所となるシートカバーのバースト部を、その開裂性をより適切に確保しつつ、交差する二つの縫合ラインで形成することにある。
【課題を解決するための手段】
【0006】
上記課題を解決するための手段として、第1発明の乗物用シートでは、背もたれとなるシートバックが、シート外面をなすシートカバーと、シートカバーのシート内側に保持されたエアバッグとを備えている。そしてエアバッグは、シートカバーの縫合箇所で形成されたバースト部が解放されることで、シート着座側に飛び出すように構成されている。本発明のバースト部では、シート上下方向に延びる第一縫合ラインと、第一縫合ラインと交差する方向に延びる第二縫合ラインとが交わっている。この種のシート構成では、エアバッグの飛び出し箇所となるシートカバーのバースト部を、その開裂性をより適切に確保しつつ、交差する二つの縫合ラインで形成することが望ましい。そこで本発明では、第一縫合ラインと第二縫合ラインとによって、バースト部周りのシートカバー部分を複数の区画に分けた場合、エアバッグの飛び出しの際にシートカバーの面方向における伸びを規制する力布が区画毎に設けられている。本発明では、バースト部周りのシートカバー部分に、第一縫合ラインと第二縫合ラインとによって分けられた複数の区画を設定し、この複数の区画全てに力布が設けられている。これにより、バースト部周りのシートカバー部分の伸びを区画毎にコントロールすることが可能となり、各縫合ラインの適所をより確実に開裂させられるようになる。
【0007】
第2発明の乗物用シートは、第1発明の乗物用シートにおいて、バースト部周りのシートカバー部分には、一つの区画内で伸びが面方向に伝播する第一の伸び領域と、第二縫合ラインを境として上下に分けられた二つの区画に跨って伸びが面方向に伝播する第二の伸び領域との少なくとも一つの領域が形成されている。そして第一の伸び領域には、シートカバーの伸びを抑制する抑制部位が少なくとも一つ設けられていると共に、一つの区画内に設けられた力布が、第一縫合ラインと抑制部位間に渡されるように配置されている。また第二の伸び領域には、シートカバーの伸びを抑制する別の抑制部位が設けられていると共に、二つの区画に配置する力布同士が、第一縫合ラインと別の抑制部位間に渡されるように第二縫合ラインを介して連結されて配置されている。本発明では、各区画の力布を、バースト部周りのシートカバー部分に形成される伸び領域の種類に応じて、より適切に配置できるようになる。
【0008】
第3発明の乗物用シートは、第2発明の乗物用シートにおいて、第一の伸び領域には、線的に形成された抑制部位が、第二縫合ラインに沿って設けられている。本発明では、第一の伸び領域に配置された力布を、第一縫合ラインと、第二縫合ライン上の抑制部位間に渡せるようになる。
【0009】
第4発明の乗物用シートは、第1発明~第3発明のいずれかの乗物用シートにおいて、第二縫合ラインには、その開放を抑制するように補強する補強部が設けられている。本発明では、補強部の働きによって、第二縫合ラインの開裂性をコントロール、例えば開裂範囲を制限することにより、第一縫合ラインの開裂性を一層適切に確保できるようになる。
【発明の効果】
【0010】
本発明に係る第1発明によれば、エアバッグの飛び出し箇所となるシートカバーのバースト部を、その開裂性をより適切に確保しつつ、交差する二つの縫合ラインで形成することができる。また第2発明によれば、バースト部の開裂性を、その周囲のシートカバーの伸びを考慮しつつ確保することができる。また第3発明によれば、バースト部の開裂性を更に適切に確保することができる。そして第4発明によれば、バースト部の開裂性を一層適切に確保することができる。
【図面の簡単な説明】
(【0011】以降は省略されています)
この特許をJ-PlatPat(特許庁公式サイト)で参照する
関連特許
トヨタ紡織株式会社
乗物用シート
20日前
トヨタ紡織株式会社
搬送システム
9日前
トヨタ紡織株式会社
乗物用シート
20日前
トヨタ紡織株式会社
ロックシステム
6日前
トヨタ紡織株式会社
乗物用照明装置
19日前
トヨタ紡織株式会社
燃料電池の単セル
20日前
トヨタ紡織株式会社
ロータの製造装置
7日前
トヨタ紡織株式会社
燃料電池システム
9日前
トヨタ紡織株式会社
乗物用シート装置
今日
トヨタ紡織株式会社
燃料電池スタック
19日前
トヨタ紡織株式会社
シート制御システム
22日前
トヨタ紡織株式会社
コネクタ及び二次電池
6日前
トヨタ紡織株式会社
配車装置およびプログラム
9日前
トヨタ紡織株式会社
乗物用シートのアームレスト
8日前
豊田合成株式会社
車両用投影装置
14日前
豊田合成株式会社
車両用照明装置
14日前
トヨタ紡織株式会社
車両用ヘッドレスト及び車両用シート
今日
トヨタ紡織株式会社
シートパッド及びシートパッドの成形型
7日前
トヨタ紡織株式会社
繊維状複合体及びその製造方法並びに粉体
27日前
トヨタ紡織株式会社
熱可塑性樹脂組成物及びその製造方法並びに成形体
27日前
株式会社ハイレックスコーポレーション
ケーブル連結機構
1日前
トヨタ紡織株式会社
パーティション装置、パーティションシステム、及び制御装置
19日前
トヨタ紡織株式会社
燃料電池用セパレータの製造装置及び燃料電池用セパレータの製造方法
20日前
個人
タイヤレバー
3か月前
個人
前輪キャスター
2か月前
個人
上部一体型自動車
1か月前
個人
空間形成装置
6日前
個人
ルーフ付きトライク
2か月前
個人
タイヤ脱落防止構造
2か月前
個人
車両通過構造物
3か月前
日本精機株式会社
表示装置
3か月前
個人
マスタシリンダ
1か月前
日本精機株式会社
表示装置
3か月前
日本精機株式会社
照明装置
1日前
日本精機株式会社
表示装置
3か月前
日本精機株式会社
表示装置
2か月前
続きを見る
他の特許を見る