TOP
|
特許
|
意匠
|
商標
特許ウォッチ
Twitter
他の特許を見る
10個以上の画像は省略されています。
公開番号
2025163831
公報種別
公開特許公報(A)
公開日
2025-10-30
出願番号
2024067380
出願日
2024-04-18
発明の名称
コネクタ及び二次電池
出願人
トヨタ紡織株式会社
代理人
弁理士法人グランダム特許事務所
主分類
H01M
50/588 20210101AFI20251023BHJP(基本的電気素子)
要約
【課題】正極タブと負極タブが、正規の接続対象とは異なるタブと接触するのを防止する。
【解決手段】コネクタ32は、外周縁から正極タブ13と負極タブ14を突出させた複数の偏平形状のバッテリーセル10を積層した二次電池Aに取り付けられ、バッテリーセル10の積層方向に隣り合う正極タブ13と負極タブ14とを直列接続するためのコネクタ32であって、接続対象である正極タブ13と負極タブ14を収容する複数のハウジング33と、ハウジング33に収容された状態で正極タブ13と負極タブ14とに接触する導通部材44とを備え、ハウジング33は、積層方向に隣り合う他のハウジング33との間を仕切る絶縁性の隔壁38を有している。
【選択図】図7
特許請求の範囲
【請求項1】
外周縁から正極タブと負極タブを突出させた複数の偏平形状のバッテリーセルを積層した二次電池に取り付けられ、前記バッテリーセルの積層方向に隣り合う前記正極タブと前記負極タブとを直列接続するためのコネクタであって、
接続対象である前記正極タブと前記負極タブを収容する複数のハウジングと、
前記ハウジングに収容された状態で前記正極タブと前記負極タブとに接触する導通部材とを備え、
前記ハウジングは、前記積層方向に隣り合う他の前記ハウジングとの間を仕切る絶縁性の隔壁を有しているコネクタ。
続きを表示(約 1,400 文字)
【請求項2】
前記ハウジングは、前記バッテリーセルが積層されていない状態において、前記正極タブと前記負極タブのうち少なくとも一方を包囲可能である請求項1に記載のコネクタ。
【請求項3】
前記ハウジングは、
前記正極タブのみを収容する正極用キャップと、
前記正極用キャップとは別体の部品であって、前記負極タブのみを収容する負極用キャップとを積層して構成されている請求項2に記載のコネクタ。
【請求項4】
前記正極用キャップと前記負極用キャップを積層した状態では、前記導通部材が前記正極タブと前記負極タブとの間に挟まれるように配置され、
前記正極タブと前記負極タブと前記導通部材が、ボルトと雌ネジ部を含む締結部材の締め付けによって固定されている請求項3に記載のコネクタ。
【請求項5】
前記ハウジングは、前記正極タブと前記負極タブと前記導通部材を収容する単一部品であり、
前記ハウジング内には、前記正極タブと前記負極タブと前記導通部材を前記積層方向に並ぶように収容する収容空間が形成され、
前記隔壁は、前記ハウジングの前記積層方向の両端部のうち、いずれか一方の端部のみに配置され、
前記ハウジングの前記積層方向の両端部のうち他方の端部には、前記収容空間に連通する開口部が形成されている請求項1又は請求項2に記載のコネクタ。
【請求項6】
偏平な形状をなし、外周縁から正極タブと負極タブを突出させた状態で積層された複数のバッテリーセルと、
前記バッテリーセルの積層方向に隣り合う前記正極タブと前記負極タブを直列接続するためのコネクタとを備え、
前記コネクタは、
接続対象である前記正極タブと前記負極タブを収容する複数のハウジングと、
前記ハウジングに収容された状態で前記正極タブと前記負極タブとに接触する導通部材とを有し、
前記ハウジングは、前記積層方向に隣り合う他の前記ハウジングとの間を仕切る絶縁性の隔壁を有している二次電池。
【請求項7】
前記バッテリーセルが一枚ずつ載置され、前記複数のバッテリーセルと交互に積層される複数の板状をなす支持部材を備え、
前記支持部材と前記ハウジングには、互いに嵌合することによって、前記ハウジングが前記支持部材から離脱することを防止する離脱防止部が形成されている請求項6に記載の二次電池。
【請求項8】
前記支持部材は、前記バッテリーセルを冷却する機能を有する請求項7に記載の二次電池。
【請求項9】
前記支持部材は、第1支持部材と第2支持部材を含み、
前記第1支持部材には、第1雌ネジ孔と、第1締結孔とが形成され、
前記第2支持部材には、前記第1雌ネジ孔と前記積層方向に隣り合う第2締結孔と、前記第1締結孔と前記積層方向に隣り合う第2雌ネジ孔が形成され、
前記第1雌ネジ孔には、前記第2締結孔に挿通した第1ボルトがねじ込まれ、
前記第2雌ネジ孔には、前記第1締結孔に挿通した第2ボルトがねじ込まれる請求項7又は請求項8に記載の二次電池。
【請求項10】
複数の前記支持部材には、貫通孔が形成され、
前記貫通孔に挿通した長尺ボルトと、前記長尺ボルトにねじ込まれたナットとによって、複数の前記支持部材が積層状態に固定されている請求項7又は請求項8に記載の二次電池。
発明の詳細な説明
【技術分野】
【0001】
本発明は、コネクタ及び二次電池に関するものである。
続きを表示(約 1,700 文字)
【背景技術】
【0002】
特許文献1には、正極タブと負極タブを突出させた複数の電池要素を積層し、正極タブと負極タブを接続することによって構成された直接接続の組電池が開示されている。
【先行技術文献】
【特許文献】
【0003】
特開2012-256605号公報
【発明の概要】
【発明が解決しようとする課題】
【0004】
積層状態では、正極タブと負極タブが、近接して露出した状態で積層方向に並んでいるため、正規の接続対象以外のタブ同士が短絡される虞がある。
【0005】
本開示は上記のような事情に基づいて完成されたものであって、正極タブと負極タブが、正規の接続対象とは異なるタブと接触するのを防止することを目的とする。
【課題を解決するための手段】
【0006】
第1の開示のコネクタは、
外周縁から正極タブと負極タブを突出させた複数の偏平形状のバッテリーセルを積層した二次電池に取り付けられ、前記バッテリーセルの積層方向に隣り合う前記正極タブと前記負極タブとを直列接続するためのコネクタであって、
接続対象である前記正極タブと前記負極タブを収容する複数のハウジングと、
前記ハウジングに収容された状態で前記正極タブと前記負極タブとに接触する導通部材とを備え、
前記ハウジングは、前記積層方向に隣り合う他の前記ハウジングとの間を仕切る絶縁性の隔壁を有している。
【0007】
第2の開示の二次電池は、
偏平な形状をなし、外周縁から正極タブと負極タブを突出させた状態で積層された複数のバッテリーセルと、
前記バッテリーセルの積層方向に隣り合う前記正極タブと前記負極タブを直列接続するためのコネクタとを備え、
前記コネクタは、
接続対象である前記正極タブと前記負極タブを収容する複数のハウジングと、
前記ハウジングに収容された状態で前記正極タブと前記負極タブとに接触する導通部材とを有し、
前記ハウジングは、前記積層方向に隣り合う他の前記ハウジングとの間を仕切る絶縁性の隔壁を有している。
【発明の効果】
【0008】
第1及び第2の開示によれば、正極タブと負極タブが、正規の接続対象とは異なるタブと接触するのを防止することができる。
【図面の簡単な説明】
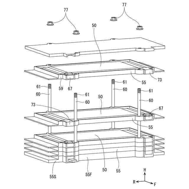
【0009】
実施形態1の二次電池の積層状態を斜め右前方から視た斜視図である。
二次電池の積層工程を斜め右前方から視た斜視図である。
第1支持部材とバッテリーセルとコネクタの分解状態を斜め右前方から視た斜視図である。
第2支持部材とバッテリーセルとコネクタの分解状態を斜め右前方から視た斜視図である。
上下反転させた状態の正極用キャップの斜視図である。
上下反転させた状態の負極用キャップの斜視図である。
二次電池の積層状態をあらわす部分拡大側断面図である。
実施形態2の二次電池の積層状態を斜め右前方から視た斜視図である。
二次電池の積層工程を斜め右前方から視た斜視図である。
正極タブが右側に位置し、負極タブが左側に位置するバッテリーセルと、支持部材と、コネクタの分解状態を斜め右前方から視た斜視図である。
正極タブが左側に位置し、負極タブが右側に位置するバッテリーセルと、支持部材と、コネクタの分解状態を斜め右前方から視た斜視図である。
二次電池の積層状態をあらわす部分拡大側断面図である。
実施形態3の二次電池の積層状態をあらわす部分拡大側断面図である。
正極タブと負極タブと導通部材を収容した状態のコネクタの拡大正断面図である。
ハウジングを斜め右後方から視た斜視図である。
【発明を実施するための形態】
【0010】
ここで、本開示の望ましい形態例を示す。下記の複数の形態例を、矛盾を生じない範囲で任意に組み合わせたものも、発明を実施するための形態に含まれる。
(【0011】以降は省略されています)
この特許をJ-PlatPat(特許庁公式サイト)で参照する
関連特許
トヨタ紡織株式会社
フィルタ
15日前
トヨタ紡織株式会社
複合表皮材
今日
トヨタ紡織株式会社
電動モータ
2日前
トヨタ紡織株式会社
シートバック
1か月前
トヨタ紡織株式会社
シートバック
1か月前
トヨタ紡織株式会社
乗物用シート
1か月前
トヨタ紡織株式会社
振動刺激装置
21日前
トヨタ紡織株式会社
乗物用シート
21日前
トヨタ紡織株式会社
水流帯電装置
15日前
トヨタ紡織株式会社
電界紡糸装置
13日前
トヨタ紡織株式会社
水流帯電装置
今日
トヨタ紡織株式会社
アンカーカバー
14日前
トヨタ紡織株式会社
乗り物用シート
1か月前
トヨタ紡織株式会社
乗り物用シート
1か月前
トヨタ紡織株式会社
シート回転装置
今日
トヨタ紡織株式会社
シートクッション
14日前
トヨタ紡織株式会社
クッションパッド
14日前
トヨタ紡織株式会社
燃料電池システム
15日前
トヨタ紡織株式会社
乗物用シート装置
1か月前
トヨタ紡織株式会社
乗物用シート装置
1か月前
トヨタ紡織株式会社
シートカーペット
8日前
トヨタ紡織株式会社
表皮材及び内装部品
13日前
トヨタ紡織株式会社
表皮材及び内装部品
13日前
トヨタ紡織株式会社
パーソナルブース装置
21日前
トヨタ紡織株式会社
モータコアの製造方法
13日前
トヨタ紡織株式会社
パーソナルブース装置
21日前
トヨタ紡織株式会社
シート用パーティション
6日前
トヨタ紡織株式会社
材料、及び材料の製造方法
6日前
トヨタ紡織株式会社
シートリクライニング装置
1日前
トヨタ紡織株式会社
情報処理装置およびプログラム
1日前
トヨタ紡織株式会社
車両用ヘッドレスト及び車両用シート
1か月前
トヨタ紡織株式会社
情報処理装置、移動体およびプログラム
1日前
トヨタ紡織株式会社
シートパッド及びシートパッドの成形型
13日前
トヨタ紡織株式会社
乗物用内装材及び乗物用内装材の製造方法
15日前
トヨタ紡織株式会社
担持粒子、混合物、及び担持粒子の製造方法
6日前
トヨタ紡織株式会社
乗り物酔い防止装置、及び乗り物酔い防止方法
21日前
続きを見る
他の特許を見る