TOP
|
特許
|
意匠
|
商標
特許ウォッチ
Twitter
他の特許を見る
公開番号
2025180439
公報種別
公開特許公報(A)
公開日
2025-12-11
出願番号
2024087777
出願日
2024-05-30
発明の名称
水流帯電装置
出願人
トヨタ紡織株式会社
代理人
個人
,
個人
主分類
B03C
3/155 20060101AFI20251204BHJP(液体による,または,風力テーブルまたはジグによる固体物質の分離;固体物質または流体から固体物質の磁気または静電気による分離,高圧電界による分離)
要約
【課題】濾材の帯電性能を高めることのできる水流帯電装置を提供すること。
【解決手段】搬送部20は、濾材11を搬送し、通水性を有する。ガイド部30は、搬送部20の上方に位置し、ガイド本体31及びガイド孔32を有する。供給部40は、ガイド部30の上方に位置し、ガイド孔32の第1開口部321に対して水を噴射するノズル41を有する。吸引部50は、搬送部20の下方に位置し、吸引通路60を有する通路構成部51及び吸引通路60を通じて水を吸引する吸引装置を有する。通路構成部51は、搬送部20の下面に対向する対向面63及び対向面63に開口するとともに上下方向に貫通する吸引孔64を有する頂部61と、吸引孔64に連通するとともに下方に延在する通路本体65を有する本体部62と、を含む。ガイド孔32の下側の開口である第2開口部322は吸引孔64に向けて開口する。
【選択図】図3
特許請求の範囲
【請求項1】
濾材を帯電させる水流帯電装置であって、
前記濾材を下方から支持しながら搬送する通水性の搬送部と、
前記搬送部の上方に位置し、下面が前記搬送部の上面に沿って延びるガイド本体及び前記ガイド本体を上下方向に貫通するガイド孔を有するガイド部と、
前記ガイド部の上方に位置し、前記ガイド孔の上側の開口である第1開口部に対して水を噴射するノズルを有する供給部と、
前記搬送部の下方に位置し、上方に開口するとともに下方に延在する部分を含む吸引通路を有する通路構成部及び前記吸引通路を通じて前記水を吸引する吸引装置を有する吸引部と、を備え、
前記通路構成部は、
前記搬送部の下面に対向する対向面及び前記対向面に開口するとともに上下方向に貫通する吸引孔を有する頂部と、
前記吸引孔に連通するとともに下方に延在する通路本体を有する本体部と、を含み、
前記ガイド孔の下側の開口である第2開口部は前記吸引孔に向けて開口している、
水流帯電装置。
続きを表示(約 410 文字)
【請求項2】
前記ガイド孔の下側部分は、同一断面形状で真っ直ぐ延びている、
請求項1に記載の水流帯電装置。
【請求項3】
前記吸引通路の上側部分は、同一断面形状で上下方向に真っ直ぐ延びている、
請求項2に記載の水流帯電装置。
【請求項4】
上方から見たとき、前記ガイド孔の前記第2開口部は、前記吸引孔の上側の開口である第3開口部に含まれている、
請求項1~3のいずれか一項に記載の水流帯電装置。
【請求項5】
上方から見たとき、前記ガイド孔の前記第2開口部の縁と前記吸引孔の上側の開口である第3開口部の縁とが一致している、
請求項1~3のいずれか一項に記載の水流帯電装置。
【請求項6】
前記ガイド孔の上側の端部は、上端に向けて先太りする形状をなしている、
請求項1~3のいずれか一項に記載の水流帯電装置。
発明の詳細な説明
【技術分野】
【0001】
本発明は、水流帯電装置に関するものである。
続きを表示(約 2,000 文字)
【背景技術】
【0002】
従来、濾過装置に設けられる濾材(例えば、不織布)のダスト捕集効率を高めるために、同濾材を帯電させる水流帯電装置が提案されている(例えば、特許文献1参照)。
特許文献1には、水流帯電装置として、搬送コンベアなどの搬送部によって搬送される濾材に対してノズルから水を吹き付ける装置が記載されている。また特許文献1には、水に浸された状態の濾材の下方に設けられた吸引部(詳しくは、スリット状をなす吸引孔)を介して水を吸引する水流帯電装置が記載されている。いずれの装置においても、濾材の内部を水が通過する際に発生する静電気を利用して、同濾材が帯電される。
【先行技術文献】
【特許文献】
【0003】
特開2005-131485号公報
【発明の概要】
【発明が解決しようとする課題】
【0004】
濾材の帯電度合を高めるためには、濾材の内部を通過する水の流速を高めることが好ましい。しかしながら、水の流速を高めるために吸引装置の真空度の絶対値を大きくすることには限界がある。また、真空度の絶対値の大きい吸引装置を採用すると、吸引装置の大型化などの新たな問題が生じる。
【課題を解決するための手段】
【0005】
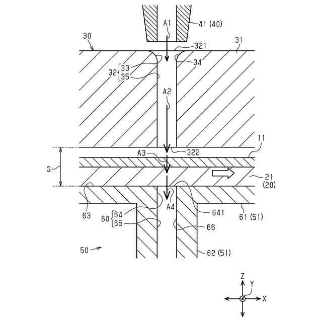
上記課題を解決するための水流帯電装置は、濾材を帯電させる水流帯電装置であって、前記濾材を下方から支持しながら搬送する通水性の搬送部と、前記搬送部の上方に位置し、下面が前記搬送部の上面に沿って延びるガイド本体及び前記ガイド本体を上下方向に貫通するガイド孔を有するガイド部と、前記ガイド部の上方に位置し、前記ガイド孔の上側の開口である第1開口部に対して水を噴射するノズルを有する供給部と、前記搬送部の下方に位置し、上方に開口するとともに下方に延在する部分を含む吸引通路を有する通路構成部及び前記吸引通路を通じて前記水を吸引する吸引装置を有する吸引部と、を備え、前記通路構成部は、前記搬送部の下面に対向する対向面及び前記対向面に開口するとともに上下方向に貫通する吸引孔を有する頂部と、前記吸引孔に連通するとともに下方に延在する通路本体を有する本体部と、を含み、前記ガイド孔の下側の開口である第2開口部は前記吸引孔に向けて開口している。
【0006】
上記構成によれば、供給部と搬送部との間に位置するガイド部、詳しくはそのガイド孔により、供給部のノズルから噴射された水を搬送部上の濾材まで整流しつつ案内することができる。しかも、頂部の対向面における吸引孔の周縁部分がガイド部の下面によって覆われた構造になるため、ガイド部が設けられない場合と比較して、吸引孔に対して周囲から水や空気が進入する隙間を狭くすることができる。これにより、吸引部による吸引通路への水の吸引に際して、吸引孔の周囲から同吸引孔に水や空気が不要に吸引されることが抑えられるため、ガイド孔から噴出する水を吸引部の吸引通路に効率よく吸引して流入させることができる。
【0007】
したがって上記構成によれば、ガイド部を利用して、ノズルから噴射された水を、運動エネルギーの減少を抑えながら吸引孔と通路本体とを含む吸引通路まで流すことができる。これにより、濾材を通過する水の流速を高くすることができるため、同濾材の帯電性能を高めることができる。
【図面の簡単な説明】
【0008】
一実施形態に係る水流帯電装置の側面図である。
同実施形態に係るガイド部、搬送部、及び吸引部の分解斜視図である。
同実施形態に係るガイド部、搬送部、及び吸引部を中心とした側断面図である。
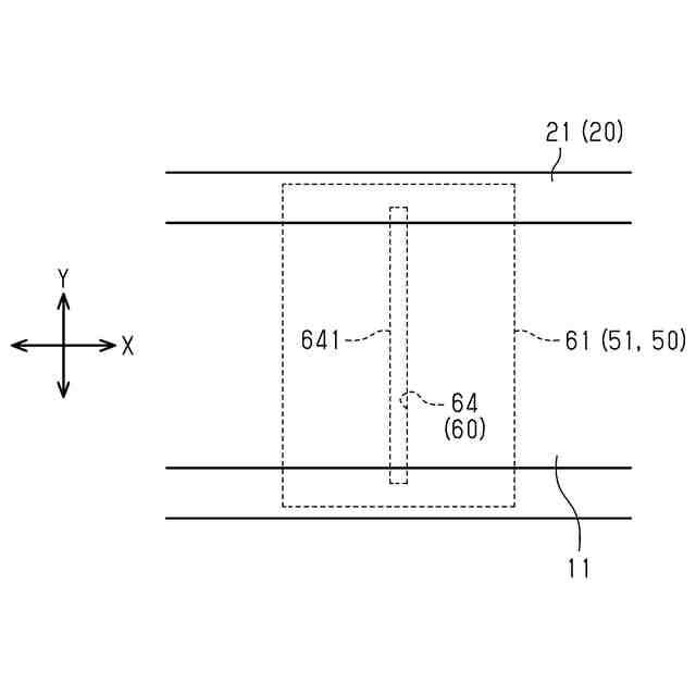
同実施形態に係る搬送部のうち吸引部の直上の部分の平面図である。
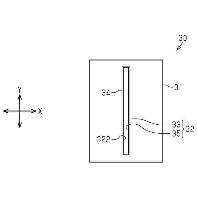
同実施形態に係るガイド部の平面図である。
他の実施形態に係るガイド孔の上端部分の拡大側断面図である。
その他の実施形態に係るガイド孔の上端部分の拡大側断面図である。
他の実施形態に係るガイド部、搬送部、及び吸引部の平面図である。
【発明を実施するための形態】
【0009】
以下、図面を参照して、水流帯電装置の一実施形態について説明する。
図1に示すように、水流帯電装置10は、不織布からなる濾材11を帯電させる装置である。水流帯電装置10は、搬送部20、ガイド部30、供給部40、及び吸引部50を備える。
【0010】
<搬送部20>
図1及び図2に示すように、搬送部20は、濾材11を下方から支持しながら搬送するものである。搬送部20は、通水性を有する。本実施形態の搬送部20は、ベルトコンベア装置の搬送ベルト21により構成されている。
(【0011】以降は省略されています)
この特許をJ-PlatPat(特許庁公式サイト)で参照する
関連特許
トヨタ紡織株式会社
フィルタ
15日前
トヨタ紡織株式会社
複合表皮材
今日
トヨタ紡織株式会社
電動モータ
2日前
トヨタ紡織株式会社
乗物用シート
1か月前
トヨタ紡織株式会社
水流帯電装置
今日
トヨタ紡織株式会社
水流帯電装置
15日前
トヨタ紡織株式会社
乗物用シート
21日前
トヨタ紡織株式会社
振動刺激装置
21日前
トヨタ紡織株式会社
電界紡糸装置
13日前
トヨタ紡織株式会社
シートバック
1か月前
トヨタ紡織株式会社
シートバック
1か月前
トヨタ紡織株式会社
アンカーカバー
14日前
トヨタ紡織株式会社
乗り物用シート
1か月前
トヨタ紡織株式会社
乗り物用シート
1か月前
トヨタ紡織株式会社
ロックシステム
1か月前
トヨタ紡織株式会社
シート回転装置
今日
トヨタ紡織株式会社
乗物用シート装置
1か月前
トヨタ紡織株式会社
乗物用シート装置
1か月前
トヨタ紡織株式会社
燃料電池システム
15日前
トヨタ紡織株式会社
クッションパッド
14日前
トヨタ紡織株式会社
シートクッション
14日前
トヨタ紡織株式会社
シートカーペット
8日前
トヨタ紡織株式会社
ロータの製造装置
1か月前
トヨタ紡織株式会社
表皮材及び内装部品
13日前
トヨタ紡織株式会社
表皮材及び内装部品
13日前
トヨタ紡織株式会社
パーソナルブース装置
21日前
トヨタ紡織株式会社
パーソナルブース装置
21日前
トヨタ紡織株式会社
コネクタ及び二次電池
1か月前
トヨタ紡織株式会社
モータコアの製造方法
13日前
トヨタ紡織株式会社
シート用パーティション
6日前
トヨタ紡織株式会社
シートリクライニング装置
1日前
トヨタ紡織株式会社
材料、及び材料の製造方法
6日前
トヨタ紡織株式会社
情報処理装置およびプログラム
1日前
トヨタ紡織株式会社
車両用ヘッドレスト及び車両用シート
1か月前
トヨタ紡織株式会社
シートパッド及びシートパッドの成形型
13日前
トヨタ紡織株式会社
情報処理装置、移動体およびプログラム
1日前
続きを見る
他の特許を見る