TOP
|
特許
|
意匠
|
商標
特許ウォッチ
Twitter
他の特許を見る
10個以上の画像は省略されています。
公開番号
2025164327
公報種別
公開特許公報(A)
公開日
2025-10-30
出願番号
2024068199
出願日
2024-04-19
発明の名称
ロックシステム
出願人
トヨタ紡織株式会社
代理人
弁理士法人岡田国際特許事務所
主分類
B60N
2/08 20060101AFI20251023BHJP(車両一般)
要約
【課題】フロアに対してより簡易な構成で対象物の配置位置や向きを変更し固定することが可能なロックシステムを提供する。
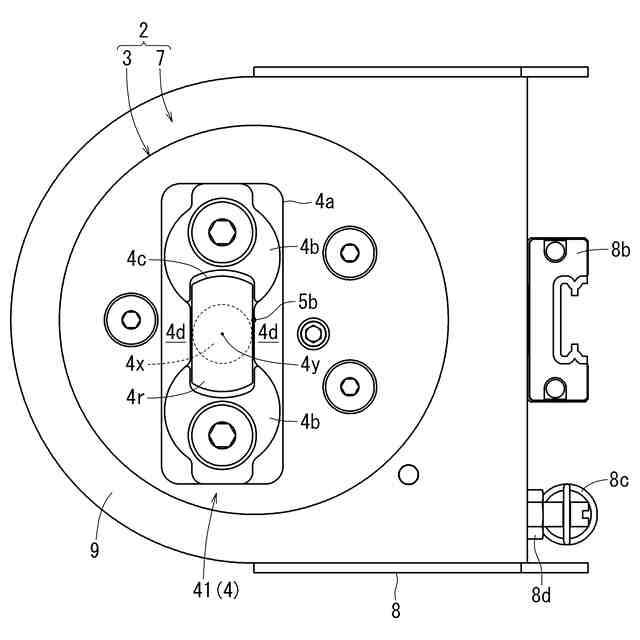
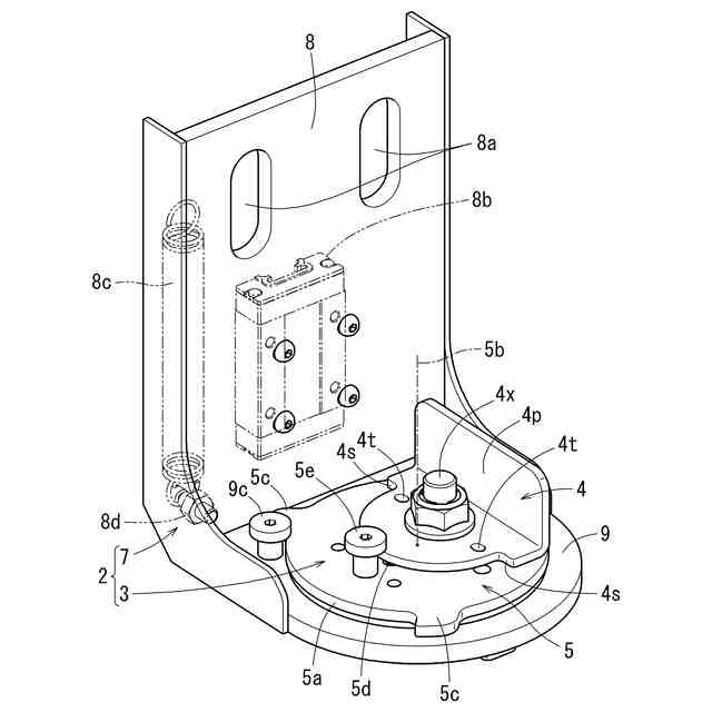
【解決手段】ロックシステム10は、フロア30に沿って延びる第1レール1aと、該第1レール1aとロック可能にシート台座部6に設けられ、第1レール1aに対するロック位置の選択によりシート台座部6のフロア30における位置をレール長さ方向に調節可能なロック部(ロックユニット2)と、該ロック部の解除状態においてシート台座部6をフロア30に対して第1鉛直軸線6cまわりに旋回させる旋回部6aと、フロア30に沿って第1レール1aから離れて延びる第2レール1bと、シート台座部6を第1鉛直軸線6cまわりに旋回させた際のロック部と第2レール1bとの位置ずれをロック可能な位置に補正するロック位置調節部(ロックユニット2)と、を有する。
【選択図】図1
特許請求の範囲
【請求項1】
対象物をフロアにロックするロックシステムであって、
前記フロアに沿って延びる第1レールと、
該第1レールとロック可能に前記対象物に設けられ、前記第1レールに対するロック位置の選択により前記対象物の前記フロアにおける位置をレール長さ方向に調節可能なロック部と、
該ロック部の解除状態において前記対象物を前記フロアに対して第1鉛直軸線まわりに旋回させる旋回部と、
前記フロアに沿って前記第1レールから離れて延びる第2レールと、
前記対象物を前記第1鉛直軸線まわりに旋回させた際の前記ロック部と前記第2レールとの位置ずれをロック可能な位置に補正するロック位置調節部と、を有するロックシステム。
続きを表示(約 530 文字)
【請求項2】
請求項1に記載のロックシステムであって、
前記ロック位置調節部が、前記第1鉛直軸線から離れた第2鉛直軸線まわりに回転するターンテーブルを有し、該ターンテーブルの前記第2鉛直軸線から偏心した位置に前記ロック部が取り付けられることで、前記ターンテーブルの回転に伴い前記ロック部の前記対象物に対する向きと前記第1鉛直軸線からの距離とを調節するロックシステム。
【請求項3】
請求項1又は請求項2に記載のロックシステムであって、
前記第1レールと前記第2レールとが、前記ロック部を、レール長さ方向に延びる向きでレール上方から嵌合させると共に、レール内部で第3鉛直軸線まわりに回転したロック片を引掛けてロックさせる互いに同一のレール構造を有し、
前記ロック位置調節部が、前記ロック部の前記対象物に対する向きと前記第1鉛直軸線からの距離とを調節するロックシステム。
【請求項4】
請求項3に記載のロックシステムであって、
前記第1レールと前記第2レールとが、互いに平行に延びると共に、前記ロック部を、レール長さ方向に互いに同じ一定の間隔でロックできるようになっているロックシステム。
発明の詳細な説明
【技術分野】
【0001】
本発明は、対象物をフロアにロックするロックシステムに関する。
続きを表示(約 1,500 文字)
【背景技術】
【0002】
従来、シート等の対象物をフロアにロックする技術が知られている。例えば特許文献1では、シートの配置位置や向きを変更し乗物内フロアに固定する技術が開示されている。具体的には、車両の側壁にレールを敷設し、当該レールに対してシートを片持ち状に取り付ける。当該シートは、側壁に沿ってスライド移動可能となる。また、シートを旋回して向きを変えられるように回転支持台が備えられている。
【0003】
ロックシステムとしては、シートがスライド移動しないように固定するためのロック装置(案内レール40の位置決め孔48やロックピン49)と、シートが旋回しないように固定するためのロック装置(回転支持台6における内輪60の係止溝62やストッパピン91)がそれぞれ設けられている。
【先行技術文献】
【特許文献】
【0004】
特開2021-008219号公報
【発明の概要】
【発明が解決しようとする課題】
【0005】
しかしながら、特許文献1に開示された技術では、スライド移動に対するロック装置と、旋回に対するロック装置が異なるため、構造が複雑になるという課題があった。そこで、本発明は、フロアに対してより簡易な構成で対象物の配置位置や向きを変更し固定することが可能なロックシステムを提供することを目的とする。
【課題を解決するための手段】
【0006】
上記課題を解決する手段として、本発明のロックシステムは、次の手段をとる。
【0007】
すなわち、本発明の第1の発明は、対象物をフロアにロックするロックシステムであって、前記フロアに沿って延びる第1レールと、該第1レールとロック可能に前記対象物に設けられ、前記第1レールに対するロック位置の選択により前記対象物の前記フロアにおける位置をレール長さ方向に調節可能なロック部と、該ロック部の解除状態において前記対象物を前記フロアに対して第1鉛直軸線まわりに旋回させる旋回部と、前記フロアに沿って前記第1レールから離れて延びる第2レールと、前記対象物を前記第1鉛直軸線まわりに旋回させた際の前記ロック部と前記第2レールとの位置ずれをロック可能な位置に補正するロック位置調節部と、を有するロックシステムである。
【0008】
第1の発明によれば、対象物を第1レールに沿ってスライド移動できるとともに旋回することができる。また、第1レールへのロックに用いられるロック部は、第2レールに対するロックにおいて共用され、第2レールに対して生じ得るロック部の位置ずれはロック位置調節部により補正される。これにより、フロアに対してより簡易な構成で対象物の配置位置や向きを変更し固定することが可能となる。
【0009】
本発明の第2の発明は、上記第1の発明において、前記ロック位置調節部が、前記第1鉛直軸線から離れた第2鉛直軸線まわりに回転するターンテーブルを有し、該ターンテーブルの前記第2鉛直軸線から偏心した位置に前記ロック部が取り付けられることで、前記ターンテーブルの回転に伴い前記ロック部の前記対象物に対する向きと前記第1鉛直軸線からの距離とを調節するロックシステムである。
【0010】
第2の発明によれば、ロック部の向きの調節と距離の調節を同時に行うので、例えば、まずターンテーブルによってロック部の向きだけを調節し、次に距離の調節を行うべく当該ターンテーブルをスライドするような構成と比較して、ロック位置調節部の機構をより簡素なものとすることができる。
(【0011】以降は省略されています)
この特許をJ-PlatPat(特許庁公式サイト)で参照する
関連特許
トヨタ紡織株式会社
シートバック
15日前
トヨタ紡織株式会社
乗物用シート
2日前
トヨタ紡織株式会社
振動刺激装置
2日前
トヨタ紡織株式会社
乗物用シート
15日前
トヨタ紡織株式会社
シートバック
15日前
トヨタ紡織株式会社
乗り物用シート
16日前
トヨタ紡織株式会社
ロックシステム
23日前
トヨタ紡織株式会社
乗り物用シート
16日前
トヨタ紡織株式会社
乗物用シート装置
17日前
トヨタ紡織株式会社
乗物用シート装置
15日前
トヨタ紡織株式会社
コネクタ及び二次電池
23日前
トヨタ紡織株式会社
パーソナルブース装置
2日前
トヨタ紡織株式会社
パーソナルブース装置
2日前
トヨタ紡織株式会社
車両用ヘッドレスト及び車両用シート
17日前
トヨタ紡織株式会社
乗り物酔い防止装置、及び乗り物酔い防止方法
2日前
トヨタ紡織株式会社
情報処理装置、情報処理方法、及び情報処理プログラム
2日前
株式会社ハイレックスコーポレーション
ケーブル連結機構
18日前
個人
タイヤレバー
3か月前
個人
前輪キャスター
2か月前
個人
上部一体型自動車
1か月前
個人
タイヤ脱落防止構造
2か月前
個人
ホイルのボルト締結
4か月前
個人
空間形成装置
23日前
個人
ルーフ付きトライク
3か月前
日本精機株式会社
照明装置
18日前
日本精機株式会社
表示装置
3か月前
日本精機株式会社
表示装置
3か月前
日本精機株式会社
表示装置
3か月前
個人
マスタシリンダ
1か月前
日本精機株式会社
表示装置
3か月前
個人
車両通過構造物
3か月前
個人
乗合路線バスの客室装置
4か月前
個人
常設収納型サンバイザー
29日前
個人
アクセルのソフトウェア
4か月前
日本精機株式会社
車室演出装置
2か月前
個人
車載小物入れ兼雨傘収納具
4か月前
続きを見る
他の特許を見る