TOP
|
特許
|
意匠
|
商標
特許ウォッチ
Twitter
他の特許を見る
10個以上の画像は省略されています。
公開番号
2025165253
公報種別
公開特許公報(A)
公開日
2025-11-04
出願番号
2024069256
出願日
2024-04-22
発明の名称
ケーブル連結機構
出願人
株式会社ハイレックスコーポレーション
,
トヨタ紡織株式会社
代理人
弁理士法人朝日奈特許事務所
主分類
F16C
1/14 20060101AFI20251027BHJP(機械要素または単位;機械または装置の効果的機能を生じ維持するための一般的手段)
要約
【課題】本発明は、プーリに接続された入力ケーブルが座屈することを抑制するケーブル連結機構の提供を目的とする。
【解決手段】ケーブル連結機構1は、ケーシング2と、ケーシング2に回転可能に取り付けられたプーリ3と、プーリ3の第1係合部E1に一端4aが接続された入力ケーブル4と、プーリ3の第2係合部E2に一端5aが接続された出力ケーブル5とを備え、プーリ3の第1係合部E1は、入力ケーブル4が初期位置から作動位置へと移動する際には、入力ケーブル4の一端4aと係合し、入力ケーブル4が作動位置から初期位置へと移動する際には、入力ケーブル4の一端4aが第1係合部E1から離れる方向の移動を許容するように構成され、ケーシング2が、入力ケーブル4の一端4aが第1係合部E1から離れる方向へ移動する際に移動可能な退避空間SPを有している。
【選択図】図8
特許請求の範囲
【請求項1】
ケーシングと、
前記ケーシングに回転可能に取り付けられたプーリと、
前記プーリの第1係合部に一端が接続された入力ケーブルと、
前記プーリの第2係合部に一端が接続され、前記プーリを介して前記入力ケーブルと連動して動作する出力ケーブルとを備え、
前記プーリの前記第1係合部は、前記入力ケーブルが初期位置から作動位置へと移動する際には、前記入力ケーブルの前記一端と係合し、前記入力ケーブルが前記作動位置から前記初期位置へと移動する際には、前記入力ケーブルの前記一端が前記第1係合部から離れる方向の移動を許容するように構成され、
前記ケーシングが、前記入力ケーブルの前記一端が前記第1係合部から離れる方向へ移動する際に移動可能な退避空間を有している、
ケーブル連結機構。
続きを表示(約 470 文字)
【請求項2】
前記退避空間が、前記プーリの外周に対して、前記プーリの径方向外側に設けられている、請求項1に記載のケーブル連結機構。
【請求項3】
前記ケーシングが、
前記入力ケーブルが前記作動位置から前記初期位置へと移動して、前記入力ケーブルの前記一端が前記第1係合部から離れる方向に移動する際に、前記入力ケーブルの前記一端が移動する方向を、前記退避空間に向かって方向転換させるための案内面を有している、
請求項1に記載のケーブル連結機構。
【請求項4】
前記ケーブル連結機構がさらに、
前記プーリの第3係合部に一端が接続され、前記プーリを介して前記入力ケーブルと連動して動作する第2出力ケーブル
を備え、
前記出力ケーブルは、前記ケーシングに対して、前記入力ケーブルの導出方向とは反対方向に導出され、
前記第2出力ケーブルは、前記ケーシングに対して、前記入力ケーブルの導出方向と同方向に導出されている、
請求項1に記載のケーブル連結機構。
発明の詳細な説明
【技術分野】
【0001】
本発明はケーブル連結機構に関する。
続きを表示(約 1,900 文字)
【背景技術】
【0002】
特許文献1には、ケーブル操作機構として、ハウジング内に回転可能に設けられたプーリと、プーリに接続された複数のケーブルを有するものが開示されている。
【0003】
この特許文献1のケーブル操作機構においては、プーリに取り付けられた1つの入力ケーブルによって、プーリに取り付けられた2本の出力ケーブルが操作されるように構成されている。入力ケーブルのケーブルエンドは、プーリの端面に設けられたケーブルエンド固定部に固定されている。
【先行技術文献】
【特許文献】
【0004】
独国特許出願公開第102008034770号明細書
【発明の概要】
【発明が解決しようとする課題】
【0005】
上記のようなケーブル操作機構において、操作部の操作により入力ケーブルが操作されて、プーリが初期回転位置から作動回転位置へと回転する。プーリの回転によって、プーリに接続された出力ケーブルがケーブル初期位置からケーブル作動位置へと操作されて、出力ケーブルに接続された被操作部が操作される。入力ケーブルの駆動操作が解除されると、例えば、入力ケーブルを操作するための操作部に設けられたバネ等の付勢部材によって、入力ケーブルは操作前の状態へと戻ろうとする。しかし、このような入力ケーブルの操作解除時に、例えば、被操作部の引っ掛かりなどによって出力ケーブルがケーブル作動位置からケーブル初期位置へと戻ることができず、プーリが作動回転位置から初期回転位置へと戻らない場合がある。上述した被作動部の引っ掛かり以外に、プーリ自体の引っ掛かりなど他の要因によっても、プーリが作動回転位置から初期回転位置に戻らない場合がある。このように、プーリが初期回転位置に戻らない状態で、入力ケーブルが操作前の状態へと戻ると、例えば、入力ケーブルが軸方向に圧縮され、入力ケーブルのうちケーブルエンドに隣接する部位が折れ曲がり、入力ケーブルが座屈してしまう場合がある。
【0006】
そこで、本発明は、プーリに接続された入力ケーブルが座屈することを抑制するケーブル連結機構の提供を目的とする。
【課題を解決するための手段】
【0007】
本発明のケーブル連結機構は、ケーシングと、前記ケーシングに回転可能に取り付けられたプーリと、前記プーリの第1係合部に一端が接続された入力ケーブルと、前記プーリの第2係合部に一端が接続され、前記プーリを介して前記入力ケーブルと連動して動作する出力ケーブルとを備え、前記プーリの前記第1係合部は、前記入力ケーブルが初期位置から作動位置へと移動する際には、前記入力ケーブルの前記一端と係合し、前記入力ケーブルが前記作動位置から前記初期位置へと移動する際には、前記入力ケーブルの前記一端が前記第1係合部から離れる方向の移動を許容するように構成され、前記ケーシングが、前記入力ケーブルの前記一端が前記第1係合部から離れる方向へ移動する際に移動可能な退避空間を有している。
【発明の効果】
【0008】
本発明のケーブル連結機構によれば、プーリに接続された入力ケーブルが座屈することを抑制することができる。
【図面の簡単な説明】
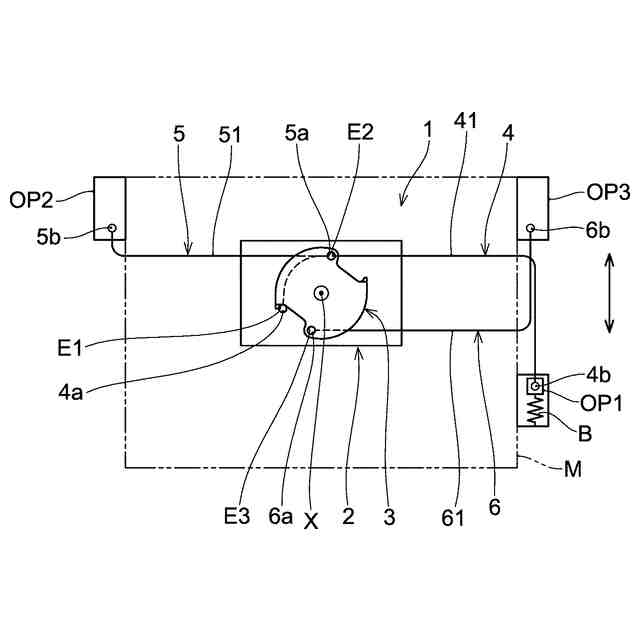
【0009】
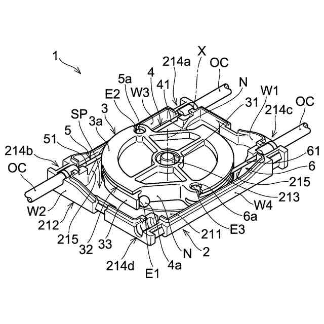
本発明の一実施形態のケーブル連結機構が取付対象に取り付けられている状態を示す概略図である。
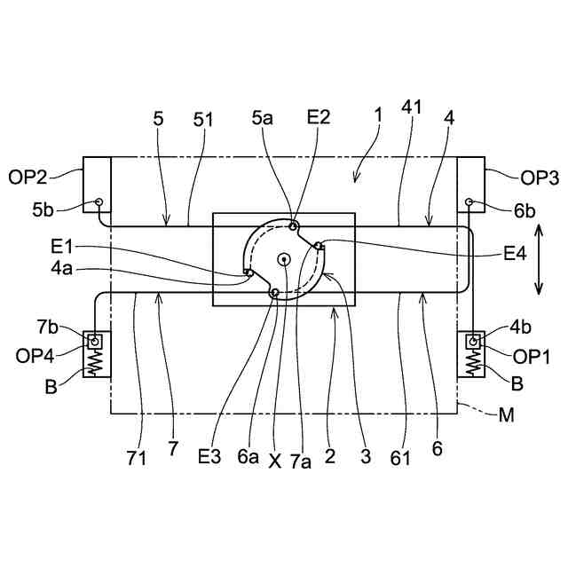
本発明の他の実施形態のケーブル連結機構が取付対象に取り付けられている状態を示す概略図である。
本発明の一実施形態のケーブル連結機構の分解斜視図である。
本発明の一実施形態のケーブル連結機構の斜視図である。
本発明の一実施形態のケーブル連結機構に用いられるプーリの側面図である。
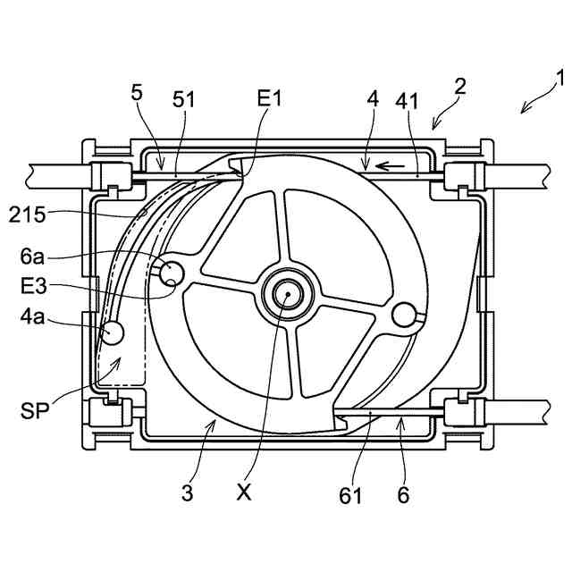
入力ケーブルが初期位置にあるときの、ケーブル連結機構の上面図である。
入力ケーブルが作動位置にあるときの、ケーブル連結機構の上面図である。
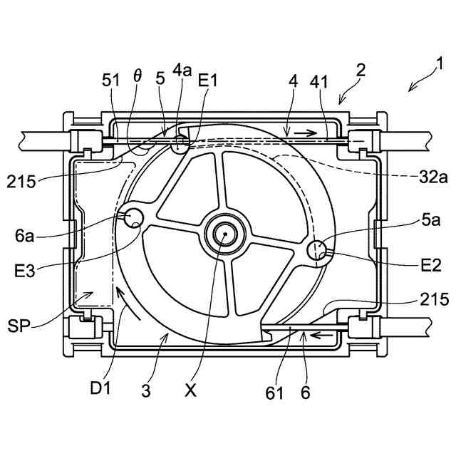
プーリが作動位置にあるときに、入力ケーブルの一端が第1係合部から離れる方向に移動した状態を示す、ケーブル連結機構の上面図である。
変形例のケーブル連結機構の上面図である。
【発明を実施するための形態】
【0010】
以下、図面を参照し、本発明の一実施形態のケーブル連結機構を説明する。なお、以下に示す実施形態はあくまで一例であり、本発明のケーブル連結機構は、以下の実施形態に限定されるものではない。
(【0011】以降は省略されています)
この特許をJ-PlatPat(特許庁公式サイト)で参照する
関連特許
個人
留め具
1か月前
個人
鍋虫ねじ
3か月前
個人
回転伝達機構
4か月前
個人
紛体用仕切弁
3か月前
個人
差動歯車用歯形
5か月前
個人
ジョイント
2か月前
個人
給排気装置
2か月前
株式会社不二工機
電磁弁
5か月前
個人
地震の揺れ回避装置
4か月前
個人
ナット
2か月前
個人
ナット
1か月前
株式会社不二工機
電磁弁
6か月前
個人
ゲート弁バルブ
17日前
個人
吐出量監視装置
3か月前
カヤバ株式会社
緩衝器
2か月前
カヤバ株式会社
ダンパ
5か月前
カヤバ株式会社
緩衝器
5か月前
カヤバ株式会社
緩衝器
5か月前
カヤバ株式会社
ダンパ
5か月前
兼工業株式会社
バルブ
1か月前
柿沼金属精機株式会社
分岐管
3か月前
株式会社ニフコ
クリップ
2か月前
株式会社ノーリツ
分配弁
7か月前
株式会社フジキン
ボールバルブ
6か月前
株式会社タカギ
水栓装置
4か月前
株式会社奥村組
制振機構
2か月前
株式会社奥村組
制振機構
2か月前
株式会社不二工機
電動弁
2か月前
株式会社ノーリツ
分配弁
7か月前
株式会社ノーリツ
分配弁
7か月前
株式会社不二工機
電磁弁
3か月前
株式会社ノーリツ
分配弁
2か月前
アズビル株式会社
回転弁
2か月前
個人
固着具と固着具の固定方法
6か月前
株式会社ニフコ
クリップ
17日前
株式会社三五
ドライブシャフト
1か月前
続きを見る
他の特許を見る