TOP
|
特許
|
意匠
|
商標
特許ウォッチ
Twitter
他の特許を見る
公開番号
2025165495
公報種別
公開特許公報(A)
公開日
2025-11-05
出願番号
2024069560
出願日
2024-04-23
発明の名称
車両用ヘッドレスト及び車両用シート
出願人
トヨタ紡織株式会社
代理人
弁理士法人岡田国際特許事務所
主分類
B60N
2/809 20180101AFI20251028BHJP(車両一般)
要約
【課題】簡潔な構造で、シートバックを前に折り畳んだとき、ヘッドレストがシートクッションと干渉するのを防止することができるヘッドレスト及びシートを提供する。
【解決手段】センタヘッドレスト10は、ヘッドレストステー12と、ヘッドレストステー12の一端部側に配設されたヘッドレストパッド13と、を有する。ヘッドレストステー12の他端部側がシートバック4に対して上下方向にスライド可能に支持されている。センタヘッドレスト10を最下位置に配置してシートバック4を前に折り畳んでいくとヘッドレストパッド13がシートクッション5に当接して移動が止められ、センタヘッドレスト10を最上位置に配置してシートバック4を前に折り畳んでいくとシートバック4がシートクッション5に当接して移動が止められるようにヘッドレストステー12の長さが設定されている。
【選択図】図4
特許請求の範囲
【請求項1】
車両用ヘッドレストは、シートバックを前に折り畳んでシートクッションに重ね合わせ状にできる車両用シートに取付けられるヘッドレストであって、
骨格をなすヘッドレストステーと、該ヘッドレストステーの一端部側に配設されたクッション体と、を有し、
前記シートバックが前記シートクッションに対し起立した状態で、前記ヘッドレストステーの他端部側が前記シートバックに対して上下方向にスライド可能に支持されており、
前記ヘッドレストを最下位置に配置して前記シートバックを前に折り畳んでいくと前記クッション体が前記シートクッションに当接して移動が止められ、前記ヘッドレストを最上位置に配置して前記シートバックを前に折り畳んでいくと前記シートバックが前記シートクッションに当接して移動が止められるように前記ヘッドレストステーの長さが設定されている車両用ヘッドレスト。
続きを表示(約 240 文字)
【請求項2】
請求項1に記載の車両用ヘッドレストが取付けられた車両用シートであって、
該車両用シートは、自動車の後部側座席であって6:4分割タイプのシートにおける2人掛けが可能な6側シートであり、
該6側シートは、センタ側のセンタシートにおけるシートクッションの上面が、サイド側のサイドシートにおけるシートクッションの上面より上方向に盛り上がって形成されており、
前記車両用ヘッドレストは、前記センタシートに取付けられている車両用シート。
発明の詳細な説明
【技術分野】
【0001】
本発明は、車両用ヘッドレスト及び車両用シートに関する。
続きを表示(約 2,200 文字)
【背景技術】
【0002】
従来、車両用シートにあっては、シートバックを前に折り畳んでシートクッションに重ね合わせ状にできるものがある。かかる車両用シートにおいては、シートバックを前に折り畳んだときヘッドレストがシートクッションと干渉するとシートバックの背面を水平に近づけることが難しく、荷物を載置する床面が傾くことになり、荷物の積載性が悪くなるという問題がある。この問題に対処するため、特許文献1に記載される車両用シートにおいては、ヘッドレストを前方に倒した状態でシートバックの背面方向に移動させることができるヘッドレストの取付構造を採用している。
【先行技術文献】
【特許文献】
【0003】
特許第6377986号公報
【発明の概要】
【発明が解決しようとする課題】
【0004】
特許文献1に記載された車両用シートにおいては、ヘッドレストを前方に倒した状態でシートバックの背面方向に移動させることができるようにするために、複雑なヘッドレストの取付構造を必要としていた。具体的には、ヘッドレストの取付構造は、ヘッドレストステーの側部に形成されたスライド凹部と、ヘッドレストステーを支持するサポートブラケットと、サポートブラケットに設けられた係脱ピンと、サポートブラケットを通過させるスリットと、を有するものである。そこで、簡潔な構造で、シートバックを前に折り畳んだときヘッドレストがシートクッションと干渉するのを防止することができるヘッドレスト及び車両用シートの提供が望まれていた。
【0005】
このような要請に鑑み本発明の課題は、簡潔な構造で、シートバックを前に折り畳んだときヘッドレストがシートクッションと干渉するのを防止することができる車両用ヘッドレスト及び車両用シートを提供することである。
【課題を解決するための手段】
【0006】
本発明の第1発明は、車両用ヘッドレストは、シートバックを前に折り畳んでシートクッションに重ね合わせ状にできる車両用シートに取付けられるヘッドレストであって、骨格をなすヘッドレストステーと、該ヘッドレストステーの一端部側に配設されたクッション体と、を有し、前記シートバックが前記シートクッションに対し起立した状態で、前記ヘッドレストステーの他端部側が前記シートバックに対して上下方向にスライド可能に支持されており、前記ヘッドレストを最下位置に配置して前記シートバックを前に折り畳んでいくと前記クッション体が前記シートクッションに当接して移動が止められ、前記ヘッドレストを最上位置に配置して前記シートバックを前に折り畳んでいくと前記シートバックが前記シートクッションに当接して移動が止められるように前記ヘッドレストステーの長さが設定されていることを特徴とする。
【0007】
第1発明によれば、シートバックを前に折り畳んでシートクッションに重ね合わせ状にしたとき、車両用ヘッドレストがシートクッションと干渉するのを防止するのに、ヘッドレストステーの長さを適正なものとするという簡潔な構造で対応することができる。具体的には、シートバックがシートクッションに対し起立した状態で、車両用ヘッドレストを最下位置に配置してシートバックを前に折り畳んでいくと車両用ヘッドレストのクッション体がシートクッションに当接して移動が止められ、車両用ヘッドレストを最上位置に配置してシートバックを前に折り畳んでいくとシートバックがシートクッションに当接して移動が止められるようにヘッドレストステーの長さを設定する。
【0008】
本発明の第2発明は、上記第1発明の車両用ヘッドレストが取付けられた車両用シートであって、該車両用シートは、自動車の後部側座席であって6:4分割タイプのシートにおける2人掛けが可能な6側シートであり、該6側シートは、センタ側のセンタシートにおけるシートクッションの上面が、サイド側のサイドシートにおけるシートクッションの上面より上方向に盛り上がって形成されており、前記車両用ヘッドレストは、前記センタシートに取付けられていることを特徴とする。
【0009】
第2発明によれば、シートクッションの上面がサイドシートの上面より上方向に盛り上がっているセンタシートに車両用ヘッドレストが配設されているので、クッション体がシートクッションに干渉したときのシートバックの傾きが大きくなりがちであるのを効果的に抑制することができる。
【図面の簡単な説明】
【0010】
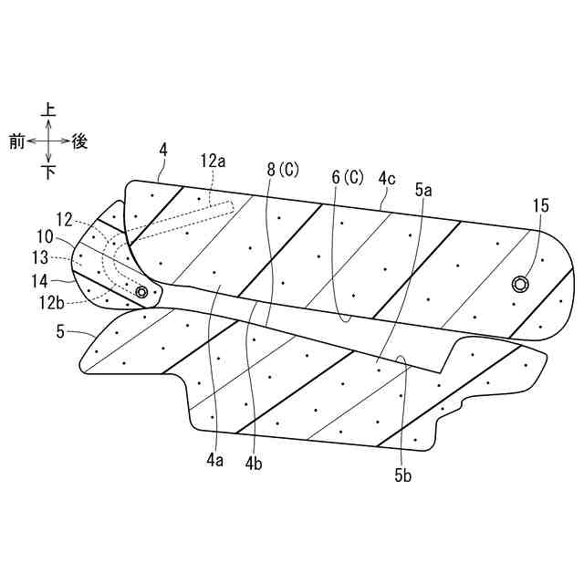
本発明の一実施形態のヘッドレストを取付けた自動車用リアシートを斜め前方から見た斜視図である。
図1のII-II矢視線断面図である。シートバックを起立させた状態である。
図2の断面において、シートバックを起立させた状態で、ヘッドレストを最下位置にしてシートバックを折り畳んだ状態である。
図2の断面において、シートバックを起立させた状態で、ヘッドレストを最上位置にしてシートバックを折り畳んだ状態である。
図1のV-V矢視線断面図である。クッションフレームは省いている。
上記実施形態のヘッドレストの正面図である。
上記実施形態のヘッドレストの側面図である。
【発明を実施するための形態】
(【0011】以降は省略されています)
この特許をJ-PlatPat(特許庁公式サイト)で参照する
関連特許
トヨタ紡織株式会社
フィルタ
4日前
トヨタ紡織株式会社
乗物用シート
23日前
トヨタ紡織株式会社
振動刺激装置
10日前
トヨタ紡織株式会社
乗物用シート
10日前
トヨタ紡織株式会社
電界紡糸装置
2日前
トヨタ紡織株式会社
水流帯電装置
4日前
トヨタ紡織株式会社
アンカーカバー
3日前
トヨタ紡織株式会社
クッションパッド
3日前
トヨタ紡織株式会社
シートクッション
3日前
トヨタ紡織株式会社
燃料電池システム
4日前
トヨタ紡織株式会社
乗物用シート装置
23日前
トヨタ紡織株式会社
表皮材及び内装部品
2日前
トヨタ紡織株式会社
表皮材及び内装部品
2日前
トヨタ紡織株式会社
パーソナルブース装置
10日前
トヨタ紡織株式会社
パーソナルブース装置
10日前
トヨタ紡織株式会社
モータコアの製造方法
2日前
トヨタ紡織株式会社
シートパッド及びシートパッドの成形型
2日前
トヨタ紡織株式会社
乗物用内装材及び乗物用内装材の製造方法
4日前
トヨタ紡織株式会社
乗り物酔い防止装置、及び乗り物酔い防止方法
10日前
トヨタ紡織株式会社
情報処理装置、情報処理方法、及び情報処理プログラム
10日前
個人
カーテント
6か月前
個人
タイヤレバー
4か月前
個人
前輪キャスター
3か月前
個人
上部一体型自動車
1か月前
個人
ルーフ付きトライク
3か月前
個人
タイヤ脱落防止構造
3か月前
個人
ホイルのボルト締結
5か月前
個人
空間形成装置
1か月前
井関農機株式会社
作業車両
5か月前
個人
キャンピングトライク
5か月前
個人
マスタシリンダ
2か月前
日本精機株式会社
表示装置
3か月前
井関農機株式会社
作業車両
5か月前
日本精機株式会社
照明装置
26日前
個人
車両通過構造物
4か月前
日本精機株式会社
表示装置
4か月前
続きを見る
他の特許を見る