TOP
|
特許
|
意匠
|
商標
特許ウォッチ
Twitter
他の特許を見る
公開番号
2025176820
公報種別
公開特許公報(A)
公開日
2025-12-05
出願番号
2024083166
出願日
2024-05-22
発明の名称
材料、及び材料の製造方法
出願人
トヨタ紡織株式会社
,
国立大学法人東海国立大学機構
代理人
弁理士法人グランダム特許事務所
主分類
C12M
3/00 20060101AFI20251128BHJP(生化学;ビール;酒精;ぶどう酒;酢;微生物学;酵素学;突然変異または遺伝子工学)
要約
【課題】新規な材料を提供する。
【解決手段】モノリグノールを用いて細胞壁を成長させた植物培養細胞1を複数接着させてなる、材料3である。
【選択図】図1
特許請求の範囲
【請求項1】
モノリグノールを用いて細胞壁を成長させた植物培養細胞を複数接着させてなる、材料。
続きを表示(約 120 文字)
【請求項2】
モノリグノールによって、植物培養細胞の細胞壁の厚みを増加させ、
前記植物培養細胞を複数接着させる、材料の製造方法。
【請求項3】
接着にはペルオキシダーゼを用いる、請求項2に記載の材料の製造方法。
発明の詳細な説明
【技術分野】
【0001】
本開示は、材料、及び材料の製造方法に関する。
続きを表示(約 1,100 文字)
【背景技術】
【0002】
従来から、樹木を育てて、伐り出し、製材し、材料(木材)を生産することが行われてきた。
このような状況の下、例えば、特許文献1では、植物細胞を利用した材料が検討されている。種々の用途への応用を考えると、更なる新規材料の開発が望まれている。
【先行技術文献】
【特許文献】
【0003】
特開2022-166439号公報
【発明の概要】
【発明が解決しようとする課題】
【0004】
本開示は、新規な材料を提供することを目的とする。
【課題を解決するための手段】
【0005】
本開示の手段を以下に示す。
モノリグノールを用いて細胞壁を成長させた植物培養細胞を複数接着させてなる、材料。
【発明の効果】
【0006】
本開示によれば、新規な材料を提供できる。
【図面の簡単な説明】
【0007】
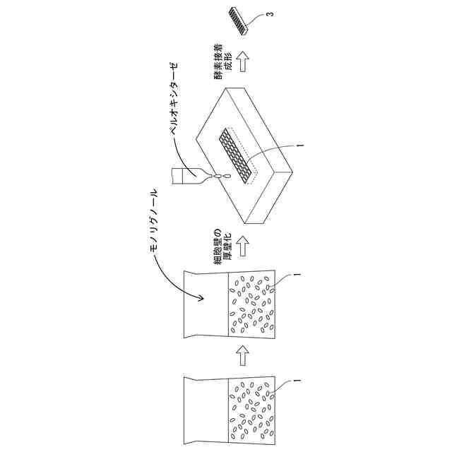
本製造方法の一例を模式的に示す説明図である。
モノリグノール添加による厚壁化の確認試験結果を示すグラフである。
酵素処理を用いた成形の様子を示す写真である。
物性試験の結果(弾性率)を示すグラフである。
物性試験の結果(最大応力)を示すグラフである。
【発明を実施するための形態】
【0008】
ここで、本開示の他の例を示す。
[1]
モノリグノールを用いて細胞壁を成長させた植物培養細胞を複数接着させてなる、材料。
[2]
モノリグノールによって、植物培養細胞の細胞壁の厚みを増加させ、
前記植物培養細胞を複数接着させる、材料の製造方法。
[3]
接着にはペルオキシダーゼを用いる、[2]に記載の材料の製造方法。
【0009】
以下、本開示を詳しく説明する。尚、本明細書において、数値範囲について「-」を用いた記載では、特に断りがない限り、下限値及び上限値を含むものとする。例えば、「10-20」という記載では、下限値である「10」、上限値である「20」のいずれも含むものとする。すなわち、「10-20」は、「10以上20以下」と同じ意味である。また、本開示において、各数値範囲の上限値及び下限値は、任意に組み合わせることができる。
【0010】
1.材料
本開示の材料は、モノリグノールを用いて細胞壁を成長させた植物培養細胞を複数接着させてなる。
(【0011】以降は省略されています)
この特許をJ-PlatPat(特許庁公式サイト)で参照する
関連特許
トヨタ紡織株式会社
フィルタ
9日前
トヨタ紡織株式会社
振動刺激装置
15日前
トヨタ紡織株式会社
乗物用シート
15日前
トヨタ紡織株式会社
水流帯電装置
9日前
トヨタ紡織株式会社
電界紡糸装置
7日前
トヨタ紡織株式会社
アンカーカバー
8日前
トヨタ紡織株式会社
クッションパッド
8日前
トヨタ紡織株式会社
燃料電池システム
9日前
トヨタ紡織株式会社
乗物用シート装置
28日前
トヨタ紡織株式会社
シートクッション
8日前
トヨタ紡織株式会社
シートカーペット
2日前
トヨタ紡織株式会社
表皮材及び内装部品
7日前
トヨタ紡織株式会社
表皮材及び内装部品
7日前
トヨタ紡織株式会社
モータコアの製造方法
7日前
トヨタ紡織株式会社
パーソナルブース装置
15日前
トヨタ紡織株式会社
パーソナルブース装置
15日前
トヨタ紡織株式会社
シート用パーティション
今日
トヨタ紡織株式会社
材料、及び材料の製造方法
今日
トヨタ紡織株式会社
シートパッド及びシートパッドの成形型
7日前
トヨタ紡織株式会社
乗物用内装材及び乗物用内装材の製造方法
9日前
トヨタ紡織株式会社
担持粒子、混合物、及び担持粒子の製造方法
今日
トヨタ紡織株式会社
乗り物酔い防止装置、及び乗り物酔い防止方法
15日前
トヨタ紡織株式会社
情報処理装置、情報処理方法、及び情報処理プログラム
15日前
個人
抗遺伝子劣化装置
3か月前
個人
細胞内探査とその利用
3か月前
三洋化成工業株式会社
細胞培養用担体
7日前
雪国アグリ株式会社
単糖類の製造方法
1か月前
株式会社東洋新薬
経口組成物
3か月前
株式会社タクマ
バイオマス処理装置
3か月前
株式会社タクマ
バイオマス処理装置
3か月前
テルモ株式会社
吐出デバイス
2か月前
テルモ株式会社
容器蓋デバイス
2か月前
東ソー株式会社
pH応答性マイクロキャリア
3か月前
島根県
油吸着材とその製造方法
1か月前
宝酒造株式会社
アルコール飲料
2か月前
大陽日酸株式会社
培養装置
3か月前
続きを見る
他の特許を見る