TOP
|
特許
|
意匠
|
商標
特許ウォッチ
Twitter
他の特許を見る
公開番号
2025174471
公報種別
公開特許公報(A)
公開日
2025-11-28
出願番号
2024080870
出願日
2024-05-17
発明の名称
電界紡糸装置
出願人
トヨタ紡織株式会社
代理人
弁理士法人グランダム特許事務所
主分類
D01D
5/08 20060101AFI20251120BHJP(天然または人造の糸または繊維;紡績)
要約
【課題】限られた空間内に並列配置されたノズルヘッド間における電界強度の不均一を抑制する。
【解決手段】電界紡糸装置Aは、紡糸液Lを吐出可能であり、平面視において並列するように配置された複数本のノズルヘッド10と、複数本のノズルヘッド10に個別に設けられ、紡糸液Lを帯電させる紡糸電極12と、複数本のノズルヘッド10の上方に配置され、紡糸電極12との間に電界を生成するコレクタ電極22と、ノズルヘッド10とコレクタ電極22との間に配置され、静電気力によって極細繊維化した紡糸液Lを捕集する捕集部材20と、を備え、複数本のノズルヘッド10は、隣り合うノズルヘッド10の間で高低差が生じるように配置されている。
【選択図】図1
特許請求の範囲
【請求項1】
紡糸液を吐出可能であり、平面視において並列するように配置された複数本のノズルヘッドと、
前記複数本のノズルヘッドに個別に設けられ、前記紡糸液を帯電させる紡糸電極と、
前記複数本のノズルヘッドの上方に配置され、前記紡糸電極との間に電界を生成するコレクタ電極と、
前記ノズルヘッドと前記コレクタ電極との間に配置され、静電気力によって極細繊維化した前記紡糸液を捕集する捕集部材と、を備え、
前記複数本のノズルヘッドは、隣り合う前記ノズルヘッドの間で高低差が生じるように配置されている電界紡糸装置。
続きを表示(約 510 文字)
【請求項2】
並列配置された3本の前記ノズルヘッドが、中央に位置する1本の前記ノズルヘッドと、他の2本の前記ノズルヘッドとの間で高低差を生じるように配置されている請求項1に記載の電界紡糸装置。
【請求項3】
並列配置された4本の前記ノズルヘッドが、中央に位置する2本の前記ノズルヘッドと、他の2本の前記ノズルヘッドとの間で高低差が生じるように配置されている請求項1に記載の電界紡糸装置。
【請求項4】
前記平面視方向及び前記ノズルヘッドの並列方向の両方向と直交する方向から視た正面視において、前記中央に位置する2本のノズルヘッドの間隔が、高低差を有して隣り合う2本の前記ノズルヘッドの間隔と同じ寸法に設定されている請求項3に記載の電界紡糸装置。
【請求項5】
複数本の前記ノズルヘッドが、並列方向の一端側から他端側に向かってノズルヘッドの高さが順次に高くなるように配置されている請求項1に記載の電界紡糸装置。
【請求項6】
4本以上の前記ノズルヘッドが、隣り合う前記ノズルヘッド間で交互に高低差を生じるように配置されている請求項1に記載の電界紡糸装置。
発明の詳細な説明
【技術分野】
【0001】
本発明は、電界紡糸装置に関するものである。
続きを表示(約 2,000 文字)
【背景技術】
【0002】
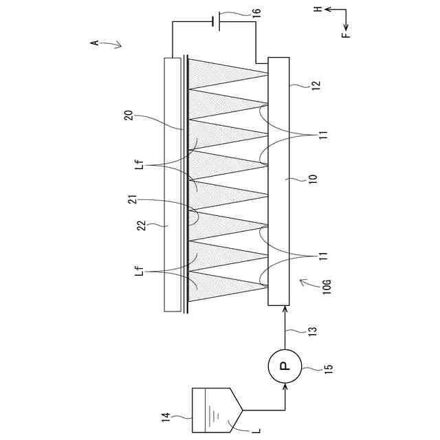
特許文献1には、水平方向に並列配置された複数本の細長いノズルヘッドを有する電界紡糸装置が開示されている。各ノズルヘッドには、紡糸液を吐出するための複数の紡糸孔が形成されている。ノズルヘッドには紡糸電極が設けられ、ノズルヘッドの上方にはコレクタ電極が配置されている。紡糸電極は各ノズルヘッドに個別に設けられており、各紡糸電極とコレクタ電極との間には電界が生成される。帯電した状態で紡糸孔から吐出された紡糸液は、コレクタ電極に向かって上方へ噴射される間に極細繊維となる。極細繊維となった紡糸液をシート状の捕集部材で捕集することによって、極細繊維からなる繊維集合体(例えば、不織布)が製造される。この電界紡糸装置は、極細繊維を生成し易いという利点を有する。
【先行技術文献】
【特許文献】
【0003】
特開2023-074630号公報
【発明の概要】
【発明が解決しようとする課題】
【0004】
複数本のノズルヘッドを並列配置した電界紡糸装置では、ノズルヘッドの並列ピッチを狭めることによって、限られた空間内においても、紡糸液を集中して捕集部材に捕集することが可能である。しかし、隣り合うノズルヘッドの紡糸電極同士が近づくと、電界干渉によって、各ノズルヘッドにおける電界の強さが不均一になる。例えば、一部のノズルヘッドの電界が弱くなると、ノズルヘッド全体としての紡糸液の噴射量が減少するため、捕集部材における極細繊維の目付量(捕集量)が、所期の目付量よりも少なくなる。
【0005】
本開示は上記のような事情に基づいて完成されたものであって、限られた空間内に並列配置されたノズルヘッド間における電界強度の不均一を抑制することを目的とする。
【課題を解決するための手段】
【0006】
本開示の電界紡糸装置は、
紡糸液を吐出可能であり、平面視において並列するように配置された複数本のノズルヘッドと、
前記複数本のノズルヘッドに個別に設けられ、前記紡糸液を帯電させる紡糸電極と、
前記複数本のノズルヘッドの上方に配置され、前記紡糸電極との間に電界を生成するコレクタ電極と、
前記ノズルヘッドと前記コレクタ電極との間に配置され、静電気力によって極細繊維化した前記紡糸液を捕集する捕集部材と、を備え、
前記複数本のノズルヘッドは、隣り合う前記ノズルヘッドの間で高低差が生じるように配置されている。
【発明の効果】
【0007】
本開示によれば、限られた空間内に並列配置されたノズルヘッド間における電界強度の不均一を抑制することができる。
【図面の簡単な説明】
【0008】
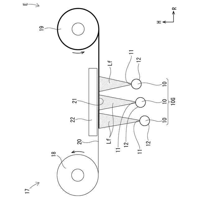
実施形態1の電界紡糸装置の概略をあらわす正面図である。
実施形態1の電界紡糸装置の概略をあらわす側面図である。
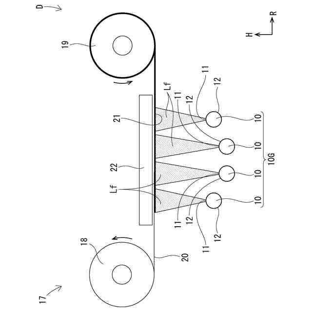
実施形態2の電界紡糸装置の概略をあらわす正面図である。
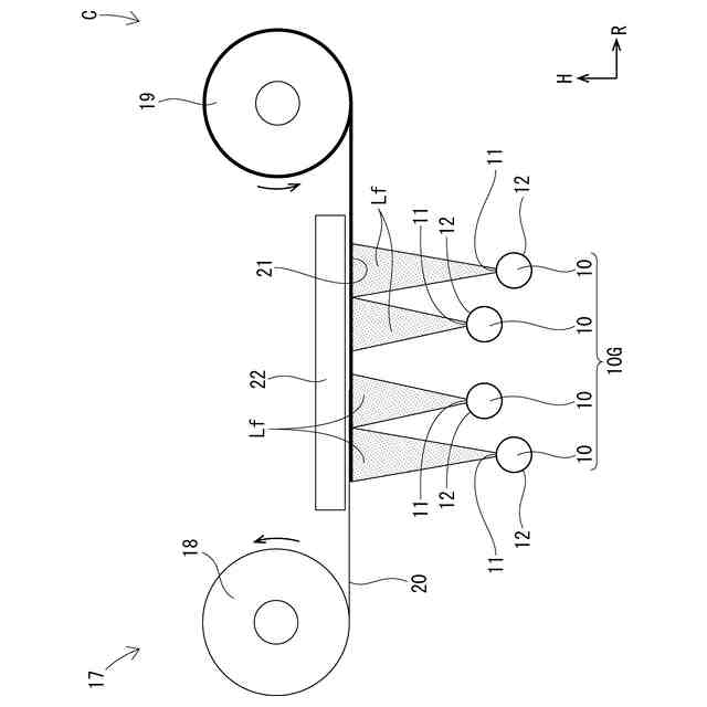
実施形態3の電界紡糸装置の概略をあらわす正面図である。
実施形態4の電界紡糸装置の概略をあらわす正面図である。
実施形態5の電界紡糸装置の概略をあらわす正面図である。
実施形態6の電界紡糸装置の概略をあらわす正面図である。
【発明を実施するための形態】
【0009】
ここで、本開示の望ましい形態例を示す。下記の複数の形態例を、矛盾を生じない範囲で任意に組み合わせたものも、発明を実施するための形態に含まれる。
【0010】
本開示の電界紡糸装置は、
(1)紡糸液を吐出可能であり、平面視において並列するように配置された複数本のノズルヘッドと、前記複数本のノズルヘッドに個別に設けられ、前記紡糸液を帯電させる紡糸電極と、前記複数本のノズルヘッドの上方に配置され、前記紡糸電極との間に電界を生成するコレクタ電極と、前記ノズルヘッドと前記コレクタ電極との間に配置され、静電気力によって極細繊維化した前記紡糸液を捕集する捕集部材と、を備え、前記複数本のノズルヘッドは、隣り合う前記ノズルヘッドの間で高低差が生じるように配置されている。本開示の構成によれば、複数本のノズルヘッドが、隣り合うノズルヘッドの間で高低差が生じるように配置されているので、平面視における並列ピッチを拡大しなくても、隣り合う紡糸電極間の間隔を広げ、隣り合う紡糸電極間における電界干渉を低減することができる。これにより、限られた空間内に複数本のノズルヘッドを並列配置した場合において、ノズルヘッド間における電界強度の不均一を抑制することができる。
(【0011】以降は省略されています)
この特許をJ-PlatPat(特許庁公式サイト)で参照する
関連特許
日本エステル株式会社
単相型熱融着繊維
今日
日本エステル株式会社
単相型熱融着繊維
8日前
株式会社大林組
繊維材供給システム
29日前
TMTマシナリー株式会社
紡糸設備
1か月前
TMTマシナリー株式会社
糸巻取機
1か月前
村田機械株式会社
玉揚装置及び自動ワインダ
22日前
トヨタ紡織株式会社
電界紡糸装置
今日
マクセル株式会社
樹脂発泡糸の製造方法及びラム押出成形機
23日前
ユニチカトレーディング株式会社
セルロース繊維製品のリサイクル方法及び短繊維状物
1か月前
華巧國際有限公司
生体エネルギー混紡撚繊維およびその使用
1か月前
KBセーレン株式会社
繊維、ポリオレフィン繊維、及びポリオレフィン繊維の製造方法
21日前
国立大学法人 奈良先端科学技術大学院大学
アガロースナノファイバーおよびその製造方法
21日前
レンチング アクチエンゲゼルシャフト
難燃性リヨセルフィラメント
21日前
美津濃株式会社
芯鞘複合繊維及びそれを含む織編物ならびに芯鞘複合繊維の製造方法
1か月前
コベイション・インコーポレイテッド
2成分繊維を製造する方法およびこれを含む物品
1か月前
フラテッリ チェカット ミラノ エス.アール.エル.
マルチロー同軸スパンボンド及び/又はメルトブローンタイププラントのための紡糸口金
今日
ザ ユーエイビー リサーチ ファウンデイション
繊維生成のための交流電界電極システムおよび方法
16日前
カーボン ホールディングス インテレクチュアル プロパティズ, エルエルシー
石炭から低密度炭素繊維を製造するためのシステム及び方法
1か月前
チョーチアン ヘンイー ペトロケミカル カンパニー,リミテッド
巻糸パッケージの処理方法、処理装置、電子デバイス、記憶媒体及びプログラム
1か月前
ザ ジャクソン ラボラトリー
高頻度標的化動物遺伝子導入
21日前
東京応化工業株式会社
レジスト組成物、レジストパターン形成方法、化合物及び酸拡散制御剤
今日
ザ・トラステイーズ・オブ・ザ・ユニバーシテイ・オブ・ペンシルベニア
ムコ多糖症II型を処置するための遺伝子療法
10日前
他の特許を見る