TOP
|
特許
|
意匠
|
商標
特許ウォッチ
Twitter
他の特許を見る
公開番号
2025161736
公報種別
公開特許公報(A)
公開日
2025-10-24
出願番号
2025024231
出願日
2025-02-18
発明の名称
紡糸設備
出願人
TMTマシナリー株式会社
代理人
弁理士法人ATEN
主分類
D01D
5/08 20060101AFI20251017BHJP(天然または人造の糸または繊維;紡績)
要約
【課題】非接触で紡糸口金の温度を容易に把握する。
【解決手段】糸Yを紡出する紡糸口金31を有する紡糸装置3と、紡糸口金31から放射された赤外線が入射する位置に配置されており、入射した赤外線を反射する反射板8と、反射板8によって反射された赤外線を受光することで、紡糸口金31の温度分布を測定可能なサーマルカメラ9と、を備えている。反射板8とサーマルカメラ9とは、紡糸口金31から紡出される糸Yの糸道を挟んで配置される。サーマルカメラ9は、移動可能に構成された走行体10に設けられている。
【選択図】図4
特許請求の範囲
【請求項1】
糸を紡出する紡糸口金を有する紡糸装置と、
前記紡糸口金から放射された赤外線が入射する位置に配置されており、入射した前記赤外線を反射する反射板と、
前記反射板によって反射された前記赤外線を受光することで、前記紡糸口金の温度を測定可能な赤外線センサと、を備え、
前記反射板と前記赤外線センサとは、前記紡糸口金から紡出される前記糸の糸道を挟んで配置される紡糸設備。
続きを表示(約 1,000 文字)
【請求項2】
前記赤外線センサは、前記紡糸口金の温度分布を測定可能である請求項1に記載の紡糸設備。
【請求項3】
前記反射板は、複数の前記紡糸口金からそれぞれ放射された前記赤外線を反射可能である請求項1又は2に記載の紡糸設備。
【請求項4】
前記赤外線センサは、複数の前記紡糸口金からそれぞれ放射されて、1又は複数の前記反射板で反射された前記赤外線を一度に受光可能である請求項1~3のいずれか1項に記載の紡糸設備。
【請求項5】
移動可能に構成された移動体を備えており、
前記赤外線センサは、前記移動体に設けられており、
前記赤外線センサは、前記移動体が移動することで、複数の前記紡糸口金からそれぞれ放射されて、1又は複数の前記反射板で反射された赤外線を受光可能である請求項1~4のいずれか1項に記載の紡糸設備。
【請求項6】
一方向に配列された複数の前記紡糸装置を備えており、
前記移動体は、前記複数の紡糸装置をまたがって移動可能であり、
前記赤外線センサは、前記移動体が移動することで、前記複数の紡糸装置の前記紡糸口金の温度を測定可能である請求項5に記載の紡糸設備。
【請求項7】
前記紡糸装置の下方に配置されており、前記紡糸口金から紡出された前記糸を冷却する冷却装置を備えており、
前記反射板は、前記冷却装置よりも下方に配置されている請求項1~6のいずれか1項に記載の紡糸設備。
【請求項8】
前記紡糸装置の下方に配置されており、前記紡糸口金から紡出された前記糸に油剤を付与する給油ガイドを有する油剤付与装置をさらに備えており、
前記反射板は、前記油剤付与装置に取り付けられている請求項1~7のいずれか1項に記載の紡糸設備。
【請求項9】
前記油剤付与装置は、前記給油ガイドの上方に配置され、且つ、前記給油ガイドを覆わない位置と前記給油ガイドを覆う位置との間で移動可能に構成されたカバーをさらに有しており、
前記カバーが前記反射板として機能する請求項8に記載の紡糸設備。
【請求項10】
前記反射板は、上下に移動可能に設けられており、
前記反射板による前記赤外線の反射角度を調整する角度調整機構を備えている請求項1~9のいずれか1項に記載の紡糸設備。
(【請求項11】以降は省略されています)
発明の詳細な説明
【技術分野】
【0001】
本発明は、紡糸を生成する紡糸設備に関する。
続きを表示(約 1,600 文字)
【背景技術】
【0002】
特許文献1には、糸を紡出する紡糸装置を備えた紡糸設備が開示されている。紡糸装置は、紡糸パックが着脱可能に構成されている。紡糸装置は、装着された紡糸パックに供給された高温の溶融ポリマーを紡糸パックの紡糸口金に形成されたノズルから紡出する。かかる紡糸設備においては、紡糸口金の清掃等のメンテナンスを定期的に行う必要がある。
【先行技術文献】
【特許文献】
【0003】
特開2023-53671号公報
【発明の概要】
【発明が解決しようとする課題】
【0004】
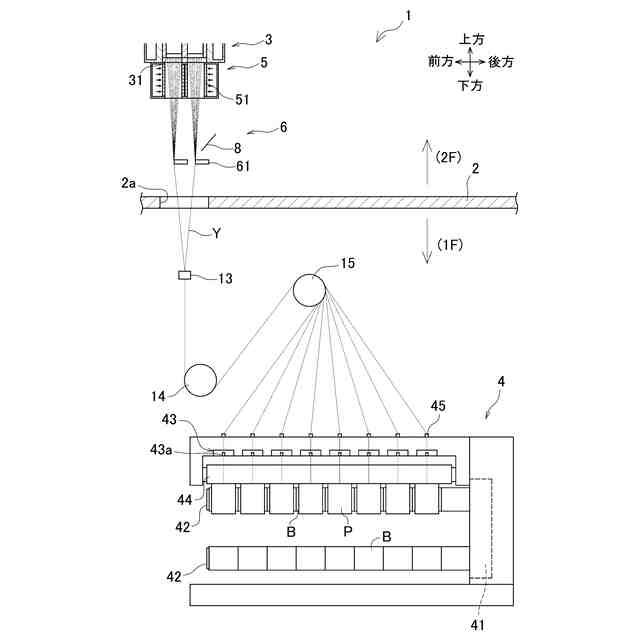
上述のような紡糸設備において生成される糸の品質は、紡糸口金の温度によって変動する。例えば紡糸口金のメンテナンス後の糸生産再開始時は、紡糸口金の温度が低下しており、紡糸装置から紡出される糸の品質は低い。したがって、紡糸口金の温度が十分に上昇するまでの間、紡糸装置から紡出された糸を破棄する必要がある。糸を破棄する時間は経験により設定されるものであり、適切であるかは不明確である。そこで、紡糸口金に熱電対を取り付けて紡糸口金の温度を測定することも考えられる。しかしながら、紡糸口金には溶融ポリマーを吐出するノズルが密集して形成されており、ポリマーが接触しない位置に熱電対を取り付けるのは難しい。これを解消するために、紡糸口金の下方に赤外線センサを設置し、非接触で直接紡糸口金の温度を測定することも考えられる。この場合は、赤外線センサは、紡糸口金から放射された赤外線が入射する位置に配置する必要がある。よって、赤外線センサの位置が紡糸口金から紡出される糸の糸道の近傍となる。その結果、落下する高温の溶融ポリマーにより赤外線センサが破損したり、落下する糸くずにより赤外線センサが汚れることで温度測定ができなくなったりする問題が生じる。
【0005】
本発明の目的は、非接触で紡糸口金の温度を容易に把握可能な紡糸設備を提供することである。
【課題を解決するための手段】
【0006】
第1の発明にかかる紡糸設備は、糸を紡出する紡糸口金を有する紡糸装置と、前記紡糸口金から放射された赤外線が入射する位置に配置されており、入射した前記赤外線を反射する反射板と、前記反射板によって反射された前記赤外線を受光することで、前記紡糸口金の温度を測定可能な赤外線センサと、を備え、前記反射板と前記赤外線センサとは、前記紡糸口金から紡出される前記糸の糸道を挟んで配置される。
【0007】
本発明では、反射板は、紡糸口金から放射された赤外線が入射するように、比較的糸道の近傍に配置される。一方、赤外線センサは、反射板によって反射された赤外線を受光する位置に配置すればよい。したがって、赤外線センサは、糸道を挟んで反射板とは反対側において、比較的糸道から離れた位置に配置することができる。したがって、高温の溶融ポリマーにより赤外線センサが破損したり、糸くずにより赤外線センサが汚れることで温度測定ができなくなったりする問題が起こりにくくなる。よって、非接触で容易に紡糸口金の温度を把握できる。
【0008】
第2の発明にかかる紡糸設備では、第1の発明において、前記赤外線センサは、前記紡糸口金の温度分布を測定可能である。
【0009】
本発明では、赤外線センサによって紡糸口金の温度分布を測定することで、紡糸口金の温度ムラの有無等を把握できる。したがって、低品質な糸が生産されるのを確実に抑えることができる。
【0010】
第3の発明にかかる紡糸設備では、第1又は第2の発明において、前記反射板は、複数の前記紡糸口金からそれぞれ放射された前記赤外線を反射可能である。
(【0011】以降は省略されています)
この特許をJ-PlatPat(特許庁公式サイト)で参照する
関連特許
TMTマシナリー株式会社
糸巻取機
1か月前
東レ株式会社
溶融紡糸口金パック
1か月前
東レ株式会社
遮熱性アクリル繊維
1か月前
日本エステル株式会社
単相型熱融着繊維
1日前
日本エステル株式会社
単相型熱融着繊維
9日前
株式会社大林組
繊維材供給システム
1か月前
東レ株式会社
耐炎化繊維束および炭素繊維束の製造方法
1か月前
TMTマシナリー株式会社
紡糸設備
1か月前
TMTマシナリー株式会社
糸巻取機
1か月前
東レ・モノフィラメント株式会社
複合モノフィラメント
1か月前
村田機械株式会社
紡績機
1か月前
村田機械株式会社
玉揚装置及び自動ワインダ
23日前
株式会社カネカ
繊維、及び、繊維構造体
1か月前
トヨタ紡織株式会社
電界紡糸装置
1日前
マクセル株式会社
樹脂発泡糸の製造方法及びラム押出成形機
24日前
三井化学株式会社
繊維および繊維の製造方法
1か月前
KBセーレン株式会社
繊維、ポリオレフィン繊維、及びポリオレフィン繊維の製造方法
22日前
ユニチカトレーディング株式会社
セルロース繊維製品のリサイクル方法及び短繊維状物
1か月前
華巧國際有限公司
生体エネルギー混紡撚繊維およびその使用
1か月前
株式会社カネカ
繊維及びその製造方法、並びに、繊維構造体及びその製造方法
1か月前
国立大学法人 奈良先端科学技術大学院大学
アガロースナノファイバーおよびその製造方法
22日前
レンチング アクチエンゲゼルシャフト
難燃性リヨセルフィラメント
22日前
群栄化学工業株式会社
樹脂繊維、その製造方法、炭素繊維、その製造方法、活性炭素繊維およびその製造方法
1か月前
美津濃株式会社
芯鞘複合繊維及びそれを含む織編物ならびに芯鞘複合繊維の製造方法
1か月前
旭化成株式会社
カーボンナノチューブとセルロースを含む繊維及びその製造方法
1か月前
コベイション・インコーポレイテッド
2成分繊維を製造する方法およびこれを含む物品
1か月前
フラテッリ チェカット ミラノ エス.アール.エル.
マルチロー同軸スパンボンド及び/又はメルトブローンタイププラントのための紡糸口金
1日前
ザ ユーエイビー リサーチ ファウンデイション
繊維生成のための交流電界電極システムおよび方法
17日前
三菱ケミカル株式会社
親水性ポリオレフィン系中空糸、親水性ポリオレフィン系中空糸膜、親水性ポリオレフィン系中空糸膜の製造方法及び親水性ポリオレフィン系中空糸膜を用いた中空糸膜カートリッジ
1か月前
カーボン ホールディングス インテレクチュアル プロパティズ, エルエルシー
石炭から低密度炭素繊維を製造するためのシステム及び方法
1か月前
チョーチアン ヘンイー ペトロケミカル カンパニー,リミテッド
巻糸パッケージの処理方法、処理装置、電子デバイス、記憶媒体及びプログラム
1か月前
東京応化工業株式会社
レジスト組成物、及びレジストパターン形成方法
1か月前
キオクシア株式会社
半導体記憶装置
1か月前
ザ ジャクソン ラボラトリー
高頻度標的化動物遺伝子導入
22日前
東京応化工業株式会社
レジスト組成物、レジストパターン形成方法、化合物及び酸拡散制御剤
1日前
ザ・トラステイーズ・オブ・ザ・ユニバーシテイ・オブ・ペンシルベニア
ムコ多糖症II型を処置するための遺伝子療法
11日前
続きを見る
他の特許を見る