TOP
|
特許
|
意匠
|
商標
特許ウォッチ
Twitter
他の特許を見る
公開番号
2025179639
公報種別
公開特許公報(A)
公開日
2025-12-10
出願番号
2024086525
出願日
2024-05-28
発明の名称
情報処理装置、移動体およびプログラム
出願人
トヨタ紡織株式会社
代理人
弁理士法人 HARAKENZO WORLD PATENT & TRADEMARK
主分類
A61B
5/11 20060101AFI20251203BHJP(医学または獣医学;衛生学)
要約
【課題】移動体の乗員の出血量を適正に推定する。
【解決手段】情報処理装置(1)は、移動体の座席に配置されており座席に着席する乗員から座席に伝わる振動を検出するセンサ(20)から、検出信号を取得する取得部(100)と、取得部(100)が取得した検出信号に基づいて、乗員の出血量を推定する推定部(101)とを備える。
【選択図】図3
特許請求の範囲
【請求項1】
移動体の座席に配置されており前記座席に着席する乗員から前記座席に伝わる振動を検出するセンサから、検出信号を取得する取得部と、
前記取得部が取得した前記検出信号に基づいて、前記乗員の出血量を推定する推定部とを備える情報処理装置。
続きを表示(約 890 文字)
【請求項2】
前記推定部は、前記取得部が取得した前記検出信号に基づいて、前記乗員の心拍および呼吸数を推定し、前記乗員の前記心拍および前記呼吸数の推定結果に基づいて、前記乗員の前記出血量を推定する、請求項1に記載の情報処理装置。
【請求項3】
前記推定部は、前記乗員の出血量、心拍および呼吸数の推定結果に基づいて、前記乗員の怪我の緊急度を更に推定し、
前記情報処理装置は、前記移動体の内外に前記乗員の怪我の緊急度を報知する報知部を更に備える請求項2に記載の情報処理装置。
【請求項4】
前記取得部が取得した前記検出信号に基づいて、前記移動体が衝突事故を起こしたか否かを判定する判定部を更に備え、
前記推定部は、前記取得部が取得した前記検出信号に基づいて、前記乗員から前記座席に加えられる座圧を推定し、前記移動体が衝突事故を起こしたと前記判定部が判定する前後での前記座圧の推定結果の変化に基づいて、前記乗員の前記出血量を推定する、請求項1に記載の情報処理装置。
【請求項5】
前記取得部が取得した前記検出信号に基づいて、前記移動体が衝突事故を起こしたか否かを判定する判定部を更に備え、
前記推定部は、前記取得部が取得した前記検出信号に基づいて、前記乗員の心音を推定し、前記移動体が衝突事故を起こしたと前記判定部が判定する前後での前記心音の推定結果の変化に基づいて、前記乗員の前記出血量を推定する、請求項1に記載の情報処理装置。
【請求項6】
請求項1に記載の情報処理装置と、
前記センサと、
前記センサおよび前記情報処理装置に電源を供給する第1電源と、
前記第1電源に不具合が生じた際に、前記センサおよび前記情報処理装置に電源を供給する第2電源と、を備える移動体。
【請求項7】
請求項1に記載の情報処理装置としてコンピュータを機能させるためのプログラムであって、前記取得部および前記推定部としてコンピュータを機能させるためのプログラム。
発明の詳細な説明
【技術分野】
【0001】
本開示は情報処理装置、移動体およびプログラムに関する。
続きを表示(約 1,300 文字)
【背景技術】
【0002】
特許文献1には、車両内を撮像する撮像装置から受信した映像データを推定モデルに入力して、車両事故による乗員の損傷を推定する乗員損傷推定サーバが開示されている。
【先行技術文献】
【特許文献】
【0003】
特開2020-177444号公報
【発明の概要】
【発明が解決しようとする課題】
【0004】
しかしながら、移動体の事故現場では、乗員が内出血を起こしている場合等、映像データから推定することが難しい状況が存在する。本開示の一態様は、移動体の乗員の出血量を適正に推定可能な情報処理装置の提供を目的とする。
【課題を解決するための手段】
【0005】
上記の課題を解決するために、本開示の一態様に係る情報処理装置は、移動体の座席に配置されており前記座席に着席する乗員から前記座席に伝わる振動を検出するセンサから、検出信号を取得する取得部と、前記取得部が取得した前記検出信号に基づいて、前記乗員の出血量を推定する推定部とを備える。
【0006】
本開示の各態様に係る情報処理装置は、コンピュータによって実現してもよく、この場合には、コンピュータを前記情報処理装置が備える各部(ソフトウェア要素)として動作させることにより前記情報処理装置をコンピュータにて実現させる情報処理装置のプログラム、およびそれを記録したコンピュータ読み取り可能な記録媒体も、本開示の範疇に入る。
【発明の効果】
【0007】
本開示の一態様によれば、移動体の乗員の出血量を適正に推定できる。
【図面の簡単な説明】
【0008】
本開示の実施形態1に係る情報処理装置を搭載した移動体の内部構造の一例を示す図である。
センサの配置位置の説明に用いる図である。
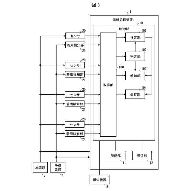
本開示の実施形態1に係る情報処理装置の一構成例を示す図である。
心拍および呼吸数に基づく出血量の推定方法の説明に用いる図である。
図3の判定部の処理の説明に用いる図である。
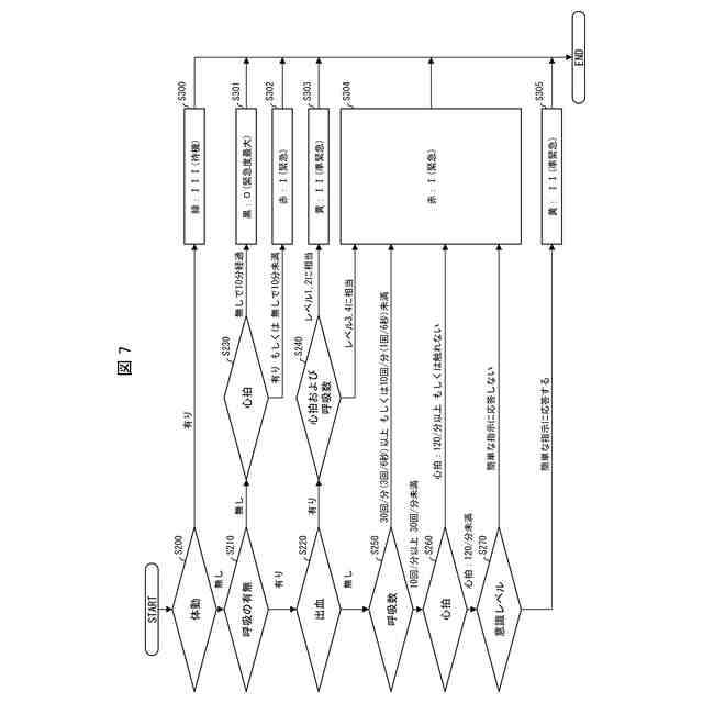
本開示の一実施形態に係る情報処理装置の処理の流れを示すフローチャートである。
推定部によって実行される乗員の怪我の緊急度を推定する処理の流れを示すフローチャートである。
【発明を実施するための形態】
【0009】
〔実施形態1〕
図1は、本開示の実施形態1に係る情報処理装置を搭載した移動体の内部構造の一例を示す図である。以下、図1に矢印で示されるように、前後方向および左右方向を定義する。図1に示す移動体200は、自動車であって、車室内に乗員が着席可能な座席2A、2Bおよび2Cを備えている。座席2Aは移動体200の運転席であり、座席2Bは移動体200の助手席であり、座席2Cは移動体200の後部座席であり、2人の乗員が着席可能である。
【0010】
情報処理装置1は、移動体200に搭載されている。情報処理装置1は、衝突事故等の事故の影響を受け難い位置に配置されている。図1では、情報処理装置1は、座席2Cの下に配置されている。
(【0011】以降は省略されています)
この特許をJ-PlatPat(特許庁公式サイト)で参照する
関連特許
トヨタ紡織株式会社
電動モータ
2日前
トヨタ紡織株式会社
複合表皮材
今日
トヨタ紡織株式会社
水流帯電装置
今日
トヨタ紡織株式会社
電界紡糸装置
13日前
トヨタ紡織株式会社
シート回転装置
今日
トヨタ紡織株式会社
シートクッション
14日前
トヨタ紡織株式会社
シートカーペット
8日前
トヨタ紡織株式会社
クッションパッド
14日前
トヨタ紡織株式会社
表皮材及び内装部品
13日前
トヨタ紡織株式会社
表皮材及び内装部品
13日前
トヨタ紡織株式会社
モータコアの製造方法
13日前
トヨタ紡織株式会社
シート用パーティション
6日前
トヨタ紡織株式会社
シートリクライニング装置
1日前
トヨタ紡織株式会社
材料、及び材料の製造方法
6日前
トヨタ紡織株式会社
情報処理装置およびプログラム
1日前
トヨタ紡織株式会社
シートパッド及びシートパッドの成形型
13日前
トヨタ紡織株式会社
情報処理装置、移動体およびプログラム
1日前
トヨタ紡織株式会社
担持粒子、混合物、及び担持粒子の製造方法
6日前
個人
貼付剤
1か月前
個人
簡易担架
27日前
個人
短下肢装具
4か月前
個人
足踏み器具
1か月前
個人
腋臭防止剤
27日前
個人
排尿補助器具
1か月前
個人
嚥下鍛錬装置
5か月前
個人
前腕誘導装置
4か月前
個人
水分吸収性物品
6日前
個人
胸骨圧迫補助具
3か月前
個人
アイマスク装置
3か月前
個人
ホバーアイロン
8か月前
個人
バッグ式オムツ
5か月前
個人
テスト肺
8日前
個人
ウォート指圧法
1か月前
個人
腰ベルト
1か月前
個人
汚れ防止シート
2か月前
個人
歯の修復用材料
5か月前
続きを見る
他の特許を見る