TOP
|
特許
|
意匠
|
商標
特許ウォッチ
Twitter
他の特許を見る
10個以上の画像は省略されています。
公開番号
2025179008
公報種別
公開特許公報(A)
公開日
2025-12-09
出願番号
2025062013
出願日
2025-04-03
発明の名称
電動モータ
出願人
トヨタ紡織株式会社
代理人
名古屋国際弁理士法人
主分類
H02K
7/10 20060101AFI20251202BHJP(電力の発電,変換,配電)
要約
【課題】 減速機用の歯車等が廃止された電動モータの一例を開示する。
【解決手段】 電動モータ1は、ステータ2内に配置され、第2中心O2を中心とする環状のリングロータ3であって、ステータコイル2Bより少ない個数の永久磁石3A、3Bを有するとともに、それら永久磁石3A、3BのN極とS極とが外周面に沿って交互に配置されたリングロータ3と、リングロータ3を第2中心O2を中心として回転可能に支持するとともに、第1中心O1を中心として回転可能に支持された偏心軸4と、第2中心O2を中心としたリングロータ3の回転を出力する出力部と、リングロータ3の位置を検出する検出部と、検出部の検出信号を利用して複数のステータコイル2Bそれぞれに通電するタイミングを制御する制御部であって、1つ又は複数のステータコイル2Bを1組としてステータコイル2Bへの通電を制御する制御部とを備える。
【選択図】 図4
特許請求の範囲
【請求項1】
円周に沿って複数のステータコイルが配置されたステータを有する電動モータにおいて、
前記円周の中心を第1中心とし、当該第1中心に対してずれた位置を第2中心としたとき、
前記ステータ内に配置され、前記第2中心を中心とする環状のリングロータであって、前記ステータコイルより少ない個数の永久磁石を有するとともに、それら永久磁石のN極とS極とが外周面に沿って交互に配置されたリングロータと、
前記リングロータを前記第2中心を中心として回転可能に支持するとともに、前記第1中心を中心として回転可能に支持された偏心軸と、
前記第2中心を中心とした前記リングロータの回転を出力する出力部と、
前記リングロータ又は前記偏心軸の位置を検出する検出部と、
前記検出部の検出信号を利用して複数の前記ステータコイルそれぞれに通電するタイミングを制御する制御部と
を備える電動モータ。
続きを表示(約 960 文字)
【請求項2】
前記リングロータを第1リングロータとし、前記出力部を第1出力部とし、前記第1中心を中心として前記第2中心に対して180度ずれた位置を第3中心としたとき、
前記第3中心を中心として前記偏心軸により回転可能に支持された状態で前記ステータ内に配置され、前記第3中心を中心とする環状の第2リングロータであって、前記ステータコイルより少ない個数の永久磁石を有するとともに、それら永久磁石のN極とS極とが外周面に沿って交互に配置された第2リングロータと、
前記第3中心を中心とした前記第2リングロータの回転を出力する第2出力部と
を備える請求項1に記載の電動モータ。
【請求項3】
前記第1出力部は、前記第1中心を中心に回転可能に支持された第1回転プレート、及び前記第1リングロータに一体化された第1旋回プレートを有して構成され、
前記第1回転プレート及び前記第1旋回プレートのうち一方のプレートには、他方のプレートに向けて突出した第1突起部が設けられ、当該他方のプレートには、当該第1突起部が嵌り込み可能な第1穴が設けられており、
前記第2出力部は、前記第1中心を中心に回転可能に支持された第2回転プレート、及び前記第2リングロータに一体化された第2旋回プレートを有して構成され、
前記第2回転プレート及び前記第2旋回プレートのうち一方のプレートには、他方のプレートに向けて突出した第2突起部が設けられ、当該他方のプレートには、当該第2突起部が嵌り込み可能な第2穴が設けられており、
さらに、前記第2回転プレートの回転を前記第1回転プレートに伝達する伝達部
を備える請求項2に記載の電動モータ。
【請求項4】
前記第1回転プレート及び前記第2回転プレートは、円盤状に構成されているとともに、外周に歯車の歯部が設けられており、
前記伝達部は、前記第1回転プレートの歯部と噛み合う第1歯車部、及び前記第2回転プレートの歯部と噛み合う第2歯車部を有する請求項3に記載の電動モータ。
【請求項5】
前記ステータのコアには、前記伝達部が貫通した貫通穴が設けられている請求項4に記載の電動モータ。
発明の詳細な説明
【技術分野】
【0001】
本開示は、電動モータに関する。
続きを表示(約 1,500 文字)
【背景技術】
【0002】
多くの電動モータは、特許文献1に示されるように、減速機を介して被駆動部に回転力を供給している。
【先行技術文献】
【特許文献】
【0003】
特表2009-517105号公報
【発明の概要】
【発明が解決しようとする課題】
【0004】
減速機は、複数の歯車等の可動部品にて構成されているため、騒音及び振動が発生し易い。これに対して、現状では、各可動部品の寸法精度及び組立精度の厳格な管理、並び遮音部材の利用等が実施されている。本開示は、当該点に鑑みた電動モータの一例を開示する。
【課題を解決するための手段】
【0005】
円周に沿って複数のステータコイル(2B)が配置されたステータ(2)を有する電動モータは、円周の中心を第1中心(O1)とし、当該第1中心(O1)に対してずれた位置を第2中心(O2)としたとき、例えば、以下の構成要件を備えることが望ましい。
【0006】
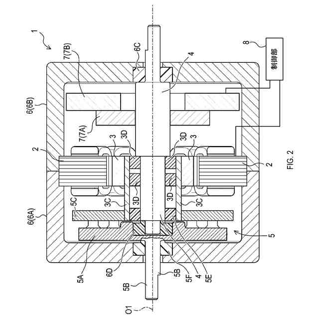
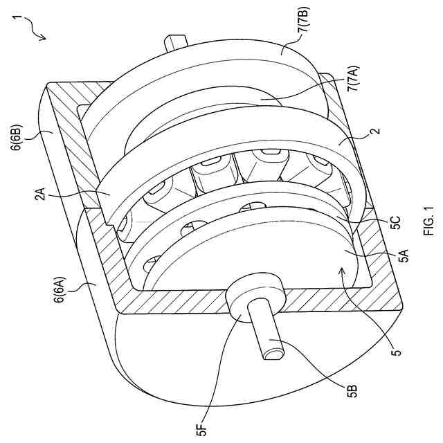
すなわち、当該構成要件は、ステータ(2)内に配置され、第2中心(O2)を中心とする環状のリングロータ(3)であって、ステータコイル(2B)より少ない個数の永久磁石(3A、3B)を有するとともに、それら永久磁石(3A、3B)のN極とS極とが外周面に沿って交互に配置されたリングロータ(3)と、リングロータ(3)を第2中心(O2)を中心として回転可能に支持するとともに、第1中心(O1)を中心として回転可能に支持された偏心軸(4)と、第2中心(O2)を中心としたリングロータ(3)の回転を出力する出力部(5)と、リングロータ(3)又は偏心軸(4)の位置を検出する検出部(7)と、検出部(7)の検出信号を利用して複数のステータコイル(2B)それぞれに通電するタイミングを制御する制御部(8)とである。
【0007】
これにより、当該電動モータに係る出力部(5)は、偏心軸(4)の回転が減速された状態で回転する。したがって、当該電動モータは、複数の歯車を用いた減速機に比べて、騒音及び振動が小さくなり得る。
【0008】
なお、当該電動モータは、例えば、以下の構成であってもよい。
すなわち、リングロータ(3)を第1リングロータ(31)とし、出力部(5)を第1出力部(51)とし、第1中心(O1)を中心として第2中心(O2)に対して180度ずれた位置を第3中心(O3)としたとき、第3中心(O3)を中心として偏心軸(4)により回転可能に支持された状態でステータ内に配置され、第3中心(O3)を中心とする環状の第2リングロータ(32)であって、ステータコイルより少ない個数の永久磁石を有するとともに、それら永久磁石のN極とS極とが外周面に沿って交互に配置された第2リングロータ(32)と、第3中心を中心とした第2リングロータ(32)の回転を出力する第2出力部(52)とを備えていてもよい。
【0009】
これにより、当該電動モータでは、第1リングロータ(31)と第2リングロータ(32)とは、互いに、第1中心(O1)を中心として円周方向に180度ずれた位置に配置されて旋回する。
【0010】
したがって、第1リングロータ(31)の旋回に伴って発生する偏心力が、第2リングロータ(32)の旋回に伴って発生する偏心力により相殺される。延いては、電動モータに発生する振動を低減することが可能となり得る。
(【0011】以降は省略されています)
この特許をJ-PlatPat(特許庁公式サイト)で参照する
関連特許
トヨタ紡織株式会社
フィルタ
13日前
トヨタ紡織株式会社
電動モータ
今日
トヨタ紡織株式会社
水流帯電装置
13日前
トヨタ紡織株式会社
電界紡糸装置
11日前
トヨタ紡織株式会社
アンカーカバー
12日前
トヨタ紡織株式会社
シートクッション
12日前
トヨタ紡織株式会社
燃料電池システム
13日前
トヨタ紡織株式会社
シートカーペット
6日前
トヨタ紡織株式会社
クッションパッド
12日前
トヨタ紡織株式会社
表皮材及び内装部品
11日前
トヨタ紡織株式会社
表皮材及び内装部品
11日前
トヨタ紡織株式会社
モータコアの製造方法
11日前
トヨタ紡織株式会社
シート用パーティション
4日前
トヨタ紡織株式会社
材料、及び材料の製造方法
4日前
トヨタ紡織株式会社
シートパッド及びシートパッドの成形型
11日前
トヨタ紡織株式会社
乗物用内装材及び乗物用内装材の製造方法
13日前
トヨタ紡織株式会社
担持粒子、混合物、及び担持粒子の製造方法
4日前
個人
電気を重力で発電装置
1か月前
個人
高圧電気機器の開閉器
20日前
キヤノン電子株式会社
モータ
1か月前
株式会社東光高岳
充電器
今日
トヨタ自動車株式会社
モータ
1か月前
株式会社アイドゥス企画
減反モータ
20日前
株式会社デンソー
端子台
13日前
株式会社デンソー
回転電機
4日前
株式会社ダイヘン
送配電装置
4日前
本田技研工業株式会社
回転電機
6日前
株式会社不二越
空冷式油圧装置
4日前
富士電機株式会社
電力変換装置
4日前
富士電機株式会社
電力変換装置
4日前
ローム株式会社
半導体集積回路
11日前
矢崎総業株式会社
電源回路
19日前
株式会社日立製作所
回転電機
11日前
矢崎総業株式会社
給電装置
12日前
株式会社東光高岳
充電対象切換システム
今日
株式会社TMEIC
制御装置
12日前
続きを見る
他の特許を見る