TOP
|
特許
|
意匠
|
商標
特許ウォッチ
Twitter
他の特許を見る
公開番号
2025179638
公報種別
公開特許公報(A)
公開日
2025-12-10
出願番号
2024086524
出願日
2024-05-28
発明の名称
情報処理装置およびプログラム
出願人
トヨタ紡織株式会社
代理人
弁理士法人 HARAKENZO WORLD PATENT & TRADEMARK
主分類
G08B
21/00 20060101AFI20251203BHJP(信号)
要約
【課題】乗員の生体情報の推定に用いるセンサを用いて事故の発生を判定する。
【解決手段】情報処理装置(1)は、乗員から座席に伝わる振動を検出するセンサ(20)から検出信号を取得する取得部(100)と、その検出信号に基づいて乗員の生体情報を推定する推定部(101)と、その検出信号に基づいて移動体が衝突事故を起こしたか否かを判定する判定部(102)とを備える。
【選択図】図3
特許請求の範囲
【請求項1】
移動体の座席に配置されており前記座席に着席する乗員から前記座席に伝わる振動を検出するセンサから、検出信号を取得する取得部と、
前記取得部が取得した前記検出信号に基づいて、前記乗員の心拍および呼吸のいずれか少なくとも一方を含む乗員の生体情報を推定する推定部と、
前記取得部が取得した前記検出信号に基づいて、前記移動体が衝突事故を起こしたか否かを判定する判定部とを備える情報処理装置。
続きを表示(約 650 文字)
【請求項2】
前記判定部は、前記検出信号の絶対値が第1閾値以上であり、かつ、前記検出信号の時間変化の傾きが第2閾値以上である場合に、前記移動体が衝突事故を起こしたと判定する請求項1に記載の情報処理装置。
【請求項3】
前記座席には、前記乗員がシートベルトを着用していることを検知する着用検知部が設けられており、
前記判定部は、前記着用検知部により前記シートベルトが着用されていることが検知された前記座席に配置されている前記センサの前記検出信号に基づいて、前記移動体が衝突事故を起こしたか否かを判定する請求項1に記載の情報処理装置。
【請求項4】
前記移動体は、前記座席を複数有し、
複数の前記座席には、前記乗員が着席する着席位置ごとに、前記センサと、前記乗員がシートベルトを着用していることを検知する着用検知部とが設けられており、
前記判定部は、前記シートベルトが着用されている前記着席位置が複数存在している場合には、前記移動体が衝突事故を起こしたと判定する条件に、前記シートベルトが着用されている複数の前記着席位置に配置されている前記センサから取得される前記検出信号の時間変化が類似していることが含まれる請求項2に記載の情報処理装置。
【請求項5】
請求項1に記載の情報処理装置としてコンピュータを機能させるためのプログラムであって、前記取得部、前記推定部および前記判定部としてコンピュータを機能させるためのプログラム。
発明の詳細な説明
【技術分野】
【0001】
本開示は、情報処理装置およびプログラムに関する。
続きを表示(約 1,400 文字)
【背景技術】
【0002】
特許文献1には、加速度センサにより検出される加速度の値が所定の閾値以上になった場合に、重大な車両事故が発生したと判定し、乗員検知センサにより検知された乗員の着座情報を管理センタへ送信する車両用緊急通報装置が開示されている。
【先行技術文献】
【特許文献】
【0003】
特開2016-30481号公報
【発明の概要】
【発明が解決しようとする課題】
【0004】
特許文献1の車両用緊急通報装置では、事故の発生の判定と、乗員の状態の判定とに、別々のセンサを用いている。本開示の一態様は、乗員の生体情報の推定に用いるセンサを用いて事故の発生を判定可能な情報処理装置の提供を目的とする。
【課題を解決するための手段】
【0005】
上記の課題を解決するために、本開示の一態様に係る情報処理装置は、移動体の座席に配置されており前記座席に着席する乗員から前記座席に伝わる振動を検出するセンサから、検出信号を取得する取得部と、前記取得部が取得した前記検出信号に基づいて、前記乗員の心拍および呼吸のいずれか少なくとも一方を含む乗員の生体情報を推定する推定部と、前記取得部が取得した前記検出信号に基づいて、前記移動体が衝突事故を起こしたか否かを判定する判定部とを備える。
【0006】
本開示の各態様に係る情報処理装置は、コンピュータによって実現してもよく、この場合には、コンピュータを前記情報処理装置が備える各部(ソフトウェア要素)として動作させることにより前記情報処理装置をコンピュータにて実現させる情報処理装置のプログラム、およびそれを記録したコンピュータ読み取り可能な記録媒体も、本開示の範疇に入る。
【発明の効果】
【0007】
本開示の一態様によれば、乗員の生体情報の推定に用いるセンサを用いて事故の発生を判定できる。
【図面の簡単な説明】
【0008】
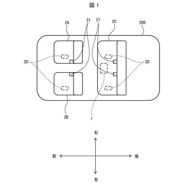
本開示の一実施形態に係る情報処理装置を搭載した移動体の内部構造の一例を示す図である。
センサの配置位置の説明に用いる図である。
本開示の一実施形態に係る情報処理装置の一構成例を示す図である。
図3の判定部の処理の説明に用いる図である。
本開示の一実施形態に係る情報処理装置の処理の流れを示すフローチャートである。
【発明を実施するための形態】
【0009】
図1は、本開示の一実施形態に係る情報処理装置を搭載した移動体の内部構造の一例を示す図である。以下、図1に矢印で示されるように、前後方向および左右方向を定義する。図1に示す移動体200は、自動車であって、車室内に乗員が着席可能な座席2A、2Bおよび2Cを備えている。座席2Aは移動体200の運転席であり、座席2Bは移動体200の助手席であり、座席2Cは移動体200の後部座席であり、2人の乗員が着席可能である。
【0010】
情報処理装置1は、移動体200に搭載されている。情報処理装置1は、衝突事故等の事故の影響を受け難い位置に配置されている。図1では、情報処理装置1は、座席2Cの下に配置されている。
(【0011】以降は省略されています)
この特許をJ-PlatPat(特許庁公式サイト)で参照する
関連特許
トヨタ紡織株式会社
フィルタ
15日前
トヨタ紡織株式会社
電動モータ
2日前
トヨタ紡織株式会社
複合表皮材
今日
トヨタ紡織株式会社
乗物用シート
21日前
トヨタ紡織株式会社
搬送システム
1か月前
トヨタ紡織株式会社
シートバック
1か月前
トヨタ紡織株式会社
シートバック
1か月前
トヨタ紡織株式会社
乗物用シート
1か月前
トヨタ紡織株式会社
振動刺激装置
21日前
トヨタ紡織株式会社
電界紡糸装置
13日前
トヨタ紡織株式会社
水流帯電装置
今日
トヨタ紡織株式会社
水流帯電装置
15日前
トヨタ紡織株式会社
アンカーカバー
14日前
トヨタ紡織株式会社
ロックシステム
1か月前
トヨタ紡織株式会社
乗り物用シート
1か月前
トヨタ紡織株式会社
乗り物用シート
1か月前
トヨタ紡織株式会社
シート回転装置
今日
トヨタ紡織株式会社
クッションパッド
14日前
トヨタ紡織株式会社
乗物用シート装置
1か月前
トヨタ紡織株式会社
燃料電池システム
1か月前
トヨタ紡織株式会社
ロータの製造装置
1か月前
トヨタ紡織株式会社
乗物用シート装置
1か月前
トヨタ紡織株式会社
シートクッション
14日前
トヨタ紡織株式会社
シートカーペット
8日前
トヨタ紡織株式会社
燃料電池スタック
1か月前
トヨタ紡織株式会社
燃料電池システム
15日前
トヨタ紡織株式会社
表皮材及び内装部品
13日前
トヨタ紡織株式会社
表皮材及び内装部品
13日前
トヨタ紡織株式会社
モータコアの製造方法
13日前
トヨタ紡織株式会社
パーソナルブース装置
21日前
トヨタ紡織株式会社
コネクタ及び二次電池
1か月前
トヨタ紡織株式会社
パーソナルブース装置
21日前
トヨタ紡織株式会社
シート用パーティション
6日前
トヨタ紡織株式会社
シートリクライニング装置
1日前
トヨタ紡織株式会社
材料、及び材料の製造方法
6日前
トヨタ紡織株式会社
配車装置およびプログラム
1か月前
続きを見る
他の特許を見る