TOP
|
特許
|
意匠
|
商標
特許ウォッチ
Twitter
他の特許を見る
公開番号
2025162124
公報種別
公開特許公報(A)
公開日
2025-10-27
出願番号
2024065246
出願日
2024-04-15
発明の名称
燃料電池システム
出願人
トヨタ紡織株式会社
代理人
弁理士法人平田国際特許事務所
主分類
H01M
8/04 20160101AFI20251020BHJP(基本的電気素子)
要約
【課題】ポンプを用いることなく、水素オフガスから回収した未反応の水素ガスを燃料電池に供給することが可能な燃料電池システムを提供する。
【解決手段】燃料電池システム1は、燃料電池2と、燃料電池2に水素ガスを供給する水素供給流路40と、水素供給流路40に設けられた可変レギュレータ43と、燃料電池2が排出する水素オフガスから得られた回収水素ガスをバッファタンク520bに貯留する気液分離器52と、気液分離器52の前段に設けられたリリーフバルブ51と、燃料電池2から水素供給流路40の下流流路402に至る循環流路50と、可変レギュレータ43及びリリーフバルブ51を制御する制御装置6とを備える。制御装置6は、リリーフバルブ51を閉状態とすると共に可変レギュレータ43の制御によって下流流路402の圧力をバッファタンク520bの圧力以下にして、バッファタンク520bの回収水素ガスを下流流路402に還流させる。
【選択図】図1
特許請求の範囲
【請求項1】
水素ガスと酸素ガスとの電気化学反応により発電し、未反応の前記水素ガス及び水分を含む水素オフガスを排出する燃料電池と、
水素供給源から前記燃料電池に前記水素ガスを供給する水素供給流路と、
前記水素供給流路の途中に設けられた水素ガス供給弁と、
前記水素オフガスから水分を分離して回収水素ガスを得ると共に、前記回収水素ガスをバッファタンクに貯留する気液分離器と、
前記気液分離器と前記燃料電池との間に設けられたリリーフバルブと、
前記気液分離器と前記水素供給流路との間に設けられた逆止弁と、
前記燃料電池の排出口から前記リリーフバルブ、前記気液分離器、及び前記逆止弁を経て前記水素供給流路における前記水素ガス供給弁と前記燃料電池との間の下流流路に接続された循環流路と、
前記水素ガス供給弁及び前記リリーフバルブを制御する制御装置と、を備え、
前記制御装置は、前記バッファタンクに貯留された前記回収水素ガスを前記下流流路に還流させるとき、前記リリーフバルブを閉状態とすると共に前記水素ガス供給弁の制御によって前記下流流路における圧力を前記バッファタンクの圧力以下とする、
燃料電池システム。
続きを表示(約 240 文字)
【請求項2】
前記バッファタンクの圧力を検出する圧力センサを備え、
前記制御装置は、前記圧力センサの検出値が所定値以上となったときに前記バッファタンクに貯留された前記回収水素ガスを前記下流流路に還流させる、
請求項1に記載の燃料電池システム。
【請求項3】
前記制御装置は、前記圧力センサの検出値が前記所定値未満のとき、前記リリーフバルブを断続的に開閉し、前記バッファタンクの圧力を徐々に上昇させる、
請求項2に記載の燃料電池システム。
発明の詳細な説明
【技術分野】
【0001】
本発明は、燃料電池に水素ガスを供給して発電を行う燃料電池システムに関する。
続きを表示(約 1,500 文字)
【背景技術】
【0002】
従来、水素タンクから燃料電池に水素ガスを供給して得られた電力を電動モータに供給し、電動モータを駆動源として車両を走行させる燃料電池車が開発されている(例えば、特許文献1、2参照)。
【0003】
特許文献1、2に記載の燃料電池システムは、燃料電池から排出された水分を含む水素オフガスから気液分離器によって未反応の水素ガスを回収し、回収した水素ガスを再度ポンプによって燃料電池に供給するように構成されている。
【先行技術文献】
【特許文献】
【0004】
特開2022-8089号公報
特開2021-77481号公報
【発明の概要】
【発明が解決しようとする課題】
【0005】
特許文献1、2に記載の燃料電池システムでは、燃料電池によって発電した電力の一部をポンプの作動のために用いなければならず、ポンプの作動のために電力効率が低下してしまっていた。
【0006】
そこで、本発明は、ポンプを用いることなく、水素オフガスから回収した未反応の水素ガスを燃料電池に供給することが可能な燃料電池システムを提供することを目的とする。
【課題を解決するための手段】
【0007】
本発明は、上記の目的を達成するため、水素ガスと酸素ガスとの電気化学反応により発電し、未反応の前記水素ガス及び水分を含む水素オフガスを排出する燃料電池と、水素供給源から前記燃料電池に前記水素ガスを供給する水素供給流路と、前記水素供給流路の途中に設けられた水素ガス供給弁と、前記水素オフガスから水分を分離して回収水素ガスを得ると共に、前記回収水素ガスをバッファタンクに貯留する気液分離器と、前記気液分離器と前記燃料電池との間に設けられたリリーフバルブと、前記気液分離器と前記水素供給流路との間に設けられた逆止弁と、前記燃料電池の排出口から前記リリーフバルブ、前記気液分離器、及び前記逆止弁を経て前記水素供給流路における前記水素ガス供給弁と前記燃料電池との間の下流流路に接続された循環流路と、前記水素ガス供給弁及び前記リリーフバルブを制御する制御装置と、を備え、前記制御装置は、前記バッファタンクに貯留された前記回収水素ガスを前記下流流路に還流させるとき、前記リリーフバルブを閉状態とすると共に前記水素ガス供給弁の制御によって前記下流流路における圧力を前記バッファタンクの圧力以下とする、燃料電池システムを提供する。
【発明の効果】
【0008】
本発明に係る燃料電池システムによれば、ポンプを用いることなく、水素オフガスから回収した未反応の水素ガスを燃料電池に供給することが可能となる。
【図面の簡単な説明】
【0009】
本発明の実施の形態に係る燃料電池システムの構成例を模式的に示す概略構成図である。
気液分離器の構成例をその周辺部の構成と共に示す概略構成図である。
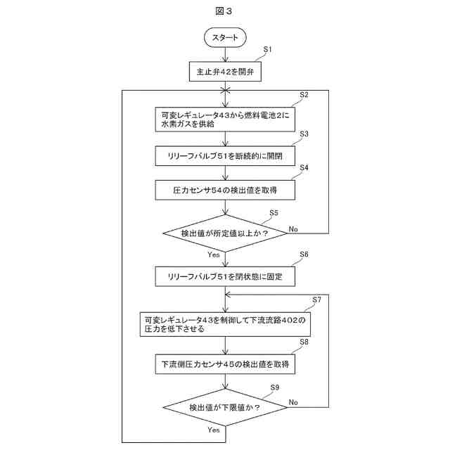
制御装置が実行する処理の手順の一例を示すフローチャートである。
通常モード時及び循環モード時における圧力センサ及び下流側圧力センサの検出値の推移の一例をリリーフバルブの開閉状態の変化と共に示すグラフである。
【発明を実施するための形態】
【0010】
[実施の形態]
図1は、本発明の実施の形態に係る燃料電池システム1の構成例を模式的に示す概略構成図である。この燃料電池システム1は、例えば電動モータを駆動源として有する燃料電池車に搭載され、電動モータに供給するための電力を発生する。
(【0011】以降は省略されています)
この特許をJ-PlatPat(特許庁公式サイト)で参照する
関連特許
東ソー株式会社
絶縁電線
29日前
APB株式会社
蓄電セル
27日前
個人
フレキシブル電気化学素子
1か月前
株式会社東芝
端子台
21日前
株式会社ユーシン
操作装置
1か月前
日新イオン機器株式会社
イオン源
1か月前
マクセル株式会社
電源装置
21日前
ローム株式会社
半導体装置
28日前
株式会社GSユアサ
蓄電設備
1か月前
富士電機株式会社
電磁接触器
今日
株式会社GSユアサ
蓄電装置
今日
株式会社GSユアサ
蓄電装置
22日前
株式会社GSユアサ
蓄電装置
14日前
太陽誘電株式会社
コイル部品
1か月前
株式会社GSユアサ
蓄電設備
1か月前
株式会社GSユアサ
蓄電装置
22日前
オムロン株式会社
電磁継電器
1か月前
株式会社ホロン
冷陰極電子源
1か月前
三菱電機株式会社
回路遮断器
8日前
日新イオン機器株式会社
基板処理装置
24日前
トヨタ自動車株式会社
蓄電装置
1か月前
トヨタ自動車株式会社
冷却構造
29日前
サクサ株式会社
電池の固定構造
1か月前
トヨタ自動車株式会社
バッテリ
27日前
北道電設株式会社
配電具カバー
27日前
ノリタケ株式会社
熱伝導シート
1か月前
トヨタ自動車株式会社
蓄電装置
22日前
日本特殊陶業株式会社
保持装置
1か月前
日本特殊陶業株式会社
保持装置
13日前
古河電気工業株式会社
端子
1か月前
日亜化学工業株式会社
半導体レーザ素子
24日前
ヒロセ電機株式会社
電気コネクタ
今日
株式会社トクヤマ
シリコンエッチング液
1か月前
株式会社デンソー
電子装置
24日前
トヨタ自動車株式会社
密閉型電池
23日前
住友電装株式会社
コネクタ
29日前
続きを見る
他の特許を見る