TOP
|
特許
|
意匠
|
商標
特許ウォッチ
Twitter
他の特許を見る
10個以上の画像は省略されています。
公開番号
2025179332
公報種別
公開特許公報(A)
公開日
2025-12-10
出願番号
2024086022
出願日
2024-05-28
発明の名称
シートリクライニング装置
出願人
トヨタ紡織株式会社
代理人
弁理士法人岡田国際特許事務所
主分類
A47C
1/025 20060101AFI20251203BHJP(家具;家庭用品または家庭用設備;コーヒーひき;香辛料ひき;真空掃除機一般)
要約
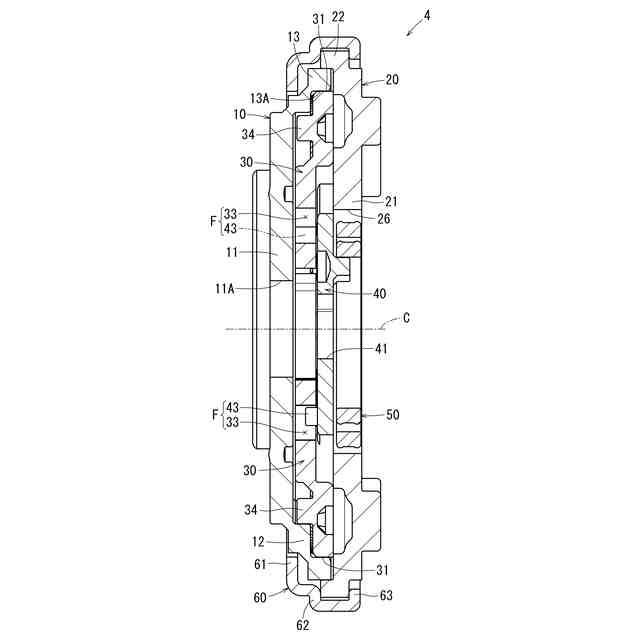
【課題】ロック解除時のポールの双方向の傾ぎを抑制可能なシートリクライニング装置を提供すること。
【解決手段】シートリクライニング装置4は、互いに中心軸線のまわりに回転可能なように連結されるラチェット10及びガイド20と、ガイド20に中心軸線のまわりに回転可能なように組み付けられるカム40と、ガイド20により回転方向の両側から支持されてカム40の一方向の回転により半径方向の外側に押し出されてラチェット10に回転をロックするように噛合する3つのポール30と、カム40と各ポール30との間に形成される係合部Fと、を有する。係合部Fは、カム40の他方向の回転により各ポール30を半径方向の内側に引き込むように係合する。係合部Fは、各ポール30の回転方向の中心を挟む2箇所の位置において、カム40を各ポール30に半径方向の外側から当接させる係合構造とされる。
【選択図】図11
特許請求の範囲
【請求項1】
シートリクライニング装置であって、
互いにリクライニングの中心軸線のまわりに回転可能なように連結されるラチェット及びガイドと、
該ガイドに前記中心軸線のまわりに回転可能なように組み付けられるカムと、
前記ガイドにより回転方向の両側から支持され、前記カムの一方向の回転により半径方向の外側に押し出されて前記ラチェットに回転をロックするように噛合する少なくとも1つのポールと、
前記カム又はこれと一体化される部材のどちらかを成す引込み部材と前記ポールとの間に形成され、前記カムの他方向の回転により前記ポールを半径方向の内側に引き込むように係合する係合部と、を有し、
前記係合部が、前記ポールの回転方向の中心を挟む2箇所の位置において前記引込み部材を前記ポールに半径方向の外側から当接させるシートリクライニング装置。
続きを表示(約 370 文字)
【請求項2】
請求項1に記載のシートリクライニング装置であって、
前記係合部が、前記ポールに形成される軸方向に窪む引込み孔と、前記カムの回転方向の2箇所の位置から前記引込み孔に入り込むように軸方向に突出する2つの引込みピンと、を有し、前記カムの前記他方向の回転により2つの前記引込みピンが前記引込み孔の回転方向に並ぶ2つの孔内周面に半径方向の外側から当接する構成とされ、
2つの前記孔内周面が、互いに前記中心軸線のまわりに回転対称となる形状とされるシートリクライニング装置。
【請求項3】
請求項1又は請求項2に記載のシートリクライニング装置であって、
前記ポールが、回転方向に複数設けられ、
前記係合部が、全ての前記ポールと前記引込み部材との間に設けられるシートリクライニング装置。
発明の詳細な説明
【技術分野】
【0001】
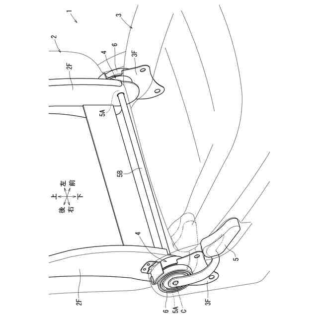
本発明は、シートリクライニング装置に関する。詳しくは、シートバックの背凭れ角度を調節可能なロック機構を備えるシートリクライニング装置に関する。
続きを表示(約 1,400 文字)
【背景技術】
【0002】
特許文献1には、シートバックの背凭れ角度を調節するためのシートリクライニング装置が開示されている。このシートリクライニング装置は、互いにリクライニングの中心軸線まわりに回転可能なように組み付けられるラチェットとガイドとを備える。ラチェットは、シートバックに結合される。ガイドは、シートクッションに結合される。
【0003】
ラチェットとガイドとの間には、これらの相対回転をロックするための2つのポールが設けられている。各ポールは、ガイドに対して、半径方向の内外方にのみ移動可能となるように回転方向の両側から支持されている。
【0004】
各ポールは、ガイドの中心部に設けられたカムがばね付勢力によって一方向に回されることにより、半径方向の外側に押し出されてラチェットと噛合する。それにより、各カムを介してラチェットとガイドとの相対回転がロックされる。
【0005】
各ポールは、カムが他方向に回される操作に伴い、半径方向の内側に引き込まれてラチェットとの噛合から外される。それにより、ラチェットとガイドとの回転ロック状態が解除される。
【0006】
具体的には、各ポールは、カムにより半径方向の内側に引き込まれる際に、併せてカムから回転方向に傾けられる力を受けるようになっている。それにより、各ポールは、ラチェットに掛かる背凭れ荷重(後方荷重)により回転方向に傾けられる負荷を受けていても、カムによりその傾きが打ち消されるように力を受けながら内側に引き込まれるようになっている。その結果、各ポールを両サイドのガイド壁に強く押し付けることなく、内側に比較的軽い力で引き込むことができる。
【先行技術文献】
【特許文献】
【0007】
特開2001-265号公報
【発明の概要】
【発明が解決しようとする課題】
【0008】
特許文献1に記載の構成では、ラチェットに掛かる前方荷重に対しては、各ポールの傾ぎを抑制するような引き込みが行えない。そこで、本発明は、ロック解除時のポールの双方向の傾ぎを抑制可能なシートリクライニング装置を提供する。
【課題を解決するための手段】
【0009】
上記課題を解決する手段として、本発明のシートリクライニング装置は、次の手段をとる。
【0010】
すなわち、本発明の第1の発明は、シートリクライニング装置であって、互いにリクライニングの中心軸線のまわりに回転可能なように連結されるラチェット及びガイドと、該ガイドに前記中心軸線のまわりに回転可能なように組み付けられるカムと、前記ガイドにより回転方向の両側から支持され、前記カムの一方向の回転により半径方向の外側に押し出されて前記ラチェットに回転をロックするように噛合する少なくとも1つのポールと、前記カム又はこれと一体化される部材のどちらかを成す引込み部材と前記ポールとの間に形成され、前記カムの他方向の回転により前記ポールを半径方向の内側に引き込むように係合する係合部と、を有し、前記係合部が、前記ポールの回転方向の中心を挟む2箇所の位置において前記引込み部材を前記ポールに半径方向の外側から当接させるシートリクライニング装置である。
(【0011】以降は省略されています)
この特許をJ-PlatPat(特許庁公式サイト)で参照する
関連特許
トヨタ紡織株式会社
電動モータ
2日前
トヨタ紡織株式会社
複合表皮材
今日
トヨタ紡織株式会社
水流帯電装置
今日
トヨタ紡織株式会社
シート回転装置
今日
トヨタ紡織株式会社
シートカーペット
8日前
トヨタ紡織株式会社
シート用パーティション
6日前
トヨタ紡織株式会社
シートリクライニング装置
1日前
トヨタ紡織株式会社
材料、及び材料の製造方法
6日前
トヨタ紡織株式会社
情報処理装置およびプログラム
1日前
トヨタ紡織株式会社
情報処理装置、移動体およびプログラム
1日前
トヨタ紡織株式会社
担持粒子、混合物、及び担持粒子の製造方法
6日前
個人
箸
1か月前
個人
家具
5か月前
個人
椅子
3か月前
個人
自助箸
7か月前
個人
掃除機
9か月前
個人
耳拭き棒
11か月前
個人
枕
9か月前
個人
掃除道具
9か月前
個人
ソファー
2か月前
個人
屋外用箒
8か月前
個人
多用途紐
1か月前
個人
ハンガー
7か月前
個人
枕
6か月前
個人
掃除用具
4か月前
個人
体洗い具
11か月前
個人
物品
3か月前
個人
片手代替具
12か月前
個人
組立式棚板
8か月前
個人
開閉トング
7か月前
個人
掃除シート
10か月前
個人
省煙消臭器
9か月前
個人
転倒防止装置
5か月前
個人
中身のない枕
8か月前
個人
靴ベラ
3か月前
個人
洗面台
11か月前
続きを見る
他の特許を見る