TOP
|
特許
|
意匠
|
商標
特許ウォッチ
Twitter
他の特許を見る
10個以上の画像は省略されています。
公開番号
2025139803
公報種別
公開特許公報(A)
公開日
2025-09-29
出願番号
2024038840
出願日
2024-03-13
発明の名称
剥離装置及び積層体の剥離方法
出願人
トヨタ紡織株式会社
代理人
弁理士法人暁合同特許事務所
主分類
B65H
41/00 20060101AFI20250919BHJP(運搬;包装;貯蔵;薄板状または線条材料の取扱い)
要約
【課題】積層体を構成する各層を確実に分離させることができる剥離装置、および剥離方法を提供する。
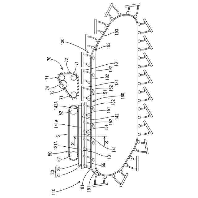
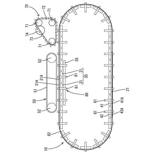
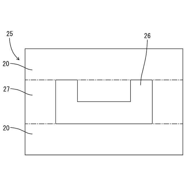
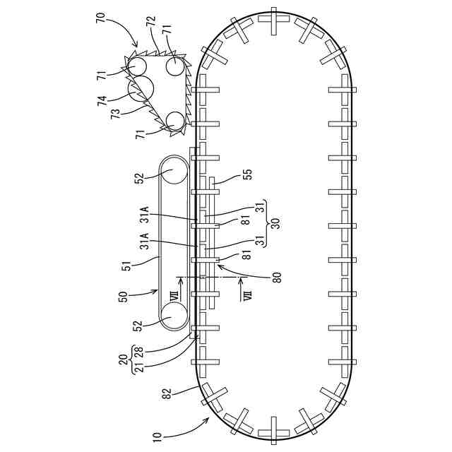
【解決手段】積層体20を搬送すると共に複数の単位搬送部31を備える搬送部30と、積層体20を加熱しつつ押圧する加熱プレス部50と、積層体20の第2層22を第1層21から剥離する剥離部70と、隣り合う2つの単位搬送部31のうち一方の単位搬送部41の表面41Aと他方の単位搬送部42の表面42Aの高さが同じである第1状態と、一方の単位搬送部41の表面41Aと他方の単位搬送部42の表面42Aの間に段差が生じている第2状態との間で変更可能な状態変更部80と、を備える。
【選択図】図6
特許請求の範囲
【請求項1】
熱可塑性樹脂を含む第1層と、第2層と、を備える積層体を搬送すると共に、前記積層体の搬送方向に沿って並ぶ複数の単位搬送部を備える搬送部と、
前記搬送部により搬送される前記積層体を加熱しつつ押圧することで、前記複数の単位搬送部の各表面に対して前記第1層を溶着させる加熱プレス部と、
前記加熱プレス部に対して、前記搬送部による前記積層体の搬送方向の下流側に配され、前記第2層を前記第1層から剥離する剥離部と、
前記複数の単位搬送部のうち隣り合う2つの単位搬送部において一方の単位搬送部の表面と他方の単位搬送部の表面の高さが同じである第1状態と、前記一方の単位搬送部の表面と前記他方の単位搬送部の表面の間に段差が生じている第2状態との間で変更可能な状態変更部と、を備える、剥離装置。
続きを表示(約 1,400 文字)
【請求項2】
前記状態変更部は、前記一方の単位搬送部を上下動させることが可能なアクチュエータである、請求項1に記載の剥離装置。
【請求項3】
前記状態変更部は、前記積層体の搬送方向に沿って延びる第1ガイドレール及び第2ガイドレールと、前記複数の単位搬送部の各々から下方に延びると共に前記搬送方向に沿って並ぶ一対の脚部と、を備え、
前記第1ガイドレール及び前記第2ガイドレールは、前記搬送方向と直交する方向に沿って並ぶ形で配され、
前記一対の脚部のうち前記搬送方向の上流側に配される一方の脚部は、他方の脚部に対して前記単位搬送部からの延設長さが短く設定され、
前記複数の単位搬送部の各々は、前記一方の脚部が前記第1ガイドレールによって支持されると共に、前記他方の脚部が前記第2ガイドレールによって支持された状態で、前記第1ガイドレール及び前記第2ガイドレールの双方に沿って変位可能とされ、
前記第1ガイドレールは、前記単位搬送部の表面に対して平行状に延びる第1上流側レール部と、前記第1上流側レール部から前記下流側に延びると共に前記第1上流側レール部から遠ざかるにつれて下降傾斜する形で延びる第1下流側レール部と、を備え、
前記第2ガイドレールは、前記搬送方向において前記第1上流側レール部と同じ位置に配される第2上流側レール部と、前記搬送方向において前記第1下流側レール部と同じ位置に配される第2下流側レール部と、を備え、
前記第2上流側レール部は、前記第1上流側レール部に対して平行状に延びると共に前記一対の脚部の各延設長さの差の分だけ低い位置に配されており、
前記第2下流側レール部は、前記第1下流側レール部に対して平行状に延びると共に同じ高さに配されており、
前記第1状態においては、前記2つの単位搬送部の前記一方の脚部の各々が前記第1上流側レール部に支持されると共に、前記2つの単位搬送部の前記他方の脚部の各々が前記第2上流側レール部に支持されることで、前記他方の単位搬送部の表面が前記一方の単位搬送部の表面に対して平行状をなすと共に同じ高さに配されており、
前記第2状態においては、前記2つの単位搬送部のうち前記上流側に配される前記一方の単位搬送部における前記一方の脚部が前記第1上流側レール部に支持されると共に前記一方の単位搬送部における前記他方の脚部が前記第2上流側レール部に支持されており、前記他方の単位搬送部における前記一方の脚部が前記第1下流側レール部に支持されると共に前記他方の単位搬送部における前記他方の脚部が前記第2下流側レール部に支持されることで、前記他方の単位搬送部の表面が前記一方の単位搬送部の表面に対して平行状をなすと共に低い位置に配される、請求項1に記載の剥離装置。
【請求項4】
熱可塑性樹脂を含む第1層と、第2層と、を備える積層体を複数の単位搬送部を備える搬送部によって搬送しつつ、前記積層体を加熱しつつ押圧することで、前記積層体の搬送方向に沿って並ぶ前記複数の単位搬送部の各表面に対して前記第1層を溶着させる加熱プレス工程と、
前記加熱プレス工程の後に実行され、前記第2層を前記第1層から剥離する剥離工程と、
前記剥離工程の後に実行され、前記複数の単位搬送部のうち隣り合う2つの単位搬送部において一方の単位搬送部の表面と他方の単位搬送部の表面との間に段差を生じさせる段差形成工程と、を備える、積層体の剥離方法。
発明の詳細な説明
【技術分野】
【0001】
本明細書で開示される技術は、剥離装置及び積層体の剥離方法に関する。
続きを表示(約 2,900 文字)
【背景技術】
【0002】
従来、使用済みの積層体を再利用するために、積層体を構成する各層を分離させることが求められている。下記特許文献1には、バッキング層及び基布を備える積層体(タイルカーペット)を押圧固定手段で固定しつつ、剥離手段(基布剥取り手段)を用いてバッキング層から基布を剥ぎ取る剥離方法が記載されている。
【先行技術文献】
【特許文献】
【0003】
特開2013-147773号公報
【発明の概要】
【発明が解決しようとする課題】
【0004】
上記特許文献1の剥離方法では、基布側の面を押圧することで積層体を固定しているため、基布の全面に剥離手段を接触させることが困難である。このため、基布の一部がバッキング層から剥離せず、バッキング層側に残ってしまう事態が懸念される。また、積層体を押圧して固定する方法では、剥離時に積層体が動いてしまい、剥離作業の妨げになる事態が懸念される。
【0005】
本明細書で開示される技術は上記のような事情に基づいて完成されたものであって、積層体を構成する各層を確実に分離させることができる剥離装置、及び積層体の剥離方法を提供することを目的とする。
【課題を解決するための手段】
【0006】
上記課題を解決するための手段として、本明細書で開示される剥離装置は、熱可塑性樹脂を含む第1層と、第2層と、を備える積層体を搬送すると共に、前記積層体の搬送方向に沿って並ぶ複数の単位搬送部を備える搬送部と、前記搬送部により搬送される前記積層体を加熱しつつ押圧することで、前記複数の単位搬送部の各表面に対して前記第1層を溶着させる加熱プレス部と、前記加熱プレス部に対して、前記搬送部による前記積層体の搬送方向の下流側に配され、前記第2層を前記第1層から剥離する剥離部と、前記複数の単位搬送部のうち隣り合う2つの単位搬送部において一方の単位搬送部の表面と他方の単位搬送部の表面の高さが同じである第1状態と、前記一方の単位搬送部の表面と前記他方の単位搬送部の表面の間に段差が生じている第2状態との間で変更可能な状態変更部と、を備えることを特徴とする。
【0007】
第1状態にある複数の単位搬送部に対して第1層を溶着させることで、積層体を単位搬送部に対して固定することができ、剥離部によって第1層から第2層を確実に剥離することができる。また、第2層側から押え付けて積層体を固定する必要がないため、第2層の全面に亘って、剥離部を当接させることができ、第2層の一部が第1層側に残る事態を抑制できる。さらに、複数の単位搬送部に第1層が溶着した状態で、複数の単位搬送部を第2状態にすることで隣り合う2つの単位搬送部の両表面に段差を生じさせることができる。これにより、2つの単位搬送部のうち一方の単位搬送部の表面から遠ざかる方向に第1層に対して力を作用させることができ、この単位搬送部から第1層を分離させ易くすることができる。これにより、第1層を単位搬送部から容易に取り外して回収することができる。
【0008】
また、前記状態変更部は、前記一方の単位搬送部を上下動させることが可能なアクチュエータであるものとすることができる。一方の単位搬送部をアクチュエータによって上下動させることで一方の単位搬送部の表面と他方の単位搬送部の表面との間に段差を生じさせることができる。
【0009】
また、前記状態変更部は、前記積層体の搬送方向に沿って延びる第1ガイドレール及び第2ガイドレールと、前記複数の単位搬送部の各々から下方に延びると共に前記搬送方向に沿って並ぶ一対の脚部と、を備え、前記第1ガイドレール及び前記第2ガイドレールは、前記搬送方向と直交する方向に沿って並ぶ形で配され、前記一対の脚部のうち前記搬送方向の上流側に配される一方の脚部は、他方の脚部に対して前記単位搬送部からの延設長さが短く設定され、前記複数の単位搬送部の各々は、前記一方の脚部が前記第1ガイドレールによって支持されると共に、前記他方の脚部が前記第2ガイドレールによって支持された状態で、前記第1ガイドレール及び前記第2ガイドレールの双方に沿って変位可能とされ、前記第1ガイドレールは、前記単位搬送部の表面に対して平行状に延びる第1上流側レール部と、前記第1上流側レール部から前記下流側に延びると共に前記第1上流側レール部から遠ざかるにつれて下降傾斜する形で延びる第1下流側レール部と、を備え、
前記第2ガイドレールは、前記搬送方向において前記第1上流側レール部と同じ位置に配される第2上流側レール部と、前記搬送方向において前記第1下流側レール部と同じ位置に配される第2下流側レール部と、を備え、前記第2上流側レール部は、前記第1上流側レール部に対して平行状に延びると共に前記一対の脚部の各延設長さの差の分だけ低い位置に配されており、前記第2下流側レール部は、前記第1下流側レール部に対して平行状に延びると共に同じ高さに配されており、前記第1状態においては、前記2つの単位搬送部の前記一方の脚部の各々が前記第1上流側レール部に支持されると共に、前記2つの単位搬送部の前記他方の脚部の各々が前記第2上流側レール部に支持されることで、前記他方の単位搬送部の表面が前記一方の単位搬送部の表面に対して平行状をなすと共に同じ高さに配されており、前記第2状態においては、前記2つの単位搬送部のうち前記上流側に配される前記一方の単位搬送部における前記一方の脚部が前記第1上流側レール部に支持されると共に前記一方の単位搬送部における前記他方の脚部が前記第2上流側レール部に支持されており、前記他方の単位搬送部における前記一方の脚部が前記第1下流側レール部に支持されると共に前記他方の単位搬送部における前記他方の脚部が前記第2下流側レール部に支持されることで、前記他方の単位搬送部の表面が前記一方の単位搬送部の表面に対して平行状をなすと共に低い位置に配されるものとすることができる。
【0010】
上記構成では、第1ガイドレール及び第2ガイドレールの双方に沿って複数の単位搬送部を変位させることで、隣り合う2つの単位搬送部を第1状態から第2状態に変更することができる。より詳しくは、第1状態では、2つの単位搬送部の双方が、第1上流側レール部及び第2上流側レール部に支持されている。ここで、単位搬送部が有する2つの脚部において、上流側に配される一方の脚部は、他方の脚部に対して単位搬送部からの延設長さが短く設定されている。そして、他方の脚部を支持する第2上流側レール部は、一方の脚部を支持する第1上流側レール部に対して一対の脚部の各延設長さの差の分だけ低い位置に配されている。このため、第1状態では、他方の単位搬送部の表面が一方の単位搬送部の表面に対して平行状をなすと共に同じ高さに配される。
(【0011】以降は省略されています)
この特許をJ-PlatPat(特許庁公式サイト)で参照する
関連特許
トヨタ紡織株式会社
搬送システム
13日前
トヨタ紡織株式会社
乗物用シート
2日前
トヨタ紡織株式会社
シートバック
2日前
トヨタ紡織株式会社
シートバック
2日前
トヨタ紡織株式会社
乗物用シート
24日前
トヨタ紡織株式会社
乗物用シート
24日前
トヨタ紡織株式会社
乗り物用シート
3日前
トヨタ紡織株式会社
乗り物用シート
3日前
トヨタ紡織株式会社
ロックシステム
10日前
トヨタ紡織株式会社
乗物用照明装置
23日前
トヨタ紡織株式会社
燃料電池の単セル
24日前
トヨタ紡織株式会社
燃料電池スタック
23日前
トヨタ紡織株式会社
燃料電池システム
13日前
トヨタ紡織株式会社
乗物用シート装置
2日前
トヨタ紡織株式会社
ロータの製造装置
11日前
トヨタ紡織株式会社
乗物用シート装置
4日前
トヨタ紡織株式会社
シート制御システム
26日前
トヨタ紡織株式会社
コネクタ及び二次電池
10日前
トヨタ紡織株式会社
配車装置およびプログラム
13日前
トヨタ紡織株式会社
乗物用シートのアームレスト
12日前
豊田合成株式会社
車両用投影装置
18日前
豊田合成株式会社
車両用照明装置
18日前
トヨタ紡織株式会社
車両用ヘッドレスト及び車両用シート
4日前
トヨタ紡織株式会社
熱可塑性樹脂組成物及びその製造方法
1か月前
トヨタ紡織株式会社
シートパッド及びシートパッドの成形型
11日前
トヨタ紡織株式会社
繊維状物質及びその製造方法並びに粉体
1か月前
トヨタ紡織株式会社
繊維状複合体及びその製造方法並びに粉体
1か月前
トヨタ紡織株式会社
熱可塑性樹脂組成物及びその製造方法並びに成形体
1か月前
株式会社ハイレックスコーポレーション
ケーブル連結機構
5日前
トヨタ紡織株式会社
パーティション装置、パーティションシステム、及び制御装置
23日前
トヨタ紡織株式会社
燃料電池用セパレータの製造装置及び燃料電池用セパレータの製造方法
24日前
個人
収容箱
3か月前
個人
コンベア
5か月前
個人
段ボール箱
7か月前
個人
ゴミ収集器
7か月前
個人
容器
9か月前
続きを見る
他の特許を見る