TOP
|
特許
|
意匠
|
商標
特許ウォッチ
Twitter
他の特許を見る
公開番号
2025155882
公報種別
公開特許公報(A)
公開日
2025-10-14
出願番号
2025019582
出願日
2025-02-07
発明の名称
シート制御システム
出願人
トヨタ紡織株式会社
,
豊田紡織(中国)有限公司
代理人
名古屋国際弁理士法人
主分類
B60N
2/18 20060101AFI20251002BHJP(車両一般)
要約
【課題】シートの姿勢を調整する際に、シートの構成部品同士の干渉を避けるとともに、乗員への不快感を抑制することができるシート制御システムを提供する。
【解決手段】シート制御システムは、クッションフレームがリフタ装置により規定の高さより低い位置に変位させられている場合は、リフタ装置によりクッションフレームを規定の高さ又はそれよりも高い位置に変位させた後に、チルト装置によりクッションフレームの前端側を上方向に揺動させる。クッションフレームがリフタ装置により規定の高さ又はそれより高い位置に変位させられている場合は、リフタ装置に対してクッションフレームを上下方向に変位させる指令を行うことなく、チルト装置によりクッションフレームの前端側を上方向に揺動させる。
【選択図】図2
特許請求の範囲
【請求項1】
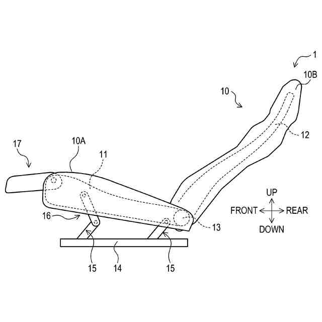
シートクッションと、
前記シートクッションに対してシート前後方向に揺動可能なシートバックと、
前記シートクッションを支持するクッションフレームと、
前記クッションフレームを上下方向に変位させるリフタ装置と、
前記クッションフレームの前端側を前記上下方向に揺動させるチルト装置と、
操作信号の受信に基づき、前記シートクッション及び前記シートバックの姿勢を制御する制御装置と、
を備え、
前記制御装置は、前記チルト装置により前記クッションフレームの前記前端側を上方向に揺動させる旨の操作信号を受信したとき、前記クッションフレームが前記リフタ装置により規定の高さより低い位置に変位させられている場合は、前記リフタ装置に指令して前記クッションフレームを前記規定の高さ又はそれよりも高い位置に変位させた後に、前記チルト装置に対して前記クッションフレームの前記前端側を前記上方向に揺動させる指令を行い、一方、前記クッションフレームが前記リフタ装置により前記規定の高さ又はそれより高い位置に変位させられている場合は、前記リフタ装置に対して前記クッションフレームを前記上下方向に変位させる指令を行うことなく、前記チルト装置に対して前記クッションフレームの前記前端側を前記上方向に揺動させる指令を行う、ように構成される、シート制御システム。
続きを表示(約 2,700 文字)
【請求項2】
前記制御装置は、前記チルト装置に対して前記クッションフレームの前記前端側を前記上方向に揺動させる指令を行った後、前記クッションフレームの前記前端側が所定の高さまで揺動させられたとき、前記リフタ装置に対して前記クッションフレームを下方向に変位させる指令を行う、請求項1に記載のシート制御システム。
【請求項3】
前記制御装置は、前記リフタ装置により前記クッションフレームを目標値に従い前記上下方向に変位させるとき、前記クッションフレームの現在位置が前記目標値から特定の範囲内にある場合は、前記クッションフレームの前記現在位置が前記目標値から前記特定の範囲外にある場合と比べて、前記クッションフレームを目標値に従い前記上下方向に変位させる速度を低下させる、請求項1または2に記載のシート制御システム。
【請求項4】
前記制御装置は、前記リフタ装置により前記クッションフレームを目標値に従い前記上下方向に変位させる旨の操作信号を受信したとき、前記クッションフレームの現在位置が前記目標値から特定の範囲内にある場合は、前記チルト装置により前記クッションフレームの前記前端側の前記上下方向への変位が行われている期間中に、前記リフタ装置に指令して前記クッションフレームを前記目標値に従い前記上下方向に変位させ、一方、前記クッションフレームの前記現在位置が前記目標値から前記特定の範囲外にある場合は、前記チルト装置により前記クッションフレームの前記前端側の前記上下方向への変位が行われているか否かに関わらず、前記リフタ装置に指令して前記クッションフレームを前記目標値に従い前記上下方向に変位させる、請求項1または2に記載のシート制御システム。
【請求項5】
前記シートバックを前記シートクッションに対しシート前後方向に揺動させるリクライニング装置をさらに備え、
前記制御装置は、
前記リクライニング装置により前記シートバックを前記シートクッションに対しシート後方向に揺動させる旨の操作信号を受信したとき、当該揺動に先立って、前記チルト装置に指令して前記クッションフレームの前記前端側を前記上方向に揺動させ始め、
前記リクライニング装置により前記シートバックを前記シートクッションに対しシート前方向に揺動させる旨の操作信号を受信したとき、それに先立って、前記チルト装置に指令して前記クッションフレームの前記前端側を下方向に揺動させ始める、請求項1または2に記載のシート制御システム。
【請求項6】
前記シートの後方に配置される後方シートの状態を検知する後方シート状態検知部と、
前記リクライニング装置により前記シートバックをシート後方向へ揺動させた場合に、前記シートバックが前記後方シートとの干渉が発生するか否かを判断する後方シート干渉判断部と、をさらに備え、
前記制御装置は、前記リクライニング装置により前記シートバックを前記シート後方向へ揺動させる旨の制御信号を受信したとき、前記後方シート干渉判断部による判断結果が、前記干渉が発生するという判断結果である場合は、前記後方シートを、前記シートバックを前記シート後方向へ揺動させても前記シートバックと干渉しない位置に移動させるか又は前記シートバックを前記シート後方向へ揺動させても前記シートバックと干渉しない形状へ変化させるための干渉防止信号を所定の機構へ発信した後に、前記リクライニング装置に対して前記シートバックを前記シート後方向へ揺動させる指令を発する、請求項5に記載のシート制御システム。
【請求項7】
前記シートクッションの前方側に対して、前記上下方向に揺動可能に取り付けられたオットマンと、
前記シートの本体をシート前後方向にスライドさせるスライド装置をさらに備え、
前記制御装置は、前記リクライニング装置により前記シートバックをシート後方向へ揺動させる旨の操作信号を受信したとき、前記スライド装置により前記シートクッションが前記シート前後方向における特定の位置またはそれよりも前記シート後方向に移動させられている場合は、前記オットマンを前記上方向へ揺動させる指令を行い、一方、前記スライド装置により前記シートクッションが前記特定の位置よりもシート前方向に移動させられている場合は、前記オットマンを上方向へ揺動させる指令を行わない、請求項5に記載のシート制御システム。
【請求項8】
前記制御装置は、前記リクライニング装置により前記シートバックをシート前方向へ揺動させる旨の操作信号を受信したとき、前記オットマンを下方向へ揺動させる指令を行い、前記シートバックと前記オットマンの表面との相対角度が略一定となるようにしながら、前記シートバックの前記シート前方向への揺動と、前記オットマンの前記下方向への揺動を同時に行う、請求項7に記載のシート制御システム。
【請求項9】
前記制御装置は、前記リフタ装置による前記クッションフレームの前記上下方向への変位と、前記チルト装置による前記クッションフレームの前記前端側の前記上下方向への揺動と、前記リクライニング装置による前記シートバックの前記シートクッションに対する前記シート前後方向への揺動と、前記オットマンの前記上下方向への揺動と、前記スライド装置による前記シートの本体の前記シート前後方向へのスライド移動のうち、少なくとも1つを、その開始及び終了の少なくとも一方において、徐々に行うようにする、請求項7に記載のシート制御システム。
【請求項10】
前記シートの本体を前記シート前後方向にスライド移動させるスライド装置をさらに備え、
前記シートクッションの前側部分が前記シート前後方向へ伸縮可能に形成されており、
前記制御装置は、前記リフタ装置による前記クッションフレームの前記上下方向への変位と、前記チルト装置による前記クッションフレームの前記前端側の前記上下方向への揺動と、前記リクライニング装置による前記シートバックの前記シートクッションに対する前記シート前後方向への揺動と、前記シートクッションの前記前側部分の前記シート前後方向への伸縮と、前記スライド装置による前記シートの本体の前記シート前後方向へのスライド移動のうち、少なくとも1つを、その開始及び終了の少なくとも一方において、徐々に行うようにする、請求項5に記載のシート制御システム。
発明の詳細な説明
【発明の詳細な説明】
【0001】
[背景]
本開示は、シート制御システムに関する。
続きを表示(約 1,200 文字)
【0002】
自動車の乗り心地を向上させるために、シートの姿勢調整を行う機能を有する自動車用シートが知られている。例えば、中国特許第113147532号(以下では、「特許文献1」という。)に開示されるシートフレーム調整装置は、乗員の身体の各部が高度にリラックスした状態(特許文献1ではそのような状態を「無重力状態」と称している。)を実現するためのシートフレーム調整機能を有する。当該シートフレーム調整装置は、シートフレーム調整機能を実現する構成の一部として、シートフレームの前後に位置するフレーム調整リンクにそれぞれ接続される回転駆動機構を備える。そして、シートフレームの後部に配置された後部の回転駆動機構はシートフレームの高さ調整に使用され、シートフレームの前部に配置された前部の回転駆動機構はシートの傾きを調整するために使用される。
【0003】
[概要]
上記シートフレーム調整装置においては、前部の回転駆動機構と後部の回転駆動機構とは、常に、それぞれ単独でしか動作しない制御方法が採用されている。そのため、前部の回転駆動機構が後部の回転駆動機構の作動位置に関係なく、常に同じ作動をするため、後部の回転駆動機構の作動位置によってはシートの構成部品同士が干渉し、正常に作動できないという問題があった。
【0004】
また、一般に、シートの姿勢調整を行う機能を有する自動車用シートにおいては、シートの大倒し作動時、乗員の脚(特に、ふくらはぎ周辺)の一部に負荷がかかったり、脚が安定しないと身体全体が安定しなかったりする問題があった。
【0005】
また、シートの戻し作動時、身体が倒れた状態でリクライニング装置を作動させると、乗員が窮屈感(特に、上半身、腹周りにおける窮屈感)を感じるという問題があった。
【0006】
また、シートの複数の部位が順番に作動する場合、動作が一瞬停止するような動きとなり、スムースではないという問題があった。
【0007】
また、シートの戻し作動時、脚が上がった状態でリクライニング装置のみを戻すと、乗員が窮屈感(特に、上半身、腹周りにおける窮屈感)を感じるという問題があった。
【0008】
さらに、シートバックの倒し作動時、シートフレームの高さ調整を行うリフタ装置の現在位置が目標位置に近い場合、リフタ装置が一瞬しか動かず、乗員がショックを感じるという問題があった。
【0009】
また、シートバックの倒し作動時、シートバックが後席と干渉し、正常に作動できないという問題があった。
【0010】
さらに、シートバックの倒し作動時、後席の乗員が前席のシートバックと後席の間に挟まれ得るという問題があった。
(【0011】以降は省略されています)
この特許をJ-PlatPat(特許庁公式サイト)で参照する
関連特許
個人
タイヤレバー
4か月前
個人
前輪キャスター
3か月前
個人
上部一体型自動車
2か月前
個人
タイヤ脱落防止構造
3か月前
個人
空間形成装置
1か月前
個人
ルーフ付きトライク
3か月前
日本精機株式会社
表示装置
3か月前
個人
車両通過構造物
4か月前
個人
マスタシリンダ
2か月前
日本精機株式会社
照明装置
28日前
日本精機株式会社
表示装置
4か月前
日本精機株式会社
表示装置
4か月前
日本精機株式会社
表示装置
4か月前
個人
乗合路線バスの客室装置
4か月前
個人
常設収納型サンバイザー
1か月前
日本精機株式会社
車室演出装置
3か月前
日本精機株式会社
車載表示装置
1か月前
日本精機株式会社
車載表示装置
1か月前
個人
音声ガイド、音声サービス
4か月前
株式会社豊田自動織機
産業車両
28日前
日本精機株式会社
車載表示装置
1か月前
個人
回転窓ワイパー装置
1か月前
日本精機株式会社
画像投映装置
1か月前
日本精機株式会社
車載表示装置
2か月前
株式会社豊田自動織機
産業車両
4か月前
個人
円湾曲ホイール及び球体輪
4か月前
株式会社ニフコ
照明装置
3か月前
株式会社ニフコ
収納装置
2か月前
日本精機株式会社
車両用表示装置
1か月前
井関農機株式会社
作業車両
2か月前
日本精機株式会社
車両用投射装置
2か月前
日本精機株式会社
車両用報知装置
1か月前
極東開発工業株式会社
車両
4か月前
個人
音による速度計とプログラム
1か月前
日本精機株式会社
車両用投影装置
2か月前
日本精機株式会社
車両用表示装置
3か月前
続きを見る
他の特許を見る