TOP
|
特許
|
意匠
|
商標
特許ウォッチ
Twitter
他の特許を見る
公開番号
2025157916
公報種別
公開特許公報(A)
公開日
2025-10-16
出願番号
2024060272
出願日
2024-04-03
発明の名称
燃料電池の単セル
出願人
トヨタ紡織株式会社
代理人
個人
,
個人
主分類
H01M
8/0273 20160101AFI20251008BHJP(基本的電気素子)
要約
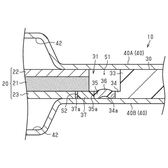
【課題】発電部が接着剤から剥離することを抑制できる燃料電池の単セルを提供する。
【解決手段】単セル10は、膜電極接合体21を含むシート状の発電部20と、発電部20を収容する開口部31を有し、発電部20の外周部が接着剤を介して接着された枠部材30とを備える。枠部材30は、開口部31を取り囲む枠状の本体33と、本体33から本体33の内周側に突出し、本体33よりも軟質な弾性材料により形成された軟質部35と、軟質部35から内周側に突出し、軟質部35よりも硬質な材料により形成された硬質部37とを有している。発電部20の外周部は、硬質部37に接着されている。
【選択図】図3
特許請求の範囲
【請求項1】
膜電極接合体を含むシート状の発電部と、
前記発電部を収容する開口部を有し、前記発電部の外周部が接着剤を介して接着された枠部材と、を備える燃料電池の単セルであって、
前記枠部材は、
前記開口部を取り囲む枠状の本体と、
前記本体から前記本体の内周側に突出し、前記本体よりも軟質な弾性材料により形成された軟質部と、
前記軟質部から前記内周側に突出し、前記軟質部よりも硬質な材料により形成された硬質部と、を有しており、
前記発電部の外周部は、前記硬質部に接着されている、
燃料電池の単セル。
続きを表示(約 370 文字)
【請求項2】
前記軟質部は、前記発電部の面方向に伸縮可能に構成された撓み部を有している、
請求項1に記載の燃料電池の単セル。
【請求項3】
前記軟質部は、前記本体及び前記硬質部の厚さよりも薄く形成されている、
請求項1に記載の燃料電池の単セル。
【請求項4】
前記発電部の面方向における前記本体と前記発電部との間には、隙間が設けられている、
請求項1に記載の燃料電池の単セル。
【請求項5】
前記軟質部及び前記硬質部は、前記枠部材の全周にわたって形成されている、
請求項1に記載の燃料電池の単セル。
【請求項6】
前記本体、前記軟質部、及び前記硬質部は、一体成形品である、
請求項1~請求項5のいずれか一項に記載の燃料電池の単セル。
発明の詳細な説明
【技術分野】
【0001】
本発明は、燃料電池の単セルに関する。
続きを表示(約 1,100 文字)
【背景技術】
【0002】
特許文献1に記載の燃料電池の単セルは、膜電極ガス拡散層接合体と、膜電極ガス拡散層接合体の外周部を取り囲むフレームと、膜電極ガス拡散層接合体及びフレームを挟み込む一対のセパレータとを備えている。
【0003】
膜電極ガス拡散層接合体は、膜電極接合体と、膜電極接合体を挟み込むアノード側ガス拡散層及びカソード側ガス拡散層とを有している。膜電極接合体は、カソード側ガス拡散層よりも外周側に突出した突出部を有している。
【0004】
フレームは、膜電極ガス拡散層接合体を収容する開口部を有している。フレームは、開口部の内周面から開口部の内周側に突出した係合部を有している。膜電極接合体の突出部は、膜電極接合体の厚さ方向において接着剤を介して係合部に接着されている。
【先行技術文献】
【特許文献】
【0005】
特開2015-215958号公報
【発明の概要】
【発明が解決しようとする課題】
【0006】
特許文献1に記載の単セルでは、燃料電池の発電に伴って、膜電極接合体が発熱及び冷却される。これにより、膜電極接合体の面方向における熱変形が繰り返されるため、膜電極接合体が接着剤から剥離するおそれがある。
【課題を解決するための手段】
【0007】
上記課題を解決するための燃料電池の単セルは、膜電極接合体を含むシート状の発電部と、前記発電部を収容する開口部を有し、前記発電部の外周部が接着剤を介して接着された枠部材と、を備える燃料電池の単セルであって、前記枠部材は、前記開口部を取り囲む枠状の本体と、前記本体から前記本体の内周側に突出し、前記本体よりも軟質な弾性材料により形成された軟質部と、前記軟質部から前記内周側に突出し、前記軟質部よりも硬質な材料により形成された硬質部と、を有しており、前記発電部の外周部は、前記硬質部に接着されている。
【0008】
上記構成によれば、発電部が接着された硬質部と本体との間には、硬質部及び本体よりも軟質な軟質部が設けられている。このため、発電部が面方向に熱変形した場合に、当該熱変形に追従して軟質部が変形しやすくなる。
【0009】
また、上記構成によれば、硬質部は、軟質部よりも硬質な材料により形成されている。このため、発電部が面方向に熱変形した場合に、軟質部が硬質部よりも優先的に変形することで、発電部と硬質部との相対移動を抑制できる。
【0010】
以上のことから、発電部が接着剤から剥離することを抑制できる。
【図面の簡単な説明】
(【0011】以降は省略されています)
この特許をJ-PlatPat(特許庁公式サイト)で参照する
関連特許
トヨタ紡織株式会社
シート
17日前
トヨタ紡織株式会社
アイロン
22日前
トヨタ紡織株式会社
デッキボード
22日前
トヨタ紡織株式会社
乗物用シート
2日前
トヨタ紡織株式会社
乗物用シート
17日前
トヨタ紡織株式会社
乗物用シート
2日前
トヨタ紡織株式会社
車両用排熱装置
15日前
トヨタ紡織株式会社
乗物用照明装置
1日前
トヨタ紡織株式会社
カップホルダー
11日前
トヨタ紡織株式会社
燃料電池の単セル
2日前
トヨタ紡織株式会社
燃料電池スタック
1日前
トヨタ紡織株式会社
乗物用シート装置
15日前
トヨタ紡織株式会社
シート制御システム
4日前
トヨタ紡織株式会社
クッションフレーム
16日前
トヨタ紡織株式会社
繊維状複合体の製造方法
9日前
トヨタ紡織株式会社
繊維状複合体の製造方法
9日前
トヨタ紡織株式会社
エアバッグの力布取付構造
15日前
トヨタ紡織株式会社
剥離装置及び積層体の剥離方法
19日前
トヨタ紡織株式会社
熱可塑性樹脂組成物の製造方法
9日前
トヨタ紡織株式会社
鉄心の焼鈍方法及び焼鈍用治具
15日前
トヨタ紡織株式会社
植物繊維含有樹脂ボードの製造方法
15日前
トヨタ紡織株式会社
熱可塑性樹脂組成物及びその製造方法
9日前
トヨタ紡織株式会社
繊維状物質及びその製造方法並びに粉体
9日前
トヨタ紡織株式会社
繊維状複合体及びその製造方法並びに粉体
9日前
トヨタ紡織株式会社
燃料電池用セパレータ及び燃料電池の単セル
15日前
トヨタ紡織株式会社
熱可塑性樹脂組成物及びその製造方法並びに成形体
9日前
トヨタ紡織株式会社
パーティション装置、パーティションシステム、及び制御装置
1日前
トヨタ紡織株式会社
燃料電池用セパレータの製造装置及び燃料電池用セパレータの製造方法
2日前
個人
フレキシブル電気化学素子
8日前
日本発條株式会社
積層体
19日前
ローム株式会社
半導体装置
10日前
ローム株式会社
半導体装置
17日前
ローム株式会社
半導体装置
17日前
日新イオン機器株式会社
イオン源
4日前
個人
防雪防塵カバー
19日前
ローム株式会社
半導体装置
15日前
続きを見る
他の特許を見る