TOP
|
特許
|
意匠
|
商標
特許ウォッチ
Twitter
他の特許を見る
公開番号
2025158858
公報種別
公開特許公報(A)
公開日
2025-10-17
出願番号
2024061794
出願日
2024-04-05
発明の名称
除湿装置
出願人
パナソニックIPマネジメント株式会社
代理人
個人
,
個人
主分類
B01D
53/26 20060101AFI20251009BHJP(物理的または化学的方法または装置一般)
要約
【課題】本体ケース外への水漏れのリスクを低下させる除湿装置を提供することを目的とする。
【解決手段】本体ケース1には、吸熱器10、熱交換器11、放熱器8および送風機6が水平方向である第1方向に並んで配置され、熱交換器11と吸熱器10の下方には、結露水を受ける集水部12と、第1方向における吸熱器10側の本体ケース1の内面と吸熱器10との間に設けた吸熱器隙間15と、吸熱器10の上方から第1方向における吸熱器10側の本体ケースの内面に向かって延出する上面部分41と、第1方向における吸熱器10側の本体ケース1の内面から吸熱器隙間15へ延出する突起部43と、有し、集水部12は吸熱器10の下方から第1方向における吸熱器10側の本体ケース1の内面側へ延び、突起部43の先端は上面部分41と集水部12との間に位置し、上面部分41から滴下する結露水を集水部12へ導く除湿装置。
【選択図】 図6
特許請求の範囲
【請求項1】
空気吸込口と空気吹出口を有する本体ケースを備え、
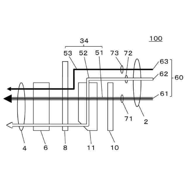
前記本体ケースには、吸熱器、熱交換器、放熱器および送風機が水平方向である第1方向に並んで配置され、
前記送風機の作用により前記空気吸込口から前記本体ケース内に吸い込まれた吸込空気の第1部分を、前記吸熱器、前記熱交換器の第1通路および前記放熱器を介して前記空気吹出口から前記本体ケース外に吹き出す第1除湿経路と、
前記吸込空気の第2部分を、前記熱交換器の第2通路および前記放熱器を介して前記空気吹出口から前記本体ケース外に吹き出す第2除湿経路と、
前記熱交換器と前記吸熱器の下方には、前記熱交換器と前記吸熱器に結露した結露水を一時的に受ける集水部と、
前記第1方向における前記吸熱器側の前記本体ケースの内面と前記吸熱器との間に設けた吸熱器隙間と、
前記吸熱器の上方から前記第1方向における前記吸熱器側の前記本体ケースの内面に向かって所定の距離延出する上面部分と、
前記第1方向における前記吸熱器側の前記本体ケースの内面から前記吸熱器隙間へ延出する突起部と、有し、
前記集水部は、前記吸熱器の下方から前記第1方向における前記吸熱器側の前記本体ケースの内面側へ延び、
前記突起部の先端は、前記上面部分と前記集水部との間に位置し、前記上面部分から滴下する結露水を前記集水部へ導く除湿装置。
続きを表示(約 340 文字)
【請求項2】
前記上面部分は、前記第1方向と直交した水平方向である第2方向に並んで配置された第1上面と第2上面とを有し、
前記第1上面は、前記第2上面に向かって下方へ傾斜し、
前記第2上面は、前記第1上面に向かって下方へ傾斜する請求項1に記載の除湿装置。
【請求項3】
前記第1上面と前記第2上面は、前記吸熱器の上方から前記第1方向における前記吸熱器側の前記本体ケースの内面に向かって下方へ傾斜する請求項2に記載の除湿装置。
【請求項4】
前記第1上面と前記第2上面との間には、開口を有し、
前記開口は、前記上面部分における前記第1方向における前記吸熱器側の前記本体ケースの内面側の端部に設けた請求項3に記載の除湿装置。
発明の詳細な説明
【技術分野】
【0001】
本開示は、除湿装置に関する。
続きを表示(約 2,000 文字)
【背景技術】
【0002】
居住空間に用いられ、居住空間等の湿度を低下させる除湿装置が知られている。例えば、特許文献1には、圧縮機と放熱器と膨張器と吸熱器とを順次環状に連結した冷凍サイクルと熱交換器により構成した除湿部を備える除湿装置が記載されている。
【先行技術文献】
【特許文献】
【0003】
特開2020-116580号公報
【発明の概要】
【発明が解決しようとする課題】
【0004】
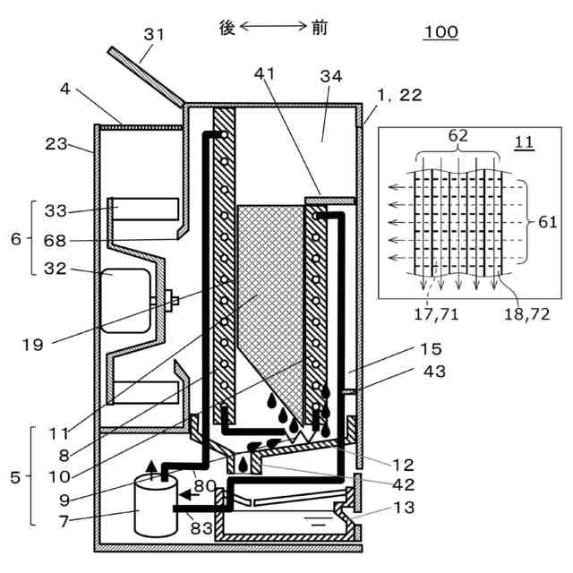
居住空間に用いられ、居住空間等の湿度を低下させる除湿装置が知られている。例えば、特許文献1には、圧縮機と放熱器と膨張器と吸熱器とを順次環状に連結した冷凍サイクルと熱交換器により構成した除湿部を備える除湿装置が記載されている。除湿装置は、空気吸込口と空気吹出口を有する本体ケースを備え、本体ケースには、吸熱器、熱交換器、放熱器および送風機が水平方向である第1方向に並んで配置されている。送風機の作用により空気吸込口から本体ケース内に吸い込まれた吸込空気の第1部分を、吸熱器、熱交換器の第1通路および放熱器を介して空気吹出口から本体ケース外に吹き出す第1除湿経路と、吸込空気の第2部分を、熱交換器の第2通路および放熱器を介して空気吹出口から本体ケース外に吹き出す第2除湿経路と、を有している。熱交換器と吸熱器の下方には、熱交換器と吸熱器に結露した結露水を一時的に受ける集水部を備えている。
【0005】
熱交換器を覆う樹脂部品の外壁に結露が発生しやすい。特に上面は、結露水がたまりやすく、製品の設置状態等によっては、ドレンパンやタンクに結露水が回収されず、本体ケース外へ水が漏れるおそれがあるという課題があった。
【0006】
本開示は、上記課題を解決するためになされたものであり、本体ケース外への水漏れのリスクを低下させる除湿装置を提供することを目的とする。
【課題を解決するための手段】
【0007】
上記課題を解決するために、本開示のある態様の除湿装置は、空気吸込口と空気吹出口を有する本体ケースを備え、前記本体ケースには、吸熱器、熱交換器、放熱器および送風機が水平方向である第1方向に並んで配置され、前記送風機の作用により前記空気吸込口から前記本体ケース内に吸い込まれた吸込空気の第1部分を、前記吸熱器、前記熱交換器の第1通路および前記放熱器を介して前記空気吹出口から前記本体ケース外に吹き出す第1除湿経路と、前記吸込空気の第2部分を、前記熱交換器の第2通路および前記放熱器を介して前記空気吹出口から前記本体ケース外に吹き出す第2除湿経路と、前記熱交換器と前記吸熱器の下方には、前記熱交換器と前記吸熱器に結露した結露水を一時的に受ける集水部と、前記第1方向における前記吸熱器側の前記本体ケースの内面と前記吸熱器との間に設けた吸熱器隙間と、前記吸熱器の上方から前記第1方向における前記吸熱器側の前記本体ケースの内面に向かって所定の距離延出する上面部分と、前記第1方向における前記吸熱器側の前記本体ケースの内面から前記吸熱器隙間へ延出する突起部と、有し、前記集水部は、前記吸熱器の下方から前記第1方向における前記吸熱器側の前記本体ケースの内面側へ延び、前記突起部の先端は、前記上面部分と前記集水部との間に位置し、前記上面
部分から滴下する結露水を前記集水部へ導くものであり、これにより所期の目的を達成するものである。
【発明の効果】
【0008】
本開示によれば、本体ケース外への水漏れのリスクを低下する除湿装置を提供できる。
【図面の簡単な説明】
【0009】
本開示の実施例に係る除湿装置を模式的に示す斜視図
同除湿装置を模式的に示す側断面図
同除湿装置の空気通路を模式的に示す図
同除湿装置の空気の流れを模式的に示す図
同除湿装置の内部を示す斜視図
同除湿装置を模式的に示す断面図
【発明を実施するための形態】
【0010】
以下、本開示を実施するための形態について添付図面を参照して説明する。以下に説明する実施例は、いずれも本開示の好ましい一具体例を示す。よって、以下の実施例で示される、数値、形状、材料、構成要素、構成要素の配置位置及び接続形態、並びに、ステップ(工程)及びステップの順序などは、一例であって本開示を限定する主旨ではない。したがって、以下の実施例における構成要素のうち、本開示の最上位概念を示す独立請求項に記載されていない構成要素については、任意の構成要素として説明される。また、各図において、実質的に同一の構成に対しては同一の符号を付しており、重複する説明は省略又は簡略化する。
(【0011】以降は省略されています)
この特許をJ-PlatPat(特許庁公式サイト)で参照する
関連特許
株式会社西部技研
除湿装置
2日前
ユニチカ株式会社
複合中空糸膜
16日前
東レ株式会社
中空糸膜モジュール
15日前
大和ハウス工業株式会社
反応装置
9日前
ヤマシンフィルタ株式会社
フィルタ装置
17日前
本田技研工業株式会社
ガス回収装置
11日前
大陽日酸株式会社
CO2の回収方法
11日前
本田技研工業株式会社
二酸化炭素回収装置
9日前
本田技研工業株式会社
二酸化炭素回収装置
9日前
ノリタケ株式会社
触媒材料およびその利用
9日前
ノリタケ株式会社
触媒材料およびその利用
9日前
ノリタケ株式会社
触媒材料およびその利用
9日前
本田技研工業株式会社
二酸化炭素回収装置
15日前
本田技研工業株式会社
二酸化炭素回収装置
11日前
本田技研工業株式会社
二酸化炭素回収装置
4日前
本田技研工業株式会社
二酸化炭素回収装置
17日前
本田技研工業株式会社
二酸化炭素回収装置
17日前
本田技研工業株式会社
二酸化炭素回収装置
17日前
本田技研工業株式会社
二酸化炭素回収装置
9日前
本田技研工業株式会社
二酸化炭素回収装置
9日前
Planet Savers株式会社
気体濃縮装置
11日前
東京応化工業株式会社
ろ過処理方法、及び多孔質膜
9日前
株式会社プロテリアル
触媒複合物および触媒前駆体複合物
10日前
日東電工株式会社
吸着材
15日前
TPR株式会社
多孔質ブリーザ
9日前
日本碍子株式会社
電気加熱式担体
8日前
日本碍子株式会社
ハニカム構造体
15日前
新甲エンジニアリング株式会社
使用済フロン再生装置
12日前
JFEエンジニアリング株式会社
二酸化炭素回収方法
11日前
日本碍子株式会社
電気加熱式担体
9日前
大阪瓦斯株式会社
二酸化炭素回収システム
8日前
パナソニックIPマネジメント株式会社
除湿装置
9日前
パナソニックIPマネジメント株式会社
除湿装置
10日前
大阪瓦斯株式会社
二酸化炭素回収システム
8日前
三菱ケミカル株式会社
精製ガスの製造方法
8日前
三菱ケミカル株式会社
精製ガスの製造方法
8日前
続きを見る
他の特許を見る