TOP
|
特許
|
意匠
|
商標
特許ウォッチ
Twitter
他の特許を見る
公開番号
2025154914
公報種別
公開特許公報(A)
公開日
2025-10-10
出願番号
2024058194
出願日
2024-03-29
発明の名称
精製ガスの製造方法
出願人
三菱ケミカル株式会社
代理人
個人
,
個人
,
個人
主分類
B01D
53/22 20060101AFI20251002BHJP(物理的または化学的方法または装置一般)
要約
【課題】圧縮機の容量を小さくでき、精製ガスの回収率を向上可能であり、高分子膜が有する問題を解決することが可能である、精製ガスの製造方法を提供する。
【解決手段】複数の成分を含む混合ガスを、複数の分離膜モジュールを用いて処理することにより、透過ガスとして1のガスを高純度で含む精製ガスを製造する方法であって、所定の非透過ガスを前段の所定の位置に返送する、精製ガスの製造方法。
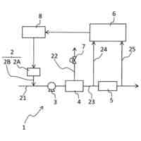
【選択図】図1
特許請求の範囲
【請求項1】
複数の成分を含む混合ガスを、複数の分離膜モジュールを用いて処理することにより、透過ガスとして1のガスを高純度で含む精製ガスを製造する方法であって、
前記分離膜モジュールがゼオライト膜を備えており、
前記複数の分離膜モジュールのうち上流の1以上の分離膜モジュールを前段の分離膜モジュールとし、中流の1以上の分離膜モジュールを中段の分離膜モジュールとし、下流の1以上の分離膜モジュールを後段の分離膜モジュールとした場合、
前記前段の分離膜モジュールの上流側に第1の圧縮器を備え、
前記中段の分離膜モジュールの上流側に第2の圧縮器を備え、
前記後段の分離膜モジュールの上流側に第3の圧縮器を備え、
前記第1の圧縮器により第1の圧力に昇圧したガスを前記前段の分離膜モジュールに供給し、透過したガスを前記第2の圧縮器により第2の圧力に昇圧して前記中段の分離膜モジュールに供給し、透過したガスを前記第3の圧縮器により第3の圧力に昇圧して前記後段の分離膜モジュールに供給し、
前記中段の分離膜モジュールの非透過ガスを前記第1の圧縮器と前記前段の分離膜モジュールとの間に返送し、前記後段の分離膜モジュールの非透過ガスを前記第2の圧縮器と前記中段の分離膜モジュールとの間に返送し、
前記第2の圧力が、前記第1の圧力以上であり、前記第3の圧力が、前記第2の圧力以上である、精製ガスの製造方法。
続きを表示(約 1,100 文字)
【請求項2】
前記混合ガスを、前記前段の最上流側の分離膜モジュールに供給して得られた非透過ガスを、昇圧することなく他の分離膜モジュールに供給し、前記1のガスの濃度が高濃度化された透過ガスを前記第1の圧縮器のさらに上流側に返送する、請求項1に記載の精製ガスの製造方法。
【請求項3】
前記前段の分離膜モジュールに供給する昇圧後の混合ガスの圧力が、0.1MPaG以上、1MPaG以下である、請求項1または2に記載の精製ガスの製造方法。
【請求項4】
前記ゼオライト膜が、CHA型アルミノ珪酸塩のゼオライトを含み、膜表面にX線を照射して得たX線回折パターンにおいて、2θ=17.9°付近のピーク強度が、2θ=20.8°付近のピーク強度の0.5倍未満の値を有するものであり、かつ2θ=9.6°付近のピーク強度が、2θ=20.8°付近のピーク強度の2.0倍以上4.0倍未満の値を有するものである、請求項1または2に記載の精製ガスの製造方法。
【請求項5】
前記ゼオライトのSiO
2
/Al
2
O
3
が、20以上500以下である、請求項1または2に記載の精製ガスの製造方法。
【請求項6】
複数の成分を含む混合ガスを、複数の分離膜モジュールを用いて処理することにより、透過ガスとして1のガスを高純度で含む精製ガスを製造する精製ガスの製造システムであって、
前記分離膜モジュールがゼオライト膜を備えており、
前記複数の分離膜モジュールのうち上流の1以上の分離膜モジュールを前段の分離膜モジュールとし、中流の1以上の分離膜モジュールを中段の分離膜モジュールとし、下流の1以上の分離膜モジュールを後段の分離膜モジュールとした場合、
前記前段の分離膜モジュールの上流側に第1の圧縮器を備え、
前記中段の分離膜モジュールの上流側に第2の圧縮器を備え、
前記後段の分離膜モジュールの上流側に第3の圧縮器を備え、
前記第1の圧縮器により第1の圧力に昇圧したガスを前記前段の分離膜モジュールに供給し、透過したガスを前記第2の圧縮器により第2の圧力に昇圧して前記中段の分離膜モジュールに供給し、透過したガスを前記第3の圧縮器により第3の圧力に昇圧して前記後段の分離膜モジュールに供給し、
前記中段の分離膜モジュールの非透過ガスを前記第1の圧縮器と前記前段の分離膜モジュールとの間に返送し、前記後段の分離膜モジュールの非透過ガスを前記第2の圧縮器と前記中段の分離膜モジュールとの間に返送し、
前記第2の圧力が、前記第1の圧力以上であり、前記第3の圧力が、前記第2の圧力以上となるよう制御する、精製ガスの製造システム。
発明の詳細な説明
【技術分野】
【0001】
本発明は、精製ガスの製造方法に関する。
続きを表示(約 1,700 文字)
【背景技術】
【0002】
混合ガスから、該混合ガスに含まれる1のガスを濃縮・精製する方法として、深冷分離法や吸着法が実施されてきたが、近年、分離膜を用いた膜分離法も普及してきている。膜分離法による分離方法の場合、高純度のガスを得るためには、分離膜を多段で使用する場合がある。
【0003】
特許文献1には、分離膜モジュールを多段に用いて、高純度の水素又はヘリウムを製造する方法として、前段の高分子分離膜モジュールを透過した透過ガスを高分子分離膜モジュール間で昇圧することなく後段の高分子分離膜モジュールに供給する方法が記載されている。
【0004】
特許文献2には、複数の膜分離段階を使用して生の供給ガス流を分離する方法であって、第3の非透過物流を生の供給ガス流と組み合わせて、組み合わされた供給流を形成する方法が記載されている。
【先行技術文献】
【特許文献】
【0005】
昭63-296820号公報
特開2021-159913号公報
【発明の概要】
【発明が解決しようとする課題】
【0006】
特許文献1の方法では、分離膜モジュール間において、ガスを昇圧せずに、次の分離膜モジュールに供給する方法であるので、ガスの回収率が向上させにくい、膜面積を大きくする必要があり経済的に不利であるという問題があった。
【0007】
特許文献2の方法では、第3の非透過物流を生の供給ガス流と組み合わせて、組み合わされた供給流を形成する方法であるので、圧縮機の容量が大きくなってしまう。また、第3の非透過物流の組成と供給ガス流の組成が大きく異なるため、透過するガスの濃度が薄まり分圧が小さくなるため第1の膜面積が大きくなり経済的に不利であると共に、せっかく精製した第3の非透過物流が希釈されてしまうことから、精製効率が悪いという問題があった。
【0008】
また、高分子膜は、加工性に優れる特徴をもつ一方で、熱や化学物質、圧力により劣化して性能が低下するという問題があった。
【0009】
以上より、本願発明は、圧縮機の容量を小さくでき、精製ガスの回収率を向上可能であり、高分子膜が有する問題を解決することが可能である、精製ガスの製造方法及び精製ガスの製造システムを提供することを課題とする。
【課題を解決するための手段】
【0010】
本発明者らは、上記課題について鋭意検討の結果、以下の発明を完成させた。
[1] 複数の成分を含む混合ガスを、複数の分離膜モジュールを用いて処理することにより、透過ガスとして1のガスを高純度で含む精製ガスを製造する方法であって、
前記分離膜モジュールがゼオライト膜を備えており、
前記複数の分離膜モジュールのうち上流の1以上の分離膜モジュールを前段の分離膜モジュールとし、中流の1以上の分離膜モジュールを中段の分離膜モジュールとし、下流の1以上の分離膜モジュールを後段の分離膜モジュールとした場合、
前記前段の分離膜モジュールの上流側に第1の圧縮器を備え、
前記中段の分離膜モジュールの上流側に第2の圧縮器を備え、
前記後段の分離膜モジュールの上流側に第3の圧縮器を備え、
前記第1の圧縮器により第1の圧力に昇圧したガスを前記前段の分離膜モジュールに供給し、透過したガスを前記第2の圧縮器により第2の圧力に昇圧して前記中段の分離膜モジュールに供給し、透過したガスを前記第3の圧縮器により第3の圧力に昇圧して前記後段の分離膜モジュールに供給し、
前記中段の分離膜モジュールの非透過ガスを前記第1の圧縮器と前記前段の分離膜モジュールとの間に返送し、前記後段の分離膜モジュールの非透過ガスを前記第2の圧縮器と前記中段の分離膜モジュールとの間に返送し、
前記第2の圧力が、前記第1の圧力以上であり、前記第3の圧力が、前記第2の圧力以上である、精製ガスの製造方法。
(【0011】以降は省略されています)
この特許をJ-PlatPat(特許庁公式サイト)で参照する
関連特許
株式会社西部技研
除湿装置
21日前
株式会社日本触媒
ドロー溶質
15日前
ユニチカ株式会社
複合中空糸膜
1か月前
日本バイリーン株式会社
フィルタ
今日
東レ株式会社
中空糸膜モジュール
1か月前
サンノプコ株式会社
消泡剤
13日前
東レ株式会社
遠心ポッティング方法
7日前
トヨタ自動車株式会社
濾過装置
1日前
個人
気液混合装置
13日前
大和ハウス工業株式会社
反応装置
28日前
松岡紙業 株式会社
油吸着体の製造方法
15日前
本田技研工業株式会社
ガス回収装置
1か月前
株式会社フクハラ
圧縮空気圧回路ユニット
13日前
東芝ライテック株式会社
光照射装置
1日前
富士電機株式会社
ガス処理システム
10日前
大陽日酸株式会社
CO2の回収方法
1か月前
株式会社明電舎
成膜装置
10日前
日本化薬株式会社
直鎖ブテン製造用触媒及びその使用
7日前
本田技研工業株式会社
二酸化炭素回収装置
1か月前
本田技研工業株式会社
二酸化炭素回収装置
1か月前
ノリタケ株式会社
触媒材料およびその利用
28日前
本田技研工業株式会社
二酸化炭素回収装置
23日前
本田技研工業株式会社
二酸化炭素回収装置
28日前
本田技研工業株式会社
二酸化炭素回収装置
28日前
本田技研工業株式会社
二酸化炭素回収装置
28日前
本田技研工業株式会社
二酸化炭素回収装置
28日前
ノリタケ株式会社
触媒材料およびその利用
28日前
ノリタケ株式会社
触媒材料およびその利用
28日前
Planet Savers株式会社
気体濃縮装置
1か月前
個人
フッ化炭素糸物にフッ素をコーティングした浄水手段
13日前
東京応化工業株式会社
ろ過処理方法、及び多孔質膜
28日前
株式会社プロテリアル
触媒複合物および触媒前駆体複合物
29日前
三浦工業株式会社
撹拌装置
10日前
いであ株式会社
PFAS除去用バイオ炭の製造方法
2日前
日東電工株式会社
吸着材
1か月前
三菱重工業株式会社
石膏脱水システム
今日
続きを見る
他の特許を見る