TOP
|
特許
|
意匠
|
商標
特許ウォッチ
Twitter
他の特許を見る
公開番号
2025172773
公報種別
公開特許公報(A)
公開日
2025-11-26
出願番号
2025135120,2023566818
出願日
2025-08-14,2022-04-28
発明の名称
フィルタカートリッジ、フィルタ装置、および方法
出願人
インテグリス・インコーポレーテッド
代理人
園田・小林弁理士法人
主分類
B01D
63/00 20060101AFI20251118BHJP(物理的または化学的方法または装置一般)
要約
【課題】流れを改善するのに有用であり、フィルタハウジング内の中心に配置可能なフィルタカートリッジ、フィルタ装置および関連する方法を提供する。
【解決手段】フィルタカートリッジは、濾過膜と、らせん状ストランドを有するカートリッジ支持体と、カートリッジ遠位端部および近位端部とを備え、カートリッジ支持体が、フィルタカートリッジの遠位端部と近位端部との間に延在し、濾過膜は、該濾過膜を収容および支持するように適合されたカートリッジ支持体によって収容および保持されており、らせん状ストランドが、らせん状ストランドのらせん経路に沿って延在する長さと、半径方向の厚さと、前記長さおよび前記厚さに垂直な幅と、1:3~3:1の範囲の幅対厚さの比とを含み、らせん状ストランドは、外面と内面との間で半径方向に延在する可変厚さを有し、らせん状ストランドの厚さは、らせん状ストランドの長さに沿って変化する。
【選択図】図4
特許請求の範囲
【請求項1】
カートリッジ遠位端部およびカートリッジ近位端部と、
カートリッジ遠位端部とカートリッジ近位端部との間に延在し、らせん状ストランドを備えるカートリッジ支持体であって、らせん状ストランドが、
らせん状ストランドのらせん経路に沿って延在する長さと、
半径方向の厚さと、
前記長さおよび前記厚さに垂直な幅と、
1:3~3:1の範囲の幅対厚さの比とを含む
カートリッジ支持体と
を備えるフィルタカートリッジ。
続きを表示(約 1,000 文字)
【請求項2】
フィルタカートリッジが長手軸に沿って圧縮可能であり、フィルタカートリッジを長手軸に沿って圧縮することで、直径が増加する、請求項1に記載のフィルタカートリッジ。
【請求項3】
らせん状ストランドが、
前記長さに沿った各地点で台形、三角形、円形、正方形もしくは長方形の断面、
前記長さに沿って変化する厚さ、または
その両方
を備える、請求項1または2に記載のフィルタカートリッジ。
【請求項4】
カートリッジ遠位端部とカートリッジ近位端部との間に延在する濾過膜をさらに備える、請求項1から3のいずれか一項に記載のフィルタカートリッジ。
【請求項5】
カートリッジ支持体が、時計回りに回転するらせん状ストランドと反時計回りに回転するらせん状ストランドとを備える、請求項1から4のいずれか一項に記載のフィルタカートリッジ。
【請求項6】
カートリッジ遠位端部とカートリッジ近位端部との間に延在する濾過膜を備え、カートリッジ支持体が、濾過膜の外面の表面積の40パーセント未満を覆う表面積を有する、請求項1か5のいずれか一項に記載のフィルタカートリッジ。
【請求項7】
カートリッジ支持体が自己支持型である、請求項1から6のいずれか一項に記載のフィルタカートリッジ。
【請求項8】
カートリッジ支持体が熱可塑性ポリマーを含む、請求項1から7のいずれか一項に記載のフィルタカートリッジ。
【請求項9】
熱可塑性ポリマーが、ポリオレフィン、ポリアクリレート、ポリウレタンまたは熱可塑性フルオロポリマーを含む、請求項8に記載のフィルタカートリッジ。
【請求項10】
カートリッジ遠位端部およびカートリッジ近位端部と、
カートリッジ遠位端部とカートリッジ近位端部との間に延在し、らせん状ストランドを備えるカートリッジ支持体であって、らせん状ストランドが、
らせん状ストランドのらせん経路に沿って延在する長さと、
半径方向の厚さと、
前記長さおよび前記厚さに垂直な幅とを含み、前記厚さが前記長さに沿って変化する
カートリッジ支持体と
を備える、フィルタカートリッジ。
(【請求項11】以降は省略されています)
発明の詳細な説明
【技術分野】
【0001】
本開示は、センタリング面、らせん状ストランドまたはその両方を含むカートリッジ支持体を含むフィルタカートリッジ(filter cartridge)を必要とする、フィルタカートリッジ(filter cartridge)、フィルタ装置(filter apparatus)および関連する方法に関する。
続きを表示(約 2,800 文字)
【背景技術】
【0002】
液体および気体濾過システムにより、浄化された流体の流れの準備および制御が可能となる。これらのシステムは、例えば、製薬、食品加工および包装、工業用および市販の化学物質および化学製品、ならびに半導体およびマイクロエレクトロニクスデバイスの製造に使用される処理液のために、化学処理および製造業における使用を含め、広範囲の用途を有する。半導体およびマイクロエレクトロニクスデバイスの処理の場合、液体濾過システムは、ソーラーパネル、フラットパネルディスプレイ、マイクロプロセッサ、メモリ製品、ハードディスクドライブ部品、ならびに他の半導体およびマイクロエレクトロニクスデバイスを製造するために使用される液体を濾過するために使用される。液体は、他の種類の処理の中でも、フォトリソグラフィー、バルク化学送達、化学機械研磨(CMP)、ウェットエッチング、または洗浄などの処理で使用することができる。
【0003】
液体を準備(濾過)するために使用されるフィルタアセンブリの様々な設計には、膜を通過する液体から不純物を除去する濾過膜を含む円筒内部を画定するフィルタハウジングが含まれる。使用中、液体は、濾過膜を通る流れを含む流路内の内部を通って流される。濾過膜は、ハウジングから取り外し、使用期間後に洗浄または交換することができる交換可能なフィルタカートリッジの構成要素であってもよい。他の製品では、濾過膜は使い捨てフィルタカートリッジの構成要素である。
【0004】
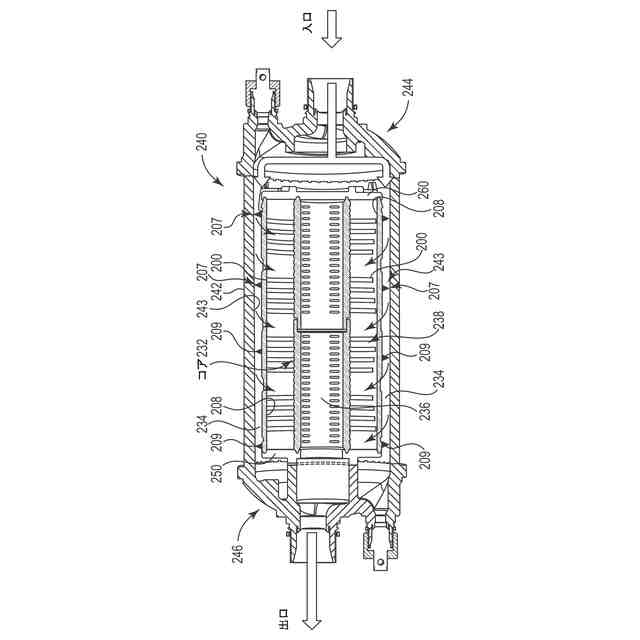
この種のフィルタ装置の1つの典型的な取付け構成は、2ピースハウジング内で使用するために収容された交換可能なフィルタカートリッジを含むシステムである。ハウジングは、交換可能なカートリッジを収容する取り外し可能な「ボウル」に結合されたハウジングマニホールドを含む。マニホールドは、入力導管および出力導管に結合されている。入力導管はマニホールド入口に結合され、マニホールド入口は未濾過の液体の流入流をハウジング内に導く。出力導管は、流体が濾過膜を通過した後にマニホールド出力を通ってアセンブリを出る流体(すなわち、「濾液」)の流れを受け入れるためにマニホールド出口に結合される。使用中、流体は、ボウル内に収容されたフィルタを通って入力部に入り、次いで出口を通ってフィルタハウジングから出る。一定量の使用後、ボウルをマニホールドから分離することができ、フィルタを取り外し、新しいフィルタ、または以前に使用され洗浄工程によって処理されたフィルタと交換することができる。
【0005】
異なる典型的な取付け構成は、使い捨てフィルタハウジング内に収容された非交換可能フィルタカートリッジを含む使い捨てフィルタアセンブリを備える。ハウジングは、ハウジングの一端に入口を有し、ハウジングの反対側の端に出口を有する。入力導管が入口に結合され、出力導管が出口に結合される。流体は、入口に流入し、濾過膜を通ることを含め、アセンブリを通って、次いで出口を通って使い捨てハウジングを出る。
【0006】
これらのフィルタシステムでは、フィルタカートリッジの設計は流量を最大にする必要がある。これは、使用中にフィルタカートリッジをフィルタハウジング内でセンタリングし、フィルタカートリッジ(および付随する濾過膜)の中心長手軸をフィルタハウジング(例えば、2ピースのマニホールドおよびボウルハウジング、または使い捨ての円筒形ハウジング)の中心長手軸と(実質的に)整列させ、および/または濾過膜のマスキングを最小限に抑えるようにカートリッジ支持体の形状を設計することによって達成することができる。いくつかの実施形態では、カートリッジの場所は、フィルタハウジングの中央に(すなわち、中心に)あるべきであり、濾過膜の外側の面は、膜とフィルタハウジングの内部面との間に設計された流体のレベルを可能にするようハウジングの内部面から適度に間隔を置いて配置されている。例えば、流体の流れは、フィルタカートリッジおよび濾過膜の周囲のすべての場所で、この空間を通して均一にする必要がある。いくつかの実施形態では、カートリッジ支持体の形状は、マスキング(カートリッジ支持体によって覆われた膜の表面積)を最小にし、それによってフィルタカートリッジ内のスローまたはデッドフロー箇所を回避するよう流れ分布を改善する。
【0007】
フィルタカートリッジをフィルタハウジング内にセンタリングするために、様々な構造および技術がこれまでに使用されている。例示的な構造は、マニホールドの対向面または円筒形ハウジングの隣接面に係合するように設計された表面など、フィルタカートリッジの端部に配置された関連構造を伴っていた。これらの構造は、一般にフィルタカートリッジの一端または両端でハウジングと係合することにより、ハウジングの内部面に対してフィルタカートリッジの位置を維持している。しかし、センタリングと流れの改善の両方に継続的な設計改善が必要とされている。
【発明の概要】
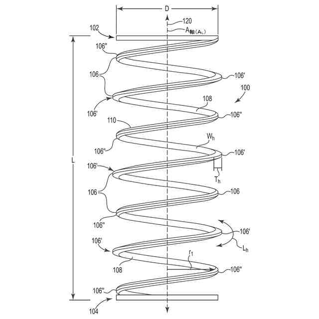
【0008】
フィルタカートリッジの新しい構造について説明する。これらは、マスキングを低減し、流れを改善するのに有用であり得るらせん状ストランド、フィルタカートリッジをフィルタハウジングの内部容積内の中心に配置するのに有用であり得るカートリッジの周辺箇所のセンタリング面、またはらせん状ストランドとセンタリング面の両方を有するカートリッジ支持体を含む。
【0009】
本明細書のカートリッジ支持体は、フィルタカートリッジの濾過膜を囲むボウルの内部面に対して中心位置にフィルタカートリッジの位置を維持することを含む、フィルタハウジングのボウルの内部容積内のフィルタカートリッジおよび付随する濾過膜の位置に影響を与え、その位置を維持するのに有用であり得るセンタリング面を含むことができる。これらのセンタリング面は、カートリッジの長手軸からカートリッジ外側支持体の表面の最大(最も外側の)半径方向距離の領域において、カートリッジ支持体の外(周囲)面に配置することができる。
【0010】
センタリング面は、カートリッジ支持体の周辺箇所に形成されてもよい。いくつかの実施形態では、カートリッジ支持体は、フィルタハウジングと膜との間に配置されたカートリッジ外側支持体でもよい。他の実施形態では、カートリッジ支持体は、その周りに膜が配置されるカートリッジ内側支持体(またはコア)でもよい。センタリング面は、任意のサイズおよび形状であってもよいが、一般に、センタリング面が濾過膜を通る流体の流れを妨げないように、濾過膜の面積に対して少ない表面積を有する。
(【0011】以降は省略されています)
この特許をJ-PlatPat(特許庁公式サイト)で参照する
関連特許
株式会社西部技研
除湿装置
1か月前
株式会社日本触媒
ドロー溶質
1か月前
プライミクス株式会社
攪拌装置
7日前
サンノプコ株式会社
消泡剤
1か月前
日本バイリーン株式会社
フィルタ
21日前
東レ株式会社
遠心ポッティング方法
28日前
トヨタ自動車株式会社
濾過装置
22日前
株式会社切川物産
撹拌装置
8日前
トヨタ紡織株式会社
フィルタ
1日前
トヨタ紡織株式会社
水流帯電装置
1日前
個人
気液混合装置
1か月前
栗田工業株式会社
ギ酸の回収方法
8日前
松岡紙業 株式会社
油吸着体の製造方法
1か月前
東芝ライテック株式会社
光照射装置
22日前
株式会社フクハラ
圧縮空気圧回路ユニット
1か月前
富士電機株式会社
ガス処理システム
1か月前
株式会社明電舎
成膜装置
1か月前
東芝ライテック株式会社
紫外線処理装置
7日前
日本化薬株式会社
直鎖ブテン製造用触媒及びその使用
28日前
本田技研工業株式会社
二酸化炭素回収装置
1か月前
本田技研工業株式会社
二酸化炭素回収装置
1か月前
三浦工業株式会社
撹拌装置
1か月前
個人
フッ化炭素糸物にフッ素をコーティングした浄水手段
1か月前
いであ株式会社
PFAS除去用バイオ炭の製造方法
23日前
JFEエンジニアリング株式会社
二酸化炭素回収方法
1か月前
三菱重工業株式会社
石膏脱水システム
21日前
日本碍子株式会社
電気加熱式担体
1か月前
栗田工業株式会社
有機物含有水の脱泡処理装置
15日前
パナソニックIPマネジメント株式会社
除湿装置
1か月前
みづほ工業株式会社
撹拌装置、及び撹拌羽根取付け方法
1か月前
パナソニックIPマネジメント株式会社
除湿装置
1か月前
パナソニックIPマネジメント株式会社
除湿装置
1か月前
オルガノ株式会社
ろ過膜の洗浄方法及び洗浄装置
15日前
大阪瓦斯株式会社
二酸化炭素回収システム
1か月前
大阪瓦斯株式会社
二酸化炭素回収システム
1か月前
株式会社大気社
気体処理装置
1か月前
続きを見る
他の特許を見る