TOP
|
特許
|
意匠
|
商標
特許ウォッチ
Twitter
他の特許を見る
公開番号
2025158859
公報種別
公開特許公報(A)
公開日
2025-10-17
出願番号
2024061795
出願日
2024-04-05
発明の名称
除湿装置
出願人
パナソニックIPマネジメント株式会社
代理人
個人
,
個人
主分類
B01D
53/26 20060101AFI20251009BHJP(物理的または化学的方法または装置一般)
要約
【課題】連続排水時の操作性が向上する除湿装置を提供することを目的とする。
【解決手段】除湿部5から滴下する結露水を集める集水部12と、集水部12で集めた結露水を貯水する集水タンク13と、が設けられ、集水部12は、吸熱器10の下方に配置されたドレンパン41と、ドレンパン41内の水を集水タンク13に導く水路であるドレン管42と、ドレン管42を開閉する移動自在な開閉弁43と、開閉弁43が開いた状態を保持する保持部44と、を有している。本体ケース1から集水タンク13を取り出し、開閉弁43を開いた状態に保持部が保持するまで開閉弁を移動させると、本体ケース1の開口59を介してドレン管42に排水用のドレンホース部46を着脱可能となる。
【選択図】 図7
特許請求の範囲
【請求項1】
空気吸込口と空気吹出口を有する本体ケースを備え、
前記本体ケース内には、
空気を除湿する除湿部と、
前記空気吸込口から吸い込んだ空気を前記除湿部を介して前記空気吹出口へ送風する送風部と、
前記除湿部から滴下する結露水を集める集水部と、
前記集水部で集めた結露水を貯水する集水タンクと、が設けられ、
前記集水部は、
前記除湿部の下方に配置されたドレンパンと、
前記ドレンパン内の水を前記集水タンクに導く水路であるドレン管と、
前記ドレン管を開閉する移動自在な開閉弁と、
前記開閉弁が開いた状態を保持する保持部と、を有し、
前記集水タンクを前記本体ケースに装着すると、前記開閉弁は開き、
前記本体ケースから前記集水タンクを取り出すと、前記開閉弁は閉じ、
前記本体ケースから前記集水タンクを取り出し、前記開閉弁を開いた状態に前記保持部が保持するまで前記開閉弁を移動させると、前記本体ケースの開口を介して前記ドレン管に排水用のドレンホース部を着脱可能となり、
前記ドレン管から前記ドレンホース部を外し、前記集水タンクを前記本体ケースに装着すると、前記開閉弁が前記ドレン管を開いた状態となり、前記本体ケースから前記集水タンクを取り出すと、前記開閉弁が前記ドレン管を閉じた状態となる除湿装置。
続きを表示(約 820 文字)
【請求項2】
前記ドレン管に前記ドレンホース部を装着した状態で、前記集水タンクを前記本体ケースに挿入すると、
前記集水タンクは前記開閉弁に当たり、前記開閉弁が前記保持部から離れ、前記開閉弁は前記ホース部に当たる請求項1に記載の除湿装置。
【請求項3】
前記開閉弁は、
前記本体ケースに回動自在に設けられ前記ドレン管の開口を開閉する開閉部分と、
前記開閉部分が前記ドレン管を閉じる方向に付勢するバネ部分と、
前記開閉部分から延びる当り部分と、を有し、
前記保持部は、
前記開閉部分が、前記ドレン管から第1所定距離離れ、前記ドレン管を開くと、前記開閉部分に引っかかる移動自在な爪部分と、
前記爪部分を前記開閉部分に引っかかる方向に付勢するバネ部分と、を有し、
前記集水タンクを前記本体ケースに挿入すると、前記集水タンクの第1突起が前記開閉弁の前記当り部分に接触し、前記開閉部分は、前記ドレン管から前記第1所定距離より短い第2所定距離離れ、前記ドレン管を開き、
前記本体ケースから前記集水タンクを取り出すと、前記集水タンクの前記第1突起が前記開閉弁の前記当り部分から離れ、前記開閉弁は前記ドレン管を閉じ、
前記本体ケースから前記集水タンクを取り出し、前記開閉部分を前記ドレン管から前記第1所定距離離し、前記爪部分に引っかけ、前記ドレン管に前記ドレンホース部を装着した状態で、前記集水タンクを前記本体ケースに装着すると、前記集水タンクの第2突起が前記爪部分に当たり前記開閉弁は前記爪部分から外れ、前記ドレンホース部に当たった状態となり、
前記開閉弁が前記ドレンホース部に当たった状態で、前記ドレン管から前記ホース部を外すと、前記開閉弁の前記当り部分は前記第1突起に当たり前記ドレン管を開いた状態となる請求項2に記載の除湿装置。
発明の詳細な説明
【技術分野】
【0001】
本開示は、除湿装置に関する。
続きを表示(約 2,000 文字)
【背景技術】
【0002】
居住空間に用いられ、居住空間等の湿度を低下させる除湿装置が知られている。例えば、特許文献1には、圧縮機と放熱器と膨張器と吸熱器とを順次環状に連結した冷凍サイクルにより構成した除湿部を備える除湿装置が記載されている。除湿装置は、除湿部から滴下する結露水を集める集水部と、集水部で集めた結露水を貯水する集水タンクと、を有している。集水部は、吸熱器の下方に配置されたドレンパンと、ドレンパン内の水を集水タンクに導く水路であるドレン管と、ドレン管を開閉する移動自在な開閉弁と、を備えている。
【先行技術文献】
【特許文献】
【0003】
特開2003-161462号公報
【発明の概要】
【発明が解決しようとする課題】
【0004】
特許文献1に記載の装置では、連続排水をするには、ユーザーがドレンホースをドレン管に差し込む必要がある。ドレンホースをドレン管に差し込む時は、開閉弁を片手で開けながら、もう一方の手でドレンホースを差し込む必要があり、操作性が煩雑になりやすいという課題があった。
【0005】
本開示は、上記課題を解決するためになされたものであり、連続排水時の操作性が向上する除湿装置を提供することを目的とする。
【課題を解決するための手段】
【0006】
上記課題を解決するために、本開示のある態様の除湿装置は、空気吸込口と空気吹出口を有する本体ケースを備え、前記本体ケース内には、空気を除湿する除湿部と、前記空気吸込口から吸い込んだ空気を前記除湿部を介して前記空気吹出口へ送風する送風部と、前記除湿部から滴下する結露水を集める集水部と、前記集水部で集めた結露水を貯水する集水タンクと、が設けられ、前記集水部は、前記除湿部の下方に配置されたドレンパンと、前記ドレンパン内の水を前記集水タンクに導く水路であるドレン管と、前記ドレン管を開閉する移動自在な開閉弁と、前記開閉弁が開いた状態を保持する保持部と、を有し、前記集水タンクを前記本体ケースに装着すると、前記開閉弁は開き、前記本体ケースから前記集水タンクを取り出すと、前記開閉弁は閉じ、前記本体ケースから前記集水タンクを取り出し、前記開閉弁を開いた状態に前記保持部が保持するまで前記開閉弁を移動させると、前記本体ケースの開口を介して前記ドレン管に排水用のドレンホース部を着脱可能となり、前記ドレン管から前記ドレンホース部を外し、前記集水タンクを前記本体ケースに装着すると、前記開閉弁が前記ドレン管を開いた状態となり、前記本体ケースから前記集水タンクを取り出すと、前記開閉弁が前記ドレン管を閉じた状態となるものであり、これにより所期の目的を達成するものである。
【発明の効果】
【0007】
本開示によれば、連続排水時の操作性が向上する除湿装置を提供できる。
【図面の簡単な説明】
【0008】
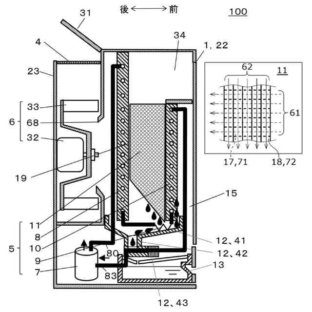
本開示の実施例に係る除湿装置を模式的に示す斜視図
同除湿装置を模式的に示す側断面図
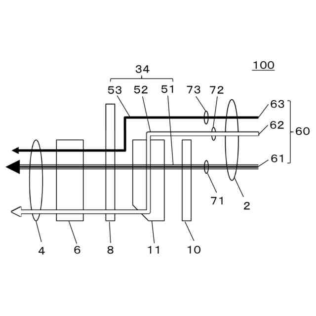
同除湿装置の空気通路を模式的に示す図
同除湿装置の空気の流れを模式的に示す図
同除湿装置の内部を示す斜視図
同除湿装置を模式的に示す断面図
同除湿装置を模式的に示す断面図
同除湿装置を模式的に示す断面図
【発明を実施するための形態】
【0009】
以下、本開示を実施するための形態について添付図面を参照して説明する。以下に説明する実施例は、いずれも本開示の好ましい一具体例を示す。よって、以下の実施例で示される、数値、形状、材料、構成要素、構成要素の配置位置及び接続形態、並びに、ステップ(工程)及びステップの順序などは、一例であって本開示を限定する主旨ではない。したがって、以下の実施例における構成要素のうち、本開示の最上位概念を示す独立請求項に記載されていない構成要素については、任意の構成要素として説明される。また、各図において、実質的に同一の構成に対しては同一の符号を付しており、重複する説明は省略又は簡略化する。
【0010】
また、第1、第2などの序数を含む用語は多様な構成要素を説明するために用いられるが、この用語は一つの構成要素を他の構成要素から区別する目的でのみ用いられ、この用語によって構成要素が限定されるものではない。
[実施例]
図1■図4を参照して、本開示の実施例に係る除湿装置100の概略構成を説明する。図1は、実施例に係る除湿装置100を示す斜視図である。図2は、図1のA-A線に沿った除湿装置100の断面を示す側断面図である。
(【0011】以降は省略されています)
この特許をJ-PlatPat(特許庁公式サイト)で参照する
関連特許
株式会社西部技研
除湿装置
2日前
ユニチカ株式会社
複合中空糸膜
16日前
東レ株式会社
中空糸膜モジュール
15日前
株式会社ニクニ
液体処理装置
29日前
日本化薬株式会社
メタノール改質触媒
1か月前
株式会社大善
濃縮脱水機
1か月前
株式会社MRT
微細バブル発生装置
19日前
個人
攪拌装置
19日前
株式会社笹山工業所
濁水処理システム
19日前
日本ソリッド株式会社
水中懸濁物質付着素材
1か月前
東京理化器械株式会社
クリップ
23日前
ヤマシンフィルタ株式会社
フィルタ装置
17日前
ヤマシンフィルタ株式会社
フィルタ装置
1か月前
大和ハウス工業株式会社
反応装置
9日前
ノリタケ株式会社
ガス吸収シート
1か月前
本田技研工業株式会社
ガス回収装置
11日前
大陽日酸株式会社
CO2の回収方法
11日前
ダイハツ工業株式会社
二酸化炭素分解装置
1か月前
杉山重工株式会社
回転円筒型反応装置
19日前
中外炉工業株式会社
ガス発生装置及び窒化装置
1か月前
東レ株式会社
多孔中実繊維、繊維束および浄化カラム
1か月前
ノリタケ株式会社
触媒材料およびその利用
9日前
本田技研工業株式会社
二酸化炭素回収装置
9日前
ノリタケ株式会社
触媒材料およびその利用
9日前
本田技研工業株式会社
二酸化炭素回収装置
9日前
ノリタケ株式会社
触媒材料およびその利用
9日前
株式会社インパクト
消臭剤又は消臭紙の製造方法
22日前
個人
生分解性蓄熱マイクロカプセルおよびその製造方法
1か月前
本田技研工業株式会社
二酸化炭素回収装置
9日前
本田技研工業株式会社
二酸化炭素回収装置
9日前
本田技研工業株式会社
分離システム
19日前
靜甲株式会社
高圧損発生ユニット並びに充填装置
1か月前
本田技研工業株式会社
二酸化炭素回収装置
17日前
本田技研工業株式会社
二酸化炭素回収装置
11日前
本田技研工業株式会社
二酸化炭素回収装置
15日前
本田技研工業株式会社
二酸化炭素回収装置
4日前
続きを見る
他の特許を見る