TOP
|
特許
|
意匠
|
商標
特許ウォッチ
Twitter
他の特許を見る
10個以上の画像は省略されています。
公開番号
2025138211
公報種別
公開特許公報(A)
公開日
2025-09-25
出願番号
2024037167
出願日
2024-03-11
発明の名称
クリップ
出願人
東京理化器械株式会社
代理人
個人
,
個人
主分類
B01D
3/00 20060101AFI20250917BHJP(物理的または化学的方法または装置一般)
要約
【課題】一つの部品で、試料フラスコの着脱・固定を可能とし、着脱操作性と安全性を向上させるクリップを提供する。
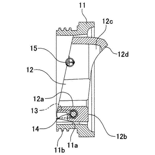
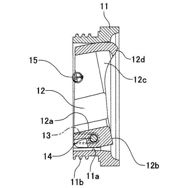
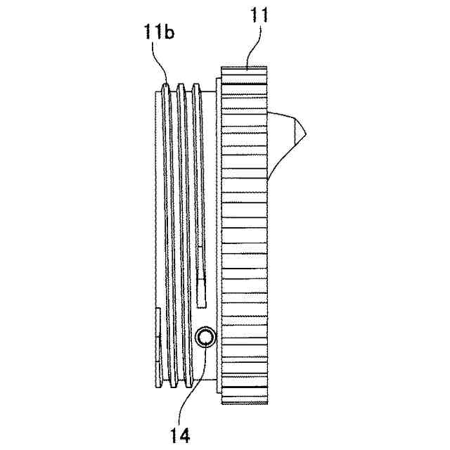
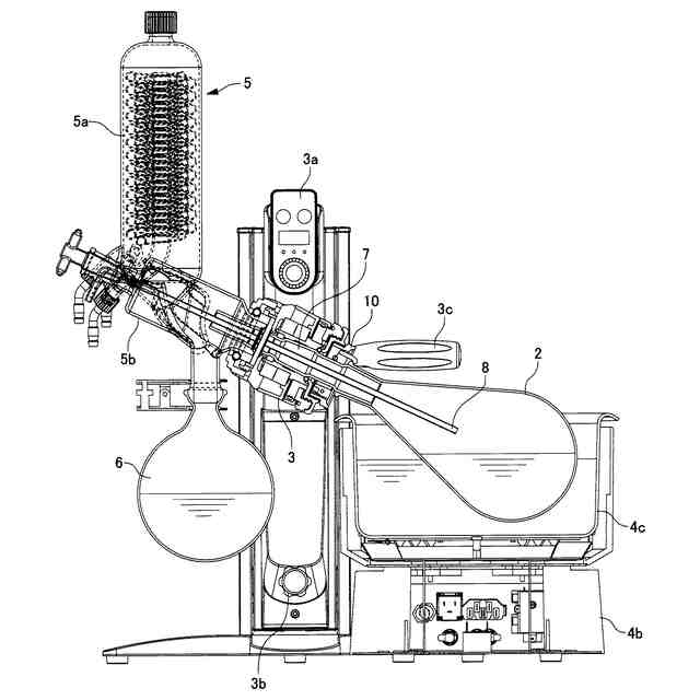
【解決手段】ロータリーエバポレータ1の駆動手段3内に挿通されるロータリージョイント7に試料フラスコ2を着脱可能に保持させるクリップ10であって、外側に配置される円環状のロックスクリュー環11と、内側に配置される円環状のロックフック環12とを有し、ロックスクリュー環11は、後端側に駆動手段3に螺合する雄ネジ部11bを備え、ロックフック環12は、前端面に試料フラスコ開口のリップ凸部2bを係合する係合凸部12dと、リップ凸部2bを押し出す押当面12bとを備え、ロックフック環12は、ロックスクリュー環11に対して、前後方向に回動可能である。
【選択図】図4
特許請求の範囲
【請求項1】
実験装置の駆動手段内に挿通されるロータリージョイントに試料フラスコを着脱可能に保持させるクリップであって、
外側に配置される円環状のロックスクリュー環と、内側に配置される円環状のロックフック環とを有し、
前記ロックスクリュー環は、
後端側に前記駆動手段に螺合する螺合手段を備え、
前記ロックフック環は、
前端面に前記試料フラスコ開口のリップ凸部を係合する係合凸部と、リップ凸部を押し出す押当面とを備え、
前記ロックフック環は、前記ロックスクリュー環に対して、前後方向に回動可能であることを特徴とするクリップ。
続きを表示(約 170 文字)
【請求項2】
前記係合凸部は、前記ロックフック環の前端面から前方に突出した位置に設けられていることを特徴とする請求項1記載のクリップ。
【請求項3】
前記ロックフック環は、前記ロータリージョイントのジョイント部と小径部との段部に係合可能なコイルバネを備えていることを特徴とする請求項1又は2記載のクリップ。
発明の詳細な説明
【技術分野】
【0001】
本発明は、クリップに関し、詳しくは、試料フラスコをロータリーエバポレータ等の実験装置の駆動手段内に挿通されるロータリージョイントに着脱可能に連結保持させるクリップに関する。
続きを表示(約 1,300 文字)
【背景技術】
【0002】
ロータリーエバポレータ等の実験装置の駆動手段内に挿通されるロータリージョイントに試料フラスコを取り付ける場合、ロータリージョイントのジョイント部のテーパ面と、試料フラスコの開口部の内周側のテーパ面との共通テーパ擦り合わせの規格により接合し、ジョイントクリップにより(特許文献1,非特許文献1参照)、固定されていた。
【0003】
また、テーパ擦り合わせ嵌合状態が固着することもあり、試料フラスコを押し出して取り外すために、フラスコ外しネジとジョイントリング(押出リング)と呼ばれる部品を、駆動手段とジョイントクリップの間に介在させていた(特許文献1,非特許文献1参照)。
【先行技術文献】
【特許文献】
【0004】
特許第6926757号公報
【非特許文献】
【0005】
東京理化器械株式会社,純正パーツ(標準・オプション)小型ロータリーエバポレータ用,[online],[令和6年2月14日検索],インターネット <URL:https://eyela-chiller.jp/products/n_parts/n1300n1210parts.shtml>
【発明の概要】
【発明が解決しようとする課題】
【0006】
しかしながら、特許文献1,非特許文献1の場合、試料フラスコの着脱の度に、ジョイントクリップの取り付け、取り外しが必要となる上に、操作時に見当たらないといった状況を避けるため、実験台のそばに常にジョイントクリップを置いておく必要があった。
【0007】
また、ジョイントクリップに加えて、フラスコ外しネジとジョイントリング(押出リング)といった部品も必要となり、部品点数が多くなってしまった。
【0008】
そこで本発明は、一つの部品で、試料フラスコの着脱・固定を可能とし、着脱操作性と安全性を向上させるクリップを提供することを目的としている。
【課題を解決するための手段】
【0009】
上記目的を達成するため、本発明のクリップは、実験装置の駆動手段内に挿通されるロータリージョイントに試料フラスコを着脱可能に保持させるクリップであって、外側に配置される円環状のロックスクリュー環と、内側に配置される円環状のロックフック環とを有し、前記ロックスクリュー環は、後端側に前記駆動手段に螺合する螺合手段を備え、前記ロックフック環は、前端面に前記試料フラスコ開口のリップ凸部を係合する係合凸部と、リップ凸部を押し出す押当面とを備え、前記ロックフック環は、前記ロックスクリュー環に対して、前後方向に回動可能であることを特徴としている。
【0010】
また、前記係合凸部は、前記ロックフック環の前端面から前方に突出した位置に設けられていることを特徴としている。さらに、前記ロックフック環は、前記ロータリージョイントのジョイント部と小径部との段部に係合可能なコイルバネを備えていることを特徴としている。
【発明の効果】
(【0011】以降は省略されています)
この特許をJ-PlatPat(特許庁公式サイト)で参照する
関連特許
株式会社西部技研
除湿装置
10日前
株式会社日本触媒
ドロー溶質
4日前
サンノプコ株式会社
消泡剤
2日前
松岡紙業 株式会社
油吸着体の製造方法
4日前
個人
気液混合装置
2日前
大和ハウス工業株式会社
反応装置
17日前
株式会社フクハラ
圧縮空気圧回路ユニット
2日前
本田技研工業株式会社
二酸化炭素回収装置
12日前
ノリタケ株式会社
触媒材料およびその利用
17日前
本田技研工業株式会社
二酸化炭素回収装置
17日前
ノリタケ株式会社
触媒材料およびその利用
17日前
本田技研工業株式会社
二酸化炭素回収装置
17日前
本田技研工業株式会社
二酸化炭素回収装置
17日前
本田技研工業株式会社
二酸化炭素回収装置
17日前
ノリタケ株式会社
触媒材料およびその利用
17日前
東京応化工業株式会社
ろ過処理方法、及び多孔質膜
17日前
個人
フッ化炭素糸物にフッ素をコーティングした浄水手段
2日前
日本碍子株式会社
電気加熱式担体
17日前
JFEエンジニアリング株式会社
二酸化炭素回収方法
2日前
日本碍子株式会社
電気加熱式担体
16日前
パナソニックIPマネジメント株式会社
除湿装置
9日前
大阪瓦斯株式会社
二酸化炭素回収システム
16日前
大阪瓦斯株式会社
二酸化炭素回収システム
16日前
株式会社大気社
気体処理装置
16日前
パナソニックIPマネジメント株式会社
除湿装置
9日前
パナソニックIPマネジメント株式会社
除湿装置
9日前
三菱ケミカル株式会社
精製ガスの製造方法
16日前
三菱ケミカル株式会社
精製ガスの製造方法
16日前
みづほ工業株式会社
撹拌装置、及び撹拌羽根取付け方法
5日前
パナソニックIPマネジメント株式会社
除湿装置
17日前
株式会社神鋼環境ソリューション
濾過方法および濾過装置
2日前
JFEエンジニアリング株式会社
二酸化炭素回収システム
3日前
株式会社川本製作所
水処理装置
17日前
愛三工業株式会社
ガス吸着装置
3日前
住友化学株式会社
フィルター
12日前
住友化学株式会社
フィルター
12日前
続きを見る
他の特許を見る