TOP
|
特許
|
意匠
|
商標
特許ウォッチ
Twitter
他の特許を見る
公開番号
2025141031
公報種別
公開特許公報(A)
公開日
2025-09-29
出願番号
2024040752
出願日
2024-03-15
発明の名称
濁水処理システム
出願人
株式会社笹山工業所
代理人
個人
主分類
B01D
21/30 20060101AFI20250919BHJP(物理的または化学的方法または装置一般)
要約
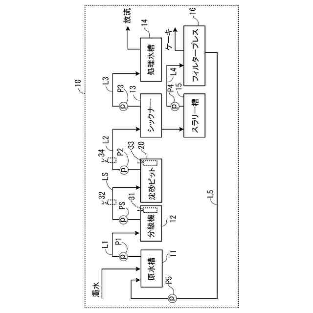
【課題】シックナーの構成を複雑にすることなく、濁水の濁度に応じてシックナーへ投入される凝集剤の量の調整を容易に行うことが可能な濁水処理システムを提供する。
【解決手段】濁水MWを供給する供給路L1,LSと、供給路L1,LSを介して供給された濁水MWから砂礫を除去する除去部としての分級機12及び沈砂ピット20と、除去部により砂礫の少なくとも一部が除去された状態の濁水MWを送る送水経路としての供給路LS及び送水路L2と、送水経路により送られた濁水MWから沈降させたスラリーと上水とを分離するシックナー13と、を備える濁水処理システム10であって、除去部から送水経路の終端部に至る経路には、除去部により砂礫の少なくとも一部が除去された状態の濁水MWの濁度を計測する濁度計31~34を備え、濁度計31~34で計測された濁度に基づき、シックナー13に添加される凝集剤が調整される。
【選択図】図1
特許請求の範囲
【請求項1】
濁水を供給する供給路と、
前記供給路を介して供給された前記濁水から砂礫を除去する除去部と、
前記除去部により前記砂礫の少なくとも一部が除去された状態の濁水を送る送水経路と、
前記送水経路により送られた濁水から沈降させたスラリーと上水とを分離するシックナーと、を備える濁水処理システムであって、
前記除去部から前記送水経路の終端部に至る経路には、前記除去部により砂礫の少なくとも一部が除去された状態の濁水の濁度を計測する濁度計を備え、前記濁度計で計測された濁度に基づき、前記シックナーに添加される凝集剤が調整される、濁水処理システム。
続きを表示(約 180 文字)
【請求項2】
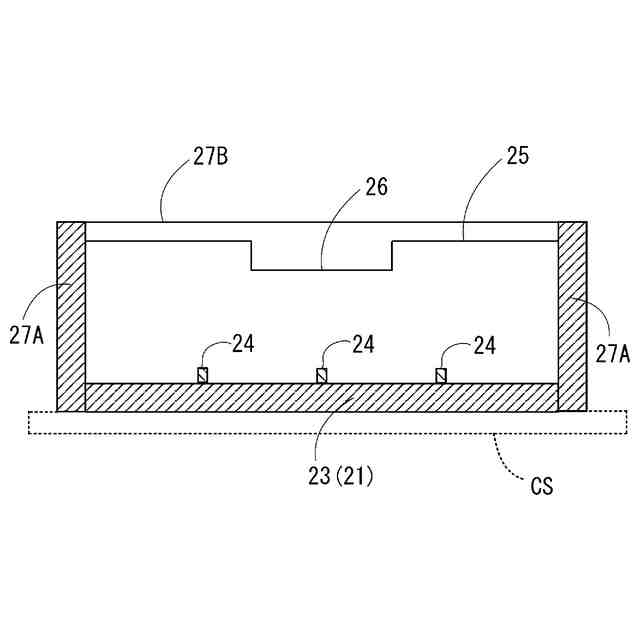
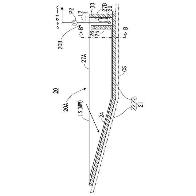
前記除去部は、前記供給路を介して送られた濁水を溜めて砂礫を沈殿させる沈砂ピットを備え、
前記沈砂ピットは、
前記供給路から送られた濁水を溜める濁水収容部と、
前記濁水収容部から溢れた濁水を収容する溢水収容部と、を備え、
前記濁度計は、前記溢水収容部に収容された濁水の濁度を計測する請求項1に記載の濁水処理システム。
発明の詳細な説明
【技術分野】
【0001】
本開示は、濁水処理システムに関する。
続きを表示(約 1,700 文字)
【背景技術】
【0002】
特許文献1には、原水処理装置が記載されている。この原水処理装置は、上流側に原水を供給する原水ピットを設けると共に、下流側に凝集剤を添加して原水からフロックを沈降分離させるシックナーを備える。原水ピットからシックナーへの配管経路には、小型の沈殿槽が設けられ、沈殿槽の下流側にシックナーの上流側が配管接続されている。沈殿槽は、濁水の濁度を計測するための濁度計を備え、沈殿槽内の濁度計により原水の濁度を計測し、その濁度に基づき凝集剤の添加量を調整する。
【先行技術文献】
【特許文献】
【0003】
特開2016-221468公報
【発明の概要】
【発明が解決しようとする課題】
【0004】
特許文献1では、シックナーへの凝集剤の添加量を調整するために、シックナーを沈殿槽に対して配管接続しなければならないため、シックナー等の構成が複雑になりやすいという問題がある。
【0005】
本開示の目的の一つは、シックナーの構成を複雑にすることなく、濁水の濁度に応じてシックナーへ投入される凝集剤の量の調整を容易に行うことが可能な濁水処理システムを提供することである。
【課題を解決するための手段】
【0006】
本開示の一つである濁水処理システムは、
濁水を供給する供給路と、
前記供給路を介して供給された前記濁水から砂礫を除去する除去部と、
前記除去部により前記砂礫の少なくとも一部が除去された状態の濁水を送る送水経路と、
前記送水経路により送られた濁水から沈降させたスラリーと上水とを分離するシックナーと、を備える濁水処理システムであって、
前記除去部から前記送水経路の終端部に至る経路には、前記除去部により砂礫の少なくとも一部が除去された状態の濁水の濁度を計測する濁度計を備え、前記濁度計で計測された濁度に基づき、前記シックナーに添加される凝集剤が調整される。
【発明の効果】
【0007】
本開示に係る技術によれば、シックナーの構成を複雑にすることなく、濁水の濁度に応じてシックナーへ投入される凝集剤の量の調整を容易に行うことが可能になる。
【図面の簡単な説明】
【0008】
図1は、第1実施形態に係る濁水処理システムの構成を示すブロック図である。
図2は、沈砂ピット上に濁水の供給路が配置された状態を示す平面図である。
図3は、図2の沈砂ピットにおけるA-A断面図である。
図4は、図3のB-B断面図である。
【発明を実施するための形態】
【0009】
以下の〔1〕~〔4〕の各々は、本開示に含まれる濁水処理システムの一例である。
〔1〕 濁水を供給する供給路と、
前記供給路を介して供給された前記濁水から砂礫を除去する除去部と、
前記除去部により前記砂礫の少なくとも一部が除去された状態の濁水を送る送水経路と、
前記送水経路により送られた濁水から沈降させたスラリーと上水とを分離するシックナーと、を備える濁水処理システムであって、
前記除去部から前記送水経路の終端部に至る経路には、前記除去部により砂礫の少なくとも一部が除去された状態の濁水の濁度を計測する濁度計を備え、前記濁度計で計測された濁度に基づき、前記シックナーに添加される凝集剤が調整される。
【0010】
上記〔1〕の濁水処理システムは、除去部で砂礫が除去された濁水の濁度を濁度計により計測するため、濁度計で計測された濁度に基づいて凝集剤の必要量を知ることができ、濁水の濁度に応じてシックナーへ投入される凝集剤の量の調整を容易に行うことが可能となる。また、シックナーに至る前の経路に濁度計を設けるため、例えば濁度の計測のためにシックナーに濁度計を設ける必要がなくなり、シックナーの構成を簡素化することが可能になる。
(【0011】以降は省略されています)
この特許をJ-PlatPat(特許庁公式サイト)で参照する
関連特許
株式会社笹山工業所
沈砂ピット及び濁水処理システム
1か月前
株式会社西部技研
除湿装置
1か月前
株式会社日本触媒
ドロー溶質
27日前
日本バイリーン株式会社
フィルタ
12日前
サンノプコ株式会社
消泡剤
25日前
東レ株式会社
遠心ポッティング方法
19日前
トヨタ自動車株式会社
濾過装置
13日前
大和ハウス工業株式会社
反応装置
1か月前
個人
気液混合装置
25日前
松岡紙業 株式会社
油吸着体の製造方法
27日前
株式会社フクハラ
圧縮空気圧回路ユニット
25日前
富士電機株式会社
ガス処理システム
22日前
本田技研工業株式会社
ガス回収装置
1か月前
東芝ライテック株式会社
光照射装置
13日前
大陽日酸株式会社
CO2の回収方法
1か月前
株式会社明電舎
成膜装置
22日前
日本化薬株式会社
直鎖ブテン製造用触媒及びその使用
19日前
本田技研工業株式会社
二酸化炭素回収装置
1か月前
本田技研工業株式会社
二酸化炭素回収装置
1か月前
本田技研工業株式会社
二酸化炭素回収装置
1か月前
本田技研工業株式会社
二酸化炭素回収装置
1か月前
本田技研工業株式会社
二酸化炭素回収装置
1か月前
本田技研工業株式会社
二酸化炭素回収装置
1か月前
ノリタケ株式会社
触媒材料およびその利用
1か月前
ノリタケ株式会社
触媒材料およびその利用
1か月前
ノリタケ株式会社
触媒材料およびその利用
1か月前
日東電工株式会社
吸着材
1か月前
個人
フッ化炭素糸物にフッ素をコーティングした浄水手段
25日前
Planet Savers株式会社
気体濃縮装置
1か月前
東京応化工業株式会社
ろ過処理方法、及び多孔質膜
1か月前
いであ株式会社
PFAS除去用バイオ炭の製造方法
14日前
株式会社プロテリアル
触媒複合物および触媒前駆体複合物
1か月前
三浦工業株式会社
撹拌装置
22日前
TPR株式会社
多孔質ブリーザ
1か月前
JFEエンジニアリング株式会社
二酸化炭素回収方法
25日前
新甲エンジニアリング株式会社
使用済フロン再生装置
1か月前
続きを見る
他の特許を見る