TOP
|
特許
|
意匠
|
商標
特許ウォッチ
Twitter
他の特許を見る
公開番号
2025141737
公報種別
公開特許公報(A)
公開日
2025-09-29
出願番号
2024080286
出願日
2024-05-16
発明の名称
沈砂ピット及び濁水処理システム
出願人
株式会社笹山工業所
代理人
個人
主分類
B01D
21/02 20060101AFI20250919BHJP(物理的または化学的方法または装置一般)
要約
【課題】濁水に含有される固形物を効果的に液体から分離することができ、分離された固形物を効率的に移動することができる。
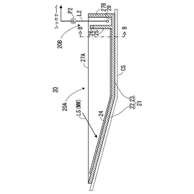
【解決手段】濁水MWを供給する供給路LSと、底面部21と当該底面部21に対して起立する隔壁27A,27Bとを有し、供給路LSを介して送られた濁水MWを溜める沈砂ピット20と、沈砂ピット20を介して送られた濁水MWから沈降させたスラリーと上水とを分離するシックナー13と、を備える濁水処理システム10であって、沈砂ピット20は、供給路LSから送られた濁水MWを溜める濁水収容部20Aと、濁水収容部20Aから溢れた濁水MWを収容する溢水収容部20Bと、を備え、底面部21は、濁水収容部20Aの領域に水平面に対して傾斜した傾斜底面22を有し、供給路LSは底面部21における傾斜底面22の領域に濁水MWを供給する。
【選択図】図1
特許請求の範囲
【請求項1】
底面部と当該底面部に対して起立する隔壁とを有し、濁水を供給する供給路を介して送られた濁水を溜める沈砂ピットであって、
前記供給路から送られた濁水を溜める濁水収容部と、
前記濁水収容部から溢れた濁水を収容する溢水収容部と、
を備え、
前記底面部は、前記濁水収容部の領域に水平面に対して傾斜した傾斜底面を有し、
前記供給路は、前記底面部における前記傾斜底面の領域に濁水を供給する
沈砂ピット。
続きを表示(約 830 文字)
【請求項2】
前記傾斜底面は、前記溢水収容部側に向けて低くなるように傾斜するとともに、前記底面部における前記溢水収容部側は、前記傾斜底面よりも水平面に対する傾斜が小さい領域を有する
請求項1に記載の沈砂ピット。
【請求項3】
前記濁水収容部と前記溢水収容部とは並んで設けられており、
前記供給路は、前記濁水収容部と前記溢水収容部との並び方向に対して傾斜した方向から前記濁水を前記傾斜底面の領域に供給する
請求項1又は請求項2に記載の沈砂ピット。
【請求項4】
前記傾斜底面には、沈殿物を回収する清掃用機械の進行方向を案内するレールが設けられている
請求項1又は請求項2に記載の沈砂ピット。
【請求項5】
前記濁水収容部と前記溢水収容部との間を仕切る仕切壁を備え、前記仕切壁には、溢水が通過する溢水通過凹部が形成されている
請求項1又は請求項2に記載の沈砂ピット。
【請求項6】
前記傾斜底面の傾斜が低くなる側を後方とした場合、
前記溢水通過凹部の後方側、かつ、前記仕切壁における前記濁水収容部側には、前記溢水通過凹部に向かう濁水の流れを規制する規制壁が形成されている
請求項5に記載の沈砂ピット。
【請求項7】
前記傾斜底面の傾斜が生じる側を前後方向とした場合、
前記溢水収容部は、前記濁水収容部に対して側方に配置されている
請求項1又は請求項2に記載の沈砂ピット。
【請求項8】
前記傾斜底面の傾斜が低くなる側を後方とした場合、
前記溢水収容部は、前記濁水収容部に対する両側方に設けられるとともに、後方側が連結される連結部を備える
請求項1又は請求項2に記載の沈砂ピット。
【請求項9】
請求項1又は請求項2に記載の沈砂ピットを備える濁水処理システム。
発明の詳細な説明
【技術分野】
【0001】
本開示は、沈砂ピット及び濁水処理システムに関する。
続きを表示(約 1,800 文字)
【背景技術】
【0002】
特許文献1には、濁水処理装置が記載されている。この濁水処理装置は、原水槽、固液分離槽、処理水槽、プレス装置を備えている。原水槽は、工事現場などに設置され、前処理槽から被処理水(原水)が供給される。前処理槽は、被処理水中の砂礫粒子などの大きな粒子を重量で沈降させて底部に堆積させる堆積槽と、この堆積槽の上部の微小な固定粒子が懸濁した一次処理水を貯める原水貯留槽とを備えている。原水貯留槽の一次処理水を被処理水として揚水ポンプにより原水槽に送られる。原水槽に設けられた原水ポンプは、原水槽内の被処理水を、固液分離槽へ送り出す。固液分離槽には、凝集剤であるポリ塩化アルミニウムが供給される。固液分離槽は、被処理水中の微小固体粒子である浮遊懸濁物質を沈降させ、これら浮遊懸濁物質が濃縮されたスラリーと、浮遊懸濁物質が所定以上取り除かれた浄水とに分離させる。プレス装置は、濾板と濾布との間にスラリーを圧入して脱水を行い、板状の汚泥である脱水ケーキを形成する。
【先行技術文献】
【特許文献】
【0003】
特開2007-222835公報
【発明の概要】
【発明が解決しようとする課題】
【0004】
濁水を処理する場合、含有される粒子等の固形物を効果的に液体から分離することが望まれ、分離された固形物を効率的に移動できるようにすることが望まれる。
【0005】
本開示の目的の一つは、濁水に含有される固形物を効果的に液体から分離することができ、分離された固形物を効率的に移動することができる技術を提供することである。
【課題を解決するための手段】
【0006】
本開示の一つである沈砂ピットは、
底面部と当該底面部に対して起立する隔壁とを有し、濁水を供給する供給路を介して送られた濁水を溜める沈砂ピットであって、
前記供給路から送られた濁水を溜める濁水収容部と、
前記濁水収容部から溢れた濁水を収容する溢水収容部と、
を備え、
前記底面部は、前記濁水収容部の領域に水平面に対して傾斜した傾斜底面を有し、
前記供給路は、前記底面部における前記傾斜底面の領域に濁水を供給する。
【発明の効果】
【0007】
本開示に係る技術によれば、濁水に含有される固形物を効果的に液体から分離することができ、分離された固形物を効率的に移動することができる。
【図面の簡単な説明】
【0008】
図1は、第1実施形態に係る濁水処理システムの構成を示すブロック図である。
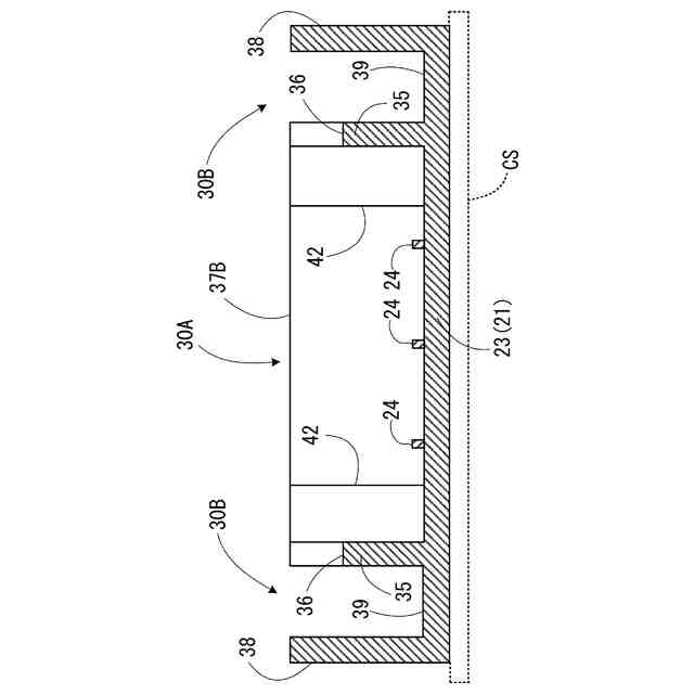
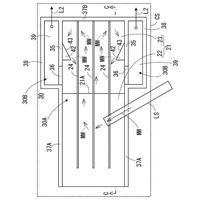
図2は、沈砂ピット上に濁水の供給路が配置された状態を示す平面図である。
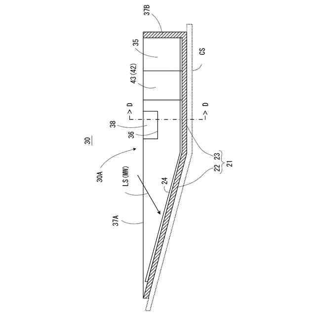
図3は、図2の沈砂ピットにおけるA-A断面図である。
図4は、図3のB-Bの位置の断面図である。
図5は、第2実施形態に係る沈砂ピット上に濁水の供給路が配置された状態を示す平面図である。
図6は、図5の沈砂ピットにおけるC-C断面図である。
図7は、図6のD-Dの位置の断面図である。
図8は、第3実施形態に係る沈砂ピット上に濁水の供給路が配置された状態を示す平面図である。
【発明を実施するための形態】
【0009】
以下の〔1〕~〔10〕の各々は、本開示に含まれる濁水処理システムの一例である。
〔1〕 底面部と当該底面部に対して起立する隔壁とを有し、濁水を供給する供給路を介して送られた濁水を溜める沈砂ピットであって、
前記供給路から送られた濁水を溜める濁水収容部と、
前記濁水収容部から溢れた濁水を収容する溢水収容部と、
を備え、
前記底面部は、前記濁水収容部の領域に水平面に対して傾斜した傾斜底面を有し、
前記供給路は、前記底面部における前記傾斜底面の領域に濁水を供給する
沈砂ピット。
【0010】
上記〔1〕の沈砂ピットは、濁水に含有される固形物を効果的に液体から分離することができ、分離された固形物を効率的に移動することができる。
(【0011】以降は省略されています)
この特許をJ-PlatPat(特許庁公式サイト)で参照する
関連特許
ユニチカ株式会社
複合中空糸膜
9日前
東レ株式会社
中空糸膜モジュール
8日前
株式会社ニクニ
液体処理装置
22日前
日本化薬株式会社
メタノール改質触媒
23日前
株式会社MRT
微細バブル発生装置
12日前
株式会社笹山工業所
濁水処理システム
12日前
個人
攪拌装置
12日前
東京理化器械株式会社
クリップ
16日前
ヤマシンフィルタ株式会社
フィルタ装置
10日前
ヤマシンフィルタ株式会社
フィルタ装置
1か月前
ノリタケ株式会社
ガス吸収シート
23日前
大和ハウス工業株式会社
反応装置
2日前
大陽日酸株式会社
CO2の回収方法
4日前
本田技研工業株式会社
ガス回収装置
4日前
杉山重工株式会社
回転円筒型反応装置
12日前
本田技研工業株式会社
分離システム
12日前
ノリタケ株式会社
触媒材料およびその利用
2日前
本田技研工業株式会社
二酸化炭素回収装置
2日前
ノリタケ株式会社
触媒材料およびその利用
2日前
本田技研工業株式会社
二酸化炭素回収装置
2日前
ノリタケ株式会社
触媒材料およびその利用
2日前
本田技研工業株式会社
二酸化炭素回収装置
10日前
本田技研工業株式会社
二酸化炭素回収装置
10日前
本田技研工業株式会社
二酸化炭素回収装置
2日前
株式会社インパクト
消臭剤又は消臭紙の製造方法
15日前
本田技研工業株式会社
二酸化炭素回収装置
2日前
本田技研工業株式会社
二酸化炭素回収装置
10日前
靜甲株式会社
高圧損発生ユニット並びに充填装置
1か月前
本田技研工業株式会社
二酸化炭素回収装置
8日前
本田技研工業株式会社
二酸化炭素回収装置
4日前
東京応化工業株式会社
ろ過処理方法、及び多孔質膜
2日前
株式会社プロテリアル
触媒複合物および触媒前駆体複合物
3日前
日東電工株式会社
吸着材
8日前
Planet Savers株式会社
気体濃縮装置
4日前
セイコーエプソン株式会社
気体分離膜
12日前
日本碍子株式会社
ハニカム構造体
12日前
続きを見る
他の特許を見る