TOP
|
特許
|
意匠
|
商標
特許ウォッチ
Twitter
他の特許を見る
10個以上の画像は省略されています。
公開番号
2025139707
公報種別
公開特許公報(A)
公開日
2025-09-29
出願番号
2024038687
出願日
2024-03-13
発明の名称
微細バブル発生装置
出願人
株式会社MRT
代理人
個人
主分類
B01F
25/10 20220101AFI20250919BHJP(物理的または化学的方法または装置一般)
要約
【課題】安価で簡易な構成で、微細バブルの発生量が多い微細バブル発生装置を提供する。
【解決手段】上記課題解決のため、微細バブル発生装置1は、その一端の入口200から流入された液体を通過させてその他端の出口201から排出する管状の流路F(流路槽2)を備え、流路Fの上流側に配置された旋回流発生部4と、流路Fにおいて、旋回流発生部4よりも下流側に配置された第1オリフィス5と、上端61が流路Fの外部に配置され、下端62が流路槽2内における第1オリフィス5と入口200との間の位置に配置され、流路Fの外部から流路槽2内に気体を供給するための気体供給管6と、流路Fにおける、気体供給管6の下端62の配置位置と出口201との間に配置された、スタティックミキサ7とを備える。
【選択図】図2
特許請求の範囲
【請求項1】
その一端の入口から流入された液体を通過させてその他端の出口から排出する管状の流路を備えた、微細バブル発生装置であって、
前記流路の上流側に配置された旋回流発生部と、
前記流路において、前記旋回流発生よりも下流側に配置された第1オリフィスと、
一端が前記流路の外部に配置され、他端が前記流路における前記第1オリフィスと前記出口との間の位置に配置され、前記流路の外部から前記流路に気体を供給するための気体供給管と、
前記流路における、前記気体供給管の前記他端の配置位置と前記出口との間に配置された、スタティックミキサと、を備え、
前記旋回流発生部は、
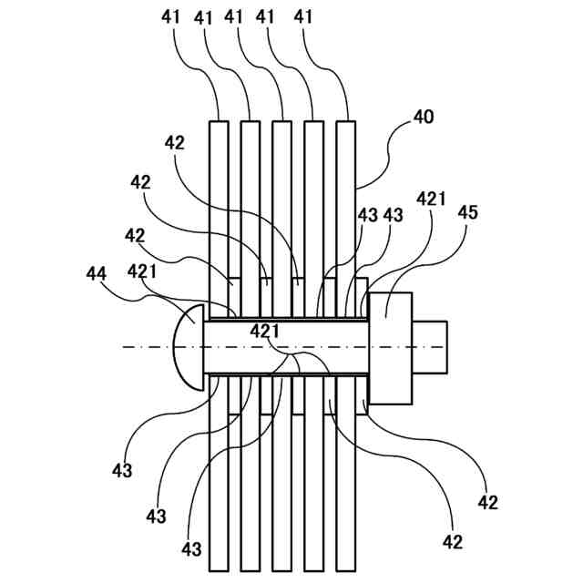
その中心点を中心とする同心円上に複数の流路用貫通孔が形成された板状部材が、各前記板状部材における対応する前記流路用貫通孔同士が連通するように、前記流路における前記液体の通過方向に複数積層された積層体を備え、
前記各板状部材は、前記流路の上流側に隣接する前記板状部材よりも、前記各板状部材の中心点を結ぶ軸を基準として、所定方向に回転するように配置されている、
ことを特徴とする微細バブル発生装置。
続きを表示(約 900 文字)
【請求項2】
前記積層体は、隣接する前記板状部材の間には、前記複数の流路用貫通孔を塞がないように、板状の間挿部材が配置され、スタティックミキサとして機能する、
ことを特徴とする請求項1に記載の微細バブル発生装置。
【請求項3】
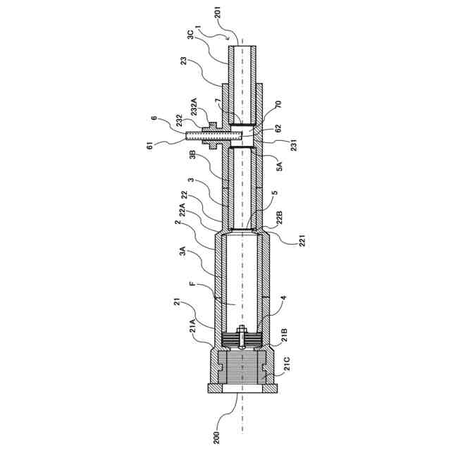
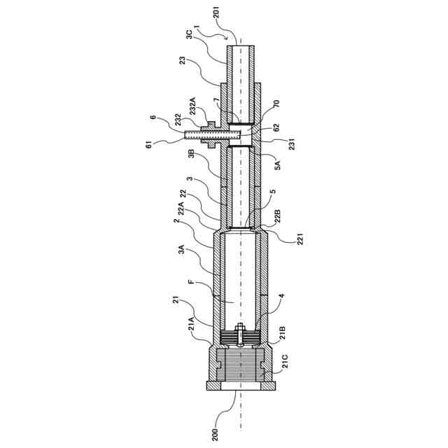
前記流路を構成し、前記液体の上流側から下流側に並べて配置された、第1の筒体、第2の筒体、及び第3の筒体を備え、
前記第1の筒体は、その内面において内側に突出する第1突出部位を備え、この第1突出部位の下流側端部に当接するように前記旋回流発生部が配置され、
前記第2の筒体は、その上流側端部が前記第1の筒体の下流側端部に取り付けられ、前記液体の通過方向の中途位置の内面において、内側に突出する第2突出部位を備え、この第2突出部位の下流側端部に前記第1オリフィスが配置され、
前記第3の筒体は、その上流側端部が前記第2の筒体の下流側端部に取り付けられ、前記液体の通過方向の中途位置において、この中途位置より上流側及び下流側に比べて内径が小さい小内径部位が形成され、この小内径部位の上流側縁部に第2オリフィスが配置され、前記小内径部位の下流側縁部に前記スタティックミキサが配置され、前記小内径部位内に、前記気体供給管が挿入され、
前記第1の筒体及び前記第2の筒体内に挿入され、前記旋回流発生部の下流側端から前記第2の突出部位まで延びる第1内部筒体と、
前記第2の筒体及び前記第3の筒体内に挿入され、前記第1オリフィスの下流側端部から前記第2オリフィスの上流側端部まで延びる第2内部筒体と、
前記第3の筒体内に挿入され、前記スタティックミキサの下流側端から前記液体の通過方向に伸びる第3内部筒体と、を更に備えた、
ことを特徴とする請求項1に記載の微細バブル発生装置。
【請求項4】
前記出口から排出された液体を前記入口に循環させる循環式用であって、農作物又は水産物に供給する用の微細バブル含有液体を発生する、
ことを特徴とする請求項1から3の何れかに記載の微細バブル発生装置。
発明の詳細な説明
【技術分野】
【0001】
本発明は、液体中でマイクロバブルやナノバブル等の微細バブルを発生させる微細バブル発生装置に関するものである。
続きを表示(約 2,600 文字)
【背景技術】
【0002】
近年、マイクロバブルやナノバブル等の微細バブルが産業分野において利用されている。なお、マイクロバブルとはバブル(気泡)の直径が1μm~数十μmの範囲のものをいい、ナノバブルとは気泡の直径が1nm~1000nm(1μm)の範囲のものをいう。産業分野における利用には、例えば、水産業や農業等の利用がある。
【0003】
上述したような微細バブルを発生する装置(微細バブル発生装置)には、様々な方式のものがあり、例えば、旋回流方式、加圧溶解方式、オリフィス・ベンチュリ管方式、超音波利用方式、微細孔フィルタ利用方式等がある。このうち旋回流方式は、高速液旋回流によって気泡の粉砕を行うことで微細バブルを発生させる方式であり、特許文献1には旋回流方式のマイクロバブル発生装置(微細バブル発生装置)が開示されている。そして、微細孔フィルタ利用方式は、微細孔フィルタに気体を通過させることで微細バブルを発生させる方式であり、特許文献2には微細孔フィルタ利用方式の微細バブル発生装置が開示されている。
【先行技術文献】
【特許文献】
【0004】
特許第4652478号公報
特許第6809671号公報
【発明の概要】
【発明が解決しようとする課題】
【0005】
上述したような単一の方式によって、微細バブル発生量を多くするためには、装置の構成が複雑で、高額になっていた。例えば、上述した特許文献1のマイクロバブル発生装置は、気液発生槽と外殻槽のニ重構造を備え、気液発生槽の外側から複数の液体供給口を用いて気液発生槽の内部に液体が供給されることで、強力な旋回流を生じさせ、効率的にマイクロバブルを発生させるようになっている。この様に、発生槽と外殻槽のニ重構造を備えるため、構成が複雑であり、安価に製造することが難しい。
【0006】
また、特許文献2の微細バブル発生装置では、気体を供給される気体収納管と、この気体収納管を覆うように形成され、液体を供給される外殻槽とが設けられ、気体収納管の中途位置には多孔質部材が形成されている。この多孔質部材の位置と外殻槽との間には、隙間が形成されている。この隙間に外殻槽内に送られた液体を高速で流してこの隙間を減圧状態とすることで、多孔質部材を通して気体収納管内の気体をこの隙間に放出させるとともに、隙間を高速で流れる液体によって気泡を多孔質部材の表面から引き離し、直後に液体の流れの圧力を急速に解放することによってマイクロオーダ或いはナノオーダの微細な気泡を生成するようになっている。この様に、中途位置に多孔質部材を形成した気体収納管と、外殻槽とを設けなくてはならず、また、外殻槽内に高速の旋回流を流すために、螺旋状のカレント制御板を設ける必要があり、特許文献2の微細バブル発生装置も構成が複雑であり、安価に製造することが難しい。
【0007】
そこで、本発明の課題は、安価で簡易な構成で、微細バブルの発生量が多い微細バブル発生装置を提供することである。
【課題を解決するための手段】
【0008】
(1)上記課題を解決するために、本発明に係る微細バブル発生装置は、その一端の入口から流入された液体を通過させてその他端の出口から排出する管状の流路を備えた微細バブル発生装置であって、前記流路の上流側に配置された旋回流発生部と、前記流路内において、前記旋回流発生部4よりも下流側に配置されたオリフィスと、一端が前記流路の外部に配置され、他端が前記流路における前記オリフィスと前記出口との間の位置に配置され、前記流路の外部から前記流路に気体を供給するための気体供給管と、前記流路における、前記気体供給管の前記他端の配置位置と前記出口との間に配置された、スタティックミキサと、を備え、前記旋回流発生部は、その中心点を中心とする同心円上に複数の流路用貫通孔が形成された板状部材が、各前記板状部材における対応する前記流路用貫通孔同士が連通するように、前記流路における前記液体の通過方向に複数積層された積層体を備え、各前記板状部材は、前記流路の上流側に隣接する前記板状部材よりも、各前記板状部材の中心点を結ぶ軸を基準として、所定方向に回転するように配置されている、ことを特徴とする。
【0009】
(2)上記前記積層体は、隣接する前記板状部材の間には、前記複数の流路用貫通孔を塞がないように、板状の間挿部材が配置され、スタティックミキサとして機能してもよい。
【0010】
(3)上記微細バブル発生装置は、前記流路を構成し、前記記液体の上流側から下流側に並べて配置された、第1の筒体、第2の筒体、及び第3の筒体を備えていてもよい。前記第1の筒体は、その内面において内側に突出する第1突出部位を備え、この第1突出部位の下流側端部に当接するように前記旋回流発生部が配置される。前記第2の筒体は、その上流側端部が前記第1の筒体の下流側端部に取り付けられ、前記液体の通過方向の中途位置の内面において、内側に突出する第2突出部位を備え、この第2突出部位の下流側端部に前記第1オリフィスが配置される。前記第3の筒体は、その上流側端部が前記第2の筒体の下流側端部に取り付けられ、前記液体の通過方向の中途位置において、前記中途位置より上流側及び下流側に比べて内径が小さい小内径部位が形成され、この小内径部位の上流側縁部に第2オリフィスが配置され、前記小内径部位の下流側縁部に前記スタティックミキサが配置され、前記小内径部位内に、前記気体供給管が挿入される。更に、上記微細バブル発生装置は、前記第1の筒体及び前記第2の筒体内に挿入され、前記旋回流発生部の下流側端から前記第2の突出部位まで延びる第1内部筒体と、前記第2の筒体及び前記第3の筒体内に挿入され、前記第1オリフィスの下流側端部から前記第2オリフィスの上流側端部まで延びる第2内部筒体と、前記第3の筒体内に挿入され、前記スタティックミキサの下流側端から前記液体の通過方向に伸びる第3内部筒体と、を更に備えてもよい。
(【0011】以降は省略されています)
この特許をJ-PlatPat(特許庁公式サイト)で参照する
関連特許
株式会社MRT
微細バブル発生装置
19日前
株式会社西部技研
除湿装置
2日前
ユニチカ株式会社
複合中空糸膜
16日前
東レ株式会社
中空糸膜モジュール
15日前
株式会社ニクニ
液体処理装置
29日前
株式会社MRT
微細バブル発生装置
19日前
株式会社笹山工業所
濁水処理システム
19日前
東京理化器械株式会社
クリップ
23日前
個人
攪拌装置
19日前
ヤマシンフィルタ株式会社
フィルタ装置
17日前
大和ハウス工業株式会社
反応装置
9日前
本田技研工業株式会社
ガス回収装置
11日前
大陽日酸株式会社
CO2の回収方法
11日前
杉山重工株式会社
回転円筒型反応装置
19日前
本田技研工業株式会社
二酸化炭素回収装置
17日前
本田技研工業株式会社
二酸化炭素回収装置
4日前
本田技研工業株式会社
二酸化炭素回収装置
11日前
本田技研工業株式会社
二酸化炭素回収装置
15日前
本田技研工業株式会社
二酸化炭素回収装置
9日前
本田技研工業株式会社
二酸化炭素回収装置
17日前
本田技研工業株式会社
二酸化炭素回収装置
17日前
ノリタケ株式会社
触媒材料およびその利用
9日前
株式会社インパクト
消臭剤又は消臭紙の製造方法
22日前
ノリタケ株式会社
触媒材料およびその利用
9日前
本田技研工業株式会社
二酸化炭素回収装置
9日前
本田技研工業株式会社
二酸化炭素回収装置
9日前
ノリタケ株式会社
触媒材料およびその利用
9日前
本田技研工業株式会社
分離システム
19日前
本田技研工業株式会社
二酸化炭素回収装置
9日前
株式会社プロテリアル
触媒複合物および触媒前駆体複合物
10日前
Planet Savers株式会社
気体濃縮装置
11日前
東京応化工業株式会社
ろ過処理方法、及び多孔質膜
9日前
日東電工株式会社
吸着材
15日前
セイコーエプソン株式会社
気体分離膜
19日前
日本碍子株式会社
電気加熱式担体
8日前
日本碍子株式会社
電気加熱式担体
9日前
続きを見る
他の特許を見る