TOP
|
特許
|
意匠
|
商標
特許ウォッチ
Twitter
他の特許を見る
公開番号
2025139999
公報種別
公開特許公報(A)
公開日
2025-09-29
出願番号
2024039127
出願日
2024-03-13
発明の名称
分離システム
出願人
本田技研工業株式会社
代理人
個人
,
個人
,
個人
主分類
B01D
59/38 20060101AFI20250919BHJP(物理的または化学的方法または装置一般)
要約
【課題】カソード流路に供給するキャリアガスを再利用可能にする。
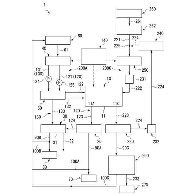
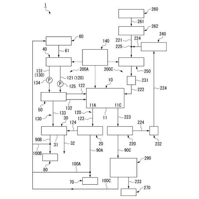
【解決手段】分離システムは、電解質膜、触媒、アノード流路およびカソード流路を有する電解セルと、アノード供給流路に接続されて水素同位体を含む原料流体を供給する原料流体供給手段と、カソード供給流路に接続されて第六〇流体を供給するカソードガス供給手段と、カソード排出流路に接続されたカソード側凝縮分離器と、カソード側凝縮分離器により分離されて不活性ガスを含んだ第六一流体をカソード供給流路に戻すカソードオフガス循環流路と、カソードオフガス循環流路に設けられたコンプレッサと、カソード供給流路におけるカソードオフガス循環流路との接続部分と電解セルとの間のカソード供給流路に設けられた第1圧力検出手段と、第1圧力検出手段の検出値が第1所定値よりも高い場合には、コンプレッサの回転数を所定回転数よりも高くする制御部と、を備える。
【選択図】図1
特許請求の範囲
【請求項1】
電解質膜および触媒を備え前記電解質膜を挟んだアノード側のアノード流路および前記電解質膜を挟んだカソード側のカソード流路を有する電解セルと、
前記アノード流路に連通するアノード排出流路およびアノード供給流路と、
前記カソード流路に連通するカソード排出流路およびカソード供給流路と、
前記アノード供給流路に接続されて水素同位体を含む原料流体を供給する原料流体供給手段と、
前記カソード供給流路に接続されて不活性ガスを含んだ流体を供給するカソードガス供給手段と、
前記カソード排出流路に接続されたカソード側凝縮分離器と、
前記カソード側凝縮分離器により分離されて前記不活性ガスを含んだ流体を前記カソード供給流路に戻すカソードオフガス循環流路と、
前記カソードオフガス循環流路に設けられたコンプレッサと、
前記カソード供給流路における前記カソードオフガス循環流路との接続部分と前記電解セルとの間に設けられた第1圧力検出手段と、
前記第1圧力検出手段の検出値が第1所定値よりも高い場合には、前記コンプレッサの回転数を所定回転数よりも高くする制御部と、
を備える、
分離システム。
続きを表示(約 610 文字)
【請求項2】
前記所定回転数はゼロであり、
前記制御部は、
前記第1圧力検出手段の検出値が前記第1所定値よりも高い場合には、前記コンプレッサを動作させる、
請求項1記載の分離システム。
【請求項3】
前記制御部は、
前記第1圧力検出手段の検出値が前記第1所定値よりも高い場合に、前記カソードガス供給手段からの前記不活性ガスを含んだ流体の供給を停止する、
請求項2記載の分離システム。
【請求項4】
前記カソードガス供給手段による前記不活性ガスを含んだ流体の供給を停止した状態で、
前記制御部は、
前記第1圧力検出手段の検出値が前記第1所定値より小さな第2所定値より低い場合に、前記カソードガス供給手段からの前記不活性ガスを含んだ流体の供給を開始する、
請求項3記載の分離システム。
【請求項5】
前記カソードオフガス循環流路には、前記コンプレッサと前記カソード側凝縮分離器との間に第2圧力検出手段が設けられ、
前記制御部は、
前記第1圧力検出手段の検出値と前記第2圧力検出手段の検出値との差が第3所定値より大きい場合に、前記コンプレッサの回転数を前記第1圧力検出手段の検出値が前記第1所定値よりも高い場合における前記コンプレッサの回転数よりも高くする、
請求項1記載の分離システム。
発明の詳細な説明
【技術分野】
【0001】
本発明は、分離システムに関する。
続きを表示(約 2,200 文字)
【背景技術】
【0002】
水素同位体に関する技術としては、二重水素(重水素)が有機ELや半導体の材料として使われている。重水素は、水にわずかに含まれており、そこから濃縮が行われる。また、三重水素(トリチウム)は、重水炉や核融合炉から排出されるため、除去に関する研究開発が行われている。例えば、水素同位体を多く含む水をイオン交換膜と触媒とを有する電解セルを用いて分離するものが知られている(例えば特許文献1参照)。
【先行技術文献】
【特許文献】
【0003】
特開平11-011903号公報
【発明の概要】
【発明が解決しようとする課題】
【0004】
ところで、水素同位体を分離するシステムでは、キャリアガスとして不活性ガスを活用するが、電解セルによって分離された後の排出ガスには不活性ガスの他に三重水素などの放射性物質が含有されており、有害物質の排出量低減として、放射性物質の放出防止とコスト削減のために排出ガス、特に不活性ガスを再利用することが求められる。しかしながら、上記従来技術では、そのような取り組みは記載さえておらず、従来技術には改善の余地がある。
【0005】
本発明は、上記の事情に鑑みてなされたもので、キャリアガスとしての不活性ガスを再利用可能とすることができる分離システムを提供するという目的を達成しようとするものである。そして、延いては気候変動の緩和または影響軽減に寄与するものである。
【課題を解決するための手段】
【0006】
[1]本発明の一態様にかかる分離システム(1)は、
電解質膜および触媒を備え前記電解質膜を挟んだアノード側のアノード流路(11A)および前記電解質膜を挟んだカソード側のカソード流路(11C)を有する電解セル(11)と、
前記アノード流路(11A)に連通するアノード排出流路(123)およびアノード供給流路(122)と、
前記カソード流路(11C)に連通するカソード排出流路(223)およびカソード供給流路(222)と、
前記アノード供給流路(122)に接続されて水素同位体を含む原料流体を供給する原料流体供給手段(60)と、
前記カソード供給流路(222)に接続されて不活性ガスを含んだ流体を供給するカソードガス供給手段(260)と、
前記カソード排出流路に接続されたカソード側凝縮分離器(220)と、
前記カソード側凝縮分離器(220)により分離されて前記不活性ガスを含んだ流体を前記カソード供給流路(221)に戻すカソードオフガス循環流路(224)と、
前記カソードオフガス循環流路(224)に設けられたコンプレッサ(240)と、
前記カソード供給流路(221)における前記カソードオフガス循環流路(240)との接続部分(225)と前記電解セル(11)との間に設けられた第1圧力検出手段(231)と、
前記第1圧力検出手段(231)の検出値が第1所定値よりも高い場合には、前記コンプレッサ(240)の回転数を所定回転数よりも高くする制御部(140)と、
を備える、
ことにより上記課題を解決した。
【0007】
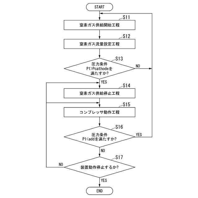
上記の構成によれば、アノード側に水素同位体を含む原料を供給して分離濃縮する分離システムにおいて、第1圧力検出手段の検出値が所定値よりも高い場合には、第六〇流体である窒素等の不活性ガスを含んだ流体をキャリアガスとしてカソード側に供給する際に、キャリアガスが電解セルにまで到達している、つまり水素同位体分離を行っていると判断することができる。このため、コンプレッサによりカソードオフガス循環流路において循環される不活性ガスを含んだ流体の量を確保してコスト削減と水素同位体などの放射性物質が放出されてしまうことを防止することができる。
【0008】
[2]本発明の分離システム(1)は、上記[1]において、
前記所定回転数はゼロであり、
前記制御部(140)は、
前記第1圧力検出手段(231)の検出値が前記第1所定値よりも高い場合には、前記コンプレッサ(240)を動作させる、
ことができる。
【0009】
上記の構成によれば、第1圧力検出手段の検出値が所定値よりも高い場合には、第六〇流体である窒素等の不活性ガスをキャリアガスとしてカソード側に供給する際に、キャリアガスが電解セルにまで到達している、つまり水素同位体分離を行っていると判断することができる。このため、コンプレッサの動作によりカソードオフガス循環流路において循環される不活性ガスを含んだ流体の量を確保してコスト削減と水素同位体などの放射性物質が放出されてしまうことを防止することができる。
【0010】
[3]本発明の分離システムは、上記[2]において、
前記制御部(140)は、
前記第1圧力検出手段(231)の検出値が前記第1所定値よりも高い場合に、前記カソードガス供給手段(260)からの前記不活性ガスを含んだ流体の供給を停止する、
ことができる。
(【0011】以降は省略されています)
この特許をJ-PlatPat(特許庁公式サイト)で参照する
関連特許
株式会社西部技研
除湿装置
7日前
株式会社日本触媒
ドロー溶質
1日前
ユニチカ株式会社
複合中空糸膜
21日前
東レ株式会社
中空糸膜モジュール
20日前
株式会社MRT
微細バブル発生装置
24日前
株式会社笹山工業所
濁水処理システム
24日前
個人
攪拌装置
24日前
松岡紙業 株式会社
油吸着体の製造方法
1日前
ヤマシンフィルタ株式会社
フィルタ装置
22日前
大和ハウス工業株式会社
反応装置
14日前
大陽日酸株式会社
CO2の回収方法
16日前
本田技研工業株式会社
ガス回収装置
16日前
杉山重工株式会社
回転円筒型反応装置
24日前
本田技研工業株式会社
二酸化炭素回収装置
14日前
本田技研工業株式会社
二酸化炭素回収装置
9日前
本田技研工業株式会社
二酸化炭素回収装置
14日前
本田技研工業株式会社
二酸化炭素回収装置
20日前
本田技研工業株式会社
二酸化炭素回収装置
14日前
本田技研工業株式会社
二酸化炭素回収装置
14日前
本田技研工業株式会社
二酸化炭素回収装置
16日前
本田技研工業株式会社
二酸化炭素回収装置
22日前
本田技研工業株式会社
二酸化炭素回収装置
22日前
本田技研工業株式会社
二酸化炭素回収装置
22日前
本田技研工業株式会社
分離システム
24日前
ノリタケ株式会社
触媒材料およびその利用
14日前
株式会社インパクト
消臭剤又は消臭紙の製造方法
27日前
ノリタケ株式会社
触媒材料およびその利用
14日前
ノリタケ株式会社
触媒材料およびその利用
14日前
セイコーエプソン株式会社
気体分離膜
24日前
Planet Savers株式会社
気体濃縮装置
16日前
東京応化工業株式会社
ろ過処理方法、及び多孔質膜
14日前
日東電工株式会社
吸着材
20日前
株式会社プロテリアル
触媒複合物および触媒前駆体複合物
15日前
TPR株式会社
多孔質ブリーザ
14日前
日本碍子株式会社
電気加熱式担体
13日前
新甲エンジニアリング株式会社
使用済フロン再生装置
17日前
続きを見る
他の特許を見る