TOP
|
特許
|
意匠
|
商標
特許ウォッチ
Twitter
他の特許を見る
10個以上の画像は省略されています。
公開番号
2025140291
公報種別
公開特許公報(A)
公開日
2025-09-29
出願番号
2024039597
出願日
2024-03-14
発明の名称
回転円筒型反応装置
出願人
杉山重工株式会社
代理人
個人
,
個人
主分類
B01J
8/10 20060101AFI20250919BHJP(物理的または化学的方法または装置一般)
要約
【課題】回転円筒体に充填した原料と導入した水素ガス等の雰囲気ガスが撹拌により良好に接触し、もって反応を速やかに進行させる回転円筒型反応装置を提供する。
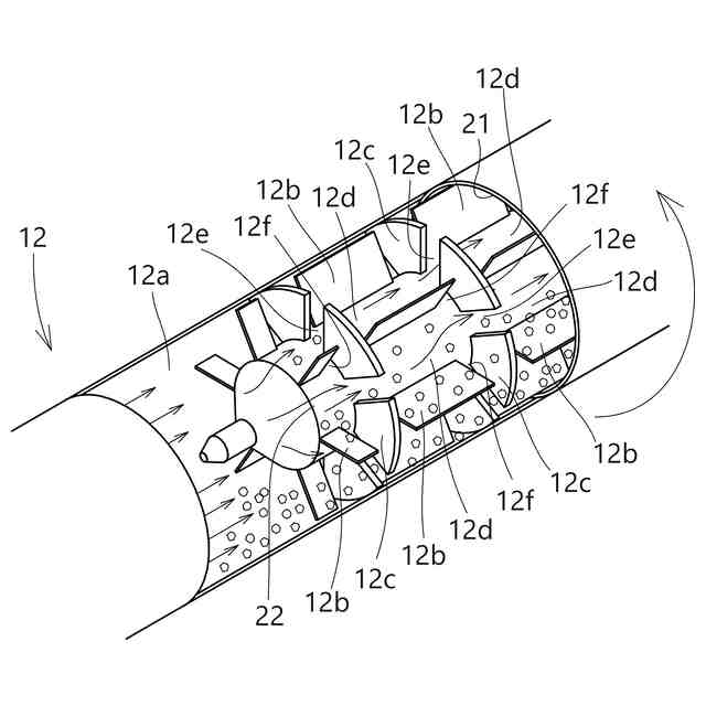
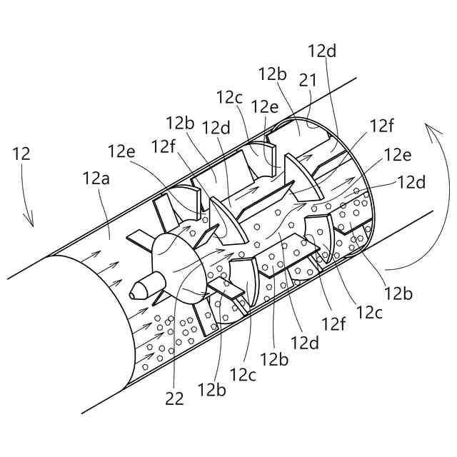
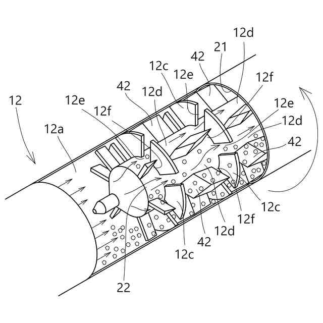
【解決手段】外筒21の内周面と内筒22の外周面で区画形成された反応空間12aに内筒の外周面から複数枚のリフタープレート12bと複数枚のバッフルプレート12cを立設し、反応空間を径方向に対を成すリフタープレートと軸心方向に対を成すバッフルプレートによって複数の反応室12dと、軸心方向に隣接する反応室を連通する通路12eと径方向に隣接する反応室を連通する通路12fを形成する。回転円筒体の回転に伴い反応室が回転し、反応空間に供給された原料が回転円筒体の底部から上部へとリフタープレートで掻き上げられ、掻き上げられた原料が通路12e、12fを通って隣接する反応室へ移動し、原料が回転円筒体の上部に滞留している水素ガスと効率よく撹拌される。
【選択図】図3
特許請求の範囲
【請求項1】
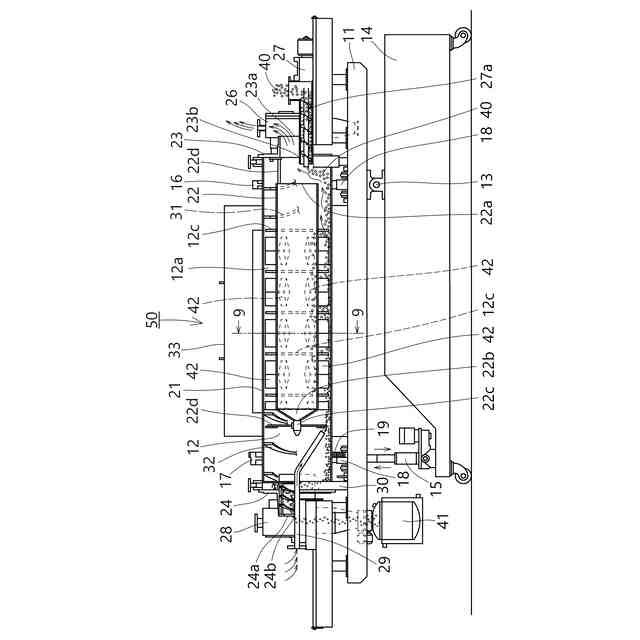
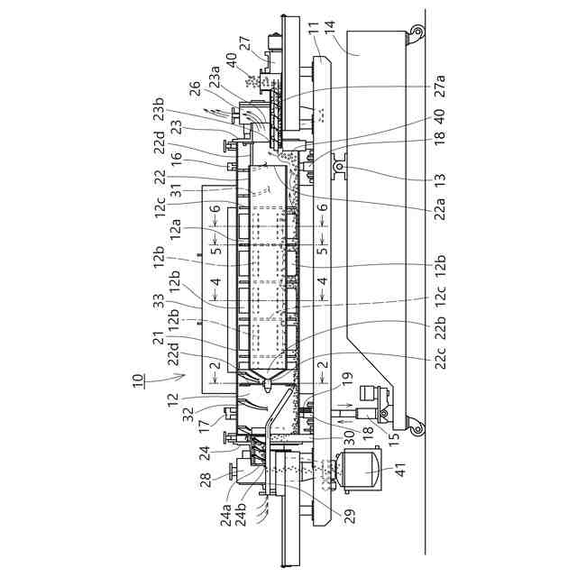
横置きに設置可能な回転円筒体を備え、回転円筒体の回転に伴い回転円筒体の内部で原料と雰囲気ガスを撹拌して両者を反応させる回転円筒型反応装置であって、
回転円筒体が同心の外筒と内筒から成る二重筒構造を有し、
外筒内周面と内筒外周面で断面形状が環状で回転円筒体の軸心方向に沿って延びる反応空間を回転円筒体の中間部に区画形成し、
内筒の外周面に複数枚のリフタープレートを立設して回転円筒体の軸心方向に沿って並べるとともに、複数枚のバッフルプレートを立設して回転円筒体の径方向に沿って並べ、
径方向に対を成すリフタープレートと軸心方向に対を成すバッフルプレートによって反応空間を複数の反応室に区画形成し、
軸心方向に隣接する反応室を連通する通路と径方向に隣接する反応室を連通する通路を形成し、
回転円筒体の回転に伴い反応室が回転し、反応空間に供給された原料が回転円筒体の底部から上部へとリフタープレートで掻き上げられ、掻き上げられた原料が通路を通って隣接する反応室へ移動するようにしたこと特徴とする回転円筒型反応装置。
続きを表示(約 180 文字)
【請求項2】
リフタープレートが傾斜した側面を有し、反応室の回転に伴ってリフタープレートで原料が掻き上げられるとき、原料が傾斜した側面に沿って近接する通路へと落ち込むようにしたことを特徴とする請求項1に記載の回転円筒型反応装置。
【請求項3】
リフタープレートの断面形状を菱形に形成したことを特徴とする請求項3に記載の回転円筒型反応装置。
発明の詳細な説明
【技術分野】
【0001】
本発明は回転円筒型反応装置に関し、より詳しくは横置きに設置される回転円筒体を備え、この回転円筒体に処理対象の原料を供給するとともに、還元ガス、酸素ガス、窒素ガス、熱風の雰囲気ガスを導入して両者を反応させる回転円筒型反応装置に関する。
続きを表示(約 2,000 文字)
【背景技術】
【0002】
航空機のジェットエンジン、タービンブレード、耐食性を必要とする化学装置、生体に拒絶反応を起こさない医療器具などの、近年用途が拡大してきたチタンはイルミナイトと呼ばれる鉱石を還元して得られるが、酸素との結合力が強く、鉱石の直接還元による精錬は不可能である。そこで、初めに原鉱(イルミナイト)をコークス等と混ぜて加熱し、一次還元を行い、次に塩素ガスを通して四塩化チタンとし、この四塩化チタンにマグネシウムを添加し、四塩化チタンから塩化マグネシウムと粗製チタンを得る。しかし、粗製チタンは精製度が低く金属チタンとして使用することはできない。そこで、この粗製チタンを再還元処理している。
【0003】
粗製チタンの再還元処理には特開2023-39794号に開示されているような回転円筒型反応装置が使用される。この装置はロータリーキルンの一種で横置きの回転円筒体を備えている。回転円筒体には雰囲気ガス導入口と処理対象の原料の供給口及び処理済みの原料の排出口が設けられている。この回転円筒体は供給口から排出口に向けて下降するように傾斜して設置されている。
【0004】
この装置によれば、回転円筒体に粗製チタンを供給するとともに水素ガスを充填し、両者を撹拌して還元処理を行い、処理した組成チタンを自重で回転円筒体の軸心方向に沿って供給口側から排出口側へと移動させ、排出口から回収している。
【先行技術文献】
【特許文献】
【0005】
特開2023-39794号
【発明の概要】
【発明が解決しようとする課題】
【0006】
この種の回転円筒型反応装置では回転円筒体に供給した原料が詰まることなく軸心方向に沿って供給口側から排出口側へ移動する充填量は回転円筒体の傾斜角度にもよるが、ほぼ円筒体の断面積の30%位が限度である。供給した原料は円筒体の底部に沿って移動し、回転円筒体の上部には原料の存在しない断面積70%の空間が形成される。
【0007】
回転円筒体に粗製チタンを供給し、水素ガスを充填すると回転円筒体の内部で粗製チタンと水素ガスが反応して水蒸気が発生するが、水素ガスの気体密度0.08kg/m
3
に対し水蒸気の気体密度1.5~2kg/m
3
で、水蒸気の気体密度は水素ガスの20倍以上と重い。そのため図11に模式的に示すように、回転円筒体aの上部に形成された空間の上層部に軽い水素ガスbの層が生じ、下層部に重い水蒸気cの層が形成される。その結果、上部の水素ガスbと底部の原料dの粗製チタンが水蒸気cの層で分離されるため原料dの組成チタンと水素ガスbの接触不良が発生し、還元反応の進行が妨げられる。
【0008】
本発明はかかる問題点に鑑み、回転円筒型反応装置において、回転円筒体に充填した原料と導入した水素ガス等の雰囲気ガスを撹拌するとき両者が良好に接触し、もって反応を速やかに進行させることができる回転円筒型反応装置を提供することを目的とする。
【課題を解決するための手段】
【0009】
請求項1に記載の発明は、横置きに設置可能な回転円筒体を備え、回転円筒体の回転に伴い回転円筒体の内部で原料と雰囲気ガスを撹拌して両者を反応させる回転円筒型反応装置であって、
回転円筒体が同心の外筒と内筒から成る二重筒構造を有し、
外筒内周面と内筒外周面で断面形状が環状で回転円筒体の軸心方向に沿って延びる反応空間を回転円筒体の中間部に区画形成し、
内筒の外周面に複数枚のリフタープレートを立設して回転円筒体の軸心方向に沿って並べるとともに、複数枚のバッフルプレートを立設して回転円筒体の径方向に沿って並べ、
径方向に対を成すリフタープレートと軸心方向に対を成すバッフルプレートによって反応空間を複数の反応室に区画形成し、
軸心方向に隣接する反応室を連通する通路と径方向に隣接する反応室を連通する通路を形成し、
回転円筒体の回転に伴い反応室が回転し、反応空間に供給された原料が回転円筒体の底部から上部へとリフタープレートで掻き上げられ、掻き上げられた原料が通路を通って隣接する反応室へ移動するようにしたことを特徴とする。
【0010】
請求項2に記載の発明は、請求項1に記載の回転円筒型反応装置において、リフタープレートが傾斜した側面を有し、反応室の回転に伴ってリフタープレートで原料が掻き上げられるとき、原料が傾斜した側面に沿って近接する通路へと落ち込むようにしたことを特徴とする。
(【0011】以降は省略されています)
この特許をJ-PlatPat(特許庁公式サイト)で参照する
関連特許
杉山重工株式会社
回転円筒型反応装置
26日前
株式会社西部技研
除湿装置
9日前
株式会社日本触媒
ドロー溶質
3日前
ユニチカ株式会社
複合中空糸膜
23日前
サンノプコ株式会社
消泡剤
1日前
東レ株式会社
中空糸膜モジュール
22日前
株式会社ニクニ
液体処理装置
1か月前
日本化薬株式会社
メタノール改質触媒
1か月前
株式会社MRT
微細バブル発生装置
26日前
株式会社笹山工業所
濁水処理システム
26日前
個人
攪拌装置
26日前
東京理化器械株式会社
クリップ
1か月前
大和ハウス工業株式会社
反応装置
16日前
ヤマシンフィルタ株式会社
フィルタ装置
24日前
松岡紙業 株式会社
油吸着体の製造方法
3日前
個人
気液混合装置
1日前
大陽日酸株式会社
CO2の回収方法
18日前
本田技研工業株式会社
ガス回収装置
18日前
株式会社フクハラ
圧縮空気圧回路ユニット
1日前
杉山重工株式会社
回転円筒型反応装置
26日前
本田技研工業株式会社
二酸化炭素回収装置
16日前
本田技研工業株式会社
二酸化炭素回収装置
22日前
本田技研工業株式会社
二酸化炭素回収装置
24日前
本田技研工業株式会社
二酸化炭素回収装置
11日前
ノリタケ株式会社
触媒材料およびその利用
16日前
ノリタケ株式会社
触媒材料およびその利用
16日前
本田技研工業株式会社
二酸化炭素回収装置
16日前
本田技研工業株式会社
二酸化炭素回収装置
16日前
本田技研工業株式会社
二酸化炭素回収装置
16日前
株式会社インパクト
消臭剤又は消臭紙の製造方法
29日前
ノリタケ株式会社
触媒材料およびその利用
16日前
本田技研工業株式会社
分離システム
26日前
本田技研工業株式会社
二酸化炭素回収装置
24日前
本田技研工業株式会社
二酸化炭素回収装置
24日前
本田技研工業株式会社
二酸化炭素回収装置
18日前
東京応化工業株式会社
ろ過処理方法、及び多孔質膜
16日前
続きを見る
他の特許を見る