TOP
|
特許
|
意匠
|
商標
特許ウォッチ
Twitter
他の特許を見る
公開番号
2025141159
公報種別
公開特許公報(A)
公開日
2025-09-29
出願番号
2024040960
出願日
2024-03-15
発明の名称
攪拌装置
出願人
個人
,
株式会社ヒューエンス
代理人
個人
主分類
B01F
33/40 20220101AFI20250919BHJP(物理的または化学的方法または装置一般)
要約
【課題】深い容器においても良好な攪拌を可能とする攪拌装置を提供する。
【解決手段】底壁に配置されたノズルから上方に所定距離離れた個所に下端が位置し、液面から所定深さの個所に上端が位置し、下端および上端が開口し、ほぼ垂直方向に延びた円筒形状のガイドパイプを備え、ガイドパイプの内径が、少なくとも、[1.5×(Q
g
/u
B
)×{1+(0.0608u
L
/Q
g
)×z
2
}]
1/2
(ここで、Q
g
は気体の流量、u
B
は気泡の上昇速度、u
L
は液体の上昇速度、zはノズルの先端からガイドパイプの下端までの垂直方向距離)によって与えられる径となるように選定されている。
【選択図】図1
特許請求の範囲
【請求項1】
内径Dの円筒形容器又は内接円径Dの多角形の平面形状をもつ多角形容器を備えた攪拌装置であって、前記円筒形容器又は前記多角形容器内には、液体が収容されており、前記円筒形容器又は前記多角形容器の底壁のほぼ中央に、前記液体内に気体を吹き込むためのノズルが配置されており、前記ノズルから前記液体内に吹き込まれる気体の流量Q
g
が、ρ
L
Q
g
2
/(σ
L
D
3
)=10
-5
(ここで、ρ
L
は液体の密度、σ
L
は液体の表面張力)を満足する流量以上であり、かつ、前記気体の気泡が前記液体の液面を吹き抜けない流量以下である攪拌装置において、
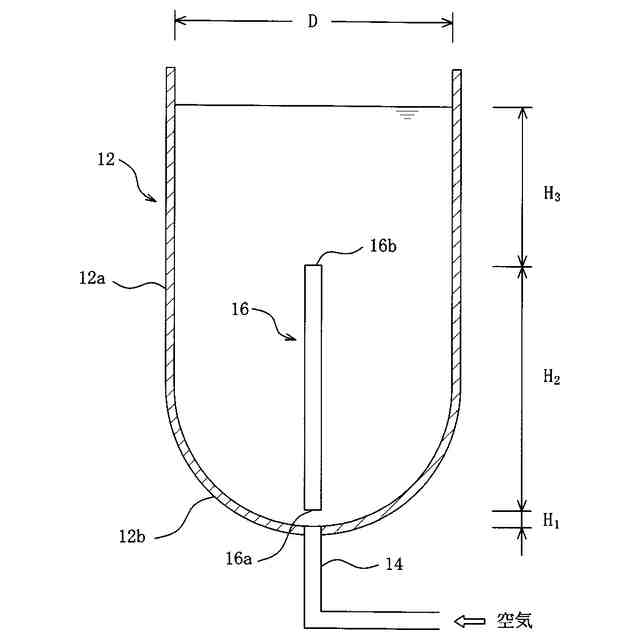
前記ノズルの先端から上方に所定距離離れた個所に下端が位置し、前記液面から深さH
3
の個所に上端が位置し、前記下端および前記上端が開口し、ほぼ垂直方向に延びた円筒形状のガイドパイプを備え、
前記ガイドパイプの内径が、少なくとも、
[1.5×(Q
g
/u
B
)×{1+(0.0608u
L
/Q
g
)×z
2
}]
1/2
(ここで、u
B
は前記ガイドパイプ内を気泡と液体の混合物が上昇するときの気泡の上昇速度、u
L
は前記ガイドパイプ内を気泡と液体の混合物が上昇するときの前記ガイドパイプの中心軸上における液体の上昇速度、zは前記ノズルの前記先端から前記ガイドパイプの前記下端までの垂直方向距離)によって与えられる径となるように選定されており、
前記H
3
と前記内径又は内接円径Dとの比H
3
/Dが、0.3~1の範囲にあることを特徴とする攪拌装置。
続きを表示(約 310 文字)
【請求項2】
前記ガイドパイプの前記下端に、拡径部が設けられており、前記拡径部の内径が、少なくとも、4b
α
(ここで、b
α
は前記気泡の半径方向の分散度合を表すガスホールドアップの半値半幅)によって与えられる径となるように選定されていることを特徴とする請求項1に記載された攪拌装置。
【請求項3】
前記円筒形容器又は前記多角形容器の底壁が、平底又は丸底であることを特徴とする請求項1又は請求項2に記載された攪拌装置。
【請求項4】
前記気体が空気又は反応性ガスであることを特徴とする請求項1から請求項3までのいずれか1項に記載された攪拌装置。
発明の詳細な説明
【技術分野】
【0001】
本発明は一般に、攪拌装置に関する。より詳細には、本発明は、容器底が深い場合であっても、プロペラ等の機械的な駆動源を必要とせずに、液体を効率的に攪拌することができる攪拌装置に関する。
続きを表示(約 2,500 文字)
【背景技術】
【0002】
本発明者は、機械的な駆動源を必要とせずに、液体を効率的に攪拌させることができる種々の攪拌装置を提案している(特許文献1~特許文献4参照)。また、本発明者は、特許文献1~特許文献4に開示された装置を改良発展させて、深い容器においても良好な攪拌を可能とする装置も提案している(特許文献5参照)。
【先行技術文献】
【特許文献】
【0003】
特許第3058876号公報
特許第4195782号公報
特許第4384477号公報
特許第4710070号公報
特開2013‐63375号公報
【発明の概要】
【発明が解決しようとする課題】
【0004】
深い容器を対象とした特許文献5の攪拌装置は、有益な利点を提供するものであったが、以下の2つの解決すべき課題があった。第1に、装置内に設置されるガイドパイプに「詰まり」が生ずることにより、課題が発生する。すなわち、ガイドパイプ内を通過することができる気液二相流のガス流量には上限値が存在するため、ガス流量が上限値よりも大きくなると、余分なガスがガイドパイプの入口から外へ溢れ出して旋回現象の発生が阻害され、効率的な攪拌が期待できなくなる。第2に、ガイドパイプに「吸い込み不良」が生ずることにより、課題が発生する。すなわち、装置の容器底部に設けられたノズルから噴出したガスによって生じた気泡噴流の半径方向への拡散がガイドパイプの入口よりも大きくなりすぎると、ガイドパイプ内に導入されるガス流量が少なくなって旋回現象の発生が阻害され、効率的な攪拌が期待できなくなる。
【0005】
本発明は、このような状況に鑑みて開発されたものであって、上記の2つの課題を解決することにより、深い容器においても良好な攪拌を可能とする攪拌装置を提供することを目的としている。
【課題を解決するための手段】
【0006】
図8を参照して、本発明の攪拌装置の作動原理について説明する。底部に単孔ノズルを備えた円筒形容器内に液体を充填し、ノズルから液体内にガスを吹き込むと上昇気泡噴流が形成されるが、本発明者は、特許文献1に示したように、一定条件下において、この上昇気泡噴流によって、液体の攪拌に好ましい旋回現象が発生することを見い出した。すなわち、円筒形容器の内径をD、ノズルの先端と液面との高さの差を
0
H
1
とすると、Dと
0
H
1
との関係が約0.3<
0
H
1
/D<約1である場合に、気泡噴流の半径方向変位が比較的小さく、周期が短い旋回現象が発生し、円筒形容器内の液体は、スロッシングに似た挙動を示す。ここで、スロッシングとは、容器が軸方向又は半径方向に加振されることによって液体の振動が誘起される現象をいう。上述の旋回現象は、気泡の生成、上昇に伴う気体から液体への周期的加振によって誘起されたものと推測される。
【0007】
なお、比
0
H
1
/D<約0.3である場合には、気泡噴流の半径方向変位が極めて小さいため、旋回は、液体を攪拌するには不十分なものとなる。また、比
0
H
1
/D>約1である場合には、旋回が安定せず、十分な攪拌効果が得られない。
【0008】
上述の旋回現象が気泡による液体への周期的な加振によって誘起されるものであるため、液体の攪拌に好ましい旋回現象が発生するためには、吹き込まれるガスの流量が臨界値以上であり、かつ、気泡が液面を吹き抜ける程度以下であることが必要である。なお、本明細書において使用される語「吹き抜け」とは、ノズルから液体中に吹き込まれた気体が気柱を作って液面から外部へ出る現象を意味している。
【0009】
本発明者は、ガスの流量の臨界値を以下のように算定した。スロッシングに関する研究によれば、容器の加振によって液面における波動が誘起され、この波動が粘性を介して液体の内部に伝わり、液体内部の運動が起こるといわれている。したがって、旋回は、液面の波動現象が抑えられることによって止まるものと推測される。本発明者の実験によれば、加振力の主要な部分は、気泡が上昇して液面から出る際にほぼ周期的に液体に及ぼす力であろうと結論できる。この力は、上昇する液体の慣性力に依存すると仮定する。また、波動を止めようとする力には、表面張力が関与しているであろう。本発明者は、液体の慣性力と表面張力の比として定義されるウェーバー数W
e
=ρ
L
Q
g
2
/(σ
L
D
3
)が10
-5
以上であれば、液体の攪拌に好ましい旋回現象が発生することを実験により確かめた。すなわち、上式のウェーバー数W
e
=10
-5
が臨界値となる。ここで、ρ
L
は液体の密度、Q
g
はガスの吹き込み流量、σ
L
は液体の表面張力、Dは円筒形容器の内径である。
【0010】
一方、ノズルより上方の液体が、図8(b)の矢印Aで示されるように、一方向に旋回すると、角運動量保存則により、ノズルより下方の液体は、図8(b)の矢印Bで示されるように、逆方向に旋回する。ノズルより下方における旋回流Bは、ノズルより上方における旋回流Aを安定化させており、旋回流Aへの固形物等の投入により旋回流Aの速度の低下や乱れが生じても、旋回流Bが存在していれば、容易に元の状態に復帰することができる。このため、ノズルより下方に一定の深さの領域を設けるのが好ましい。
(【0011】以降は省略されています)
この特許をJ-PlatPat(特許庁公式サイト)で参照する
関連特許
株式会社西部技研
除湿装置
20日前
株式会社日本触媒
ドロー溶質
14日前
サンノプコ株式会社
消泡剤
12日前
東レ株式会社
遠心ポッティング方法
6日前
トヨタ自動車株式会社
濾過装置
今日
松岡紙業 株式会社
油吸着体の製造方法
14日前
個人
気液混合装置
12日前
大和ハウス工業株式会社
反応装置
27日前
東芝ライテック株式会社
光照射装置
今日
富士電機株式会社
ガス処理システム
9日前
株式会社フクハラ
圧縮空気圧回路ユニット
12日前
株式会社明電舎
成膜装置
9日前
日本化薬株式会社
直鎖ブテン製造用触媒及びその使用
6日前
ノリタケ株式会社
触媒材料およびその利用
27日前
本田技研工業株式会社
二酸化炭素回収装置
27日前
ノリタケ株式会社
触媒材料およびその利用
27日前
ノリタケ株式会社
触媒材料およびその利用
27日前
本田技研工業株式会社
二酸化炭素回収装置
22日前
本田技研工業株式会社
二酸化炭素回収装置
27日前
本田技研工業株式会社
二酸化炭素回収装置
27日前
本田技研工業株式会社
二酸化炭素回収装置
27日前
三浦工業株式会社
撹拌装置
9日前
個人
フッ化炭素糸物にフッ素をコーティングした浄水手段
12日前
株式会社プロテリアル
触媒複合物および触媒前駆体複合物
28日前
東京応化工業株式会社
ろ過処理方法、及び多孔質膜
27日前
いであ株式会社
PFAS除去用バイオ炭の製造方法
1日前
日本碍子株式会社
電気加熱式担体
26日前
TPR株式会社
多孔質ブリーザ
27日前
JFEエンジニアリング株式会社
二酸化炭素回収方法
12日前
日本碍子株式会社
電気加熱式担体
27日前
パナソニックIPマネジメント株式会社
除湿装置
19日前
みづほ工業株式会社
撹拌装置、及び撹拌羽根取付け方法
15日前
パナソニックIPマネジメント株式会社
除湿装置
19日前
パナソニックIPマネジメント株式会社
除湿装置
27日前
パナソニックIPマネジメント株式会社
除湿装置
19日前
株式会社大気社
気体処理装置
26日前
続きを見る
他の特許を見る