TOP
|
特許
|
意匠
|
商標
特許ウォッチ
Twitter
他の特許を見る
公開番号
2025159557
公報種別
公開特許公報(A)
公開日
2025-10-21
出願番号
2024062217
出願日
2024-04-08
発明の名称
撹拌装置、及び撹拌羽根取付け方法
出願人
みづほ工業株式会社
代理人
個人
主分類
B01F
35/60 20220101AFI20251014BHJP(物理的または化学的方法または装置一般)
要約
【課題】撹拌羽根の交換作業の作業性を改善し品種切替えの迅速化を進めることを課題とする。
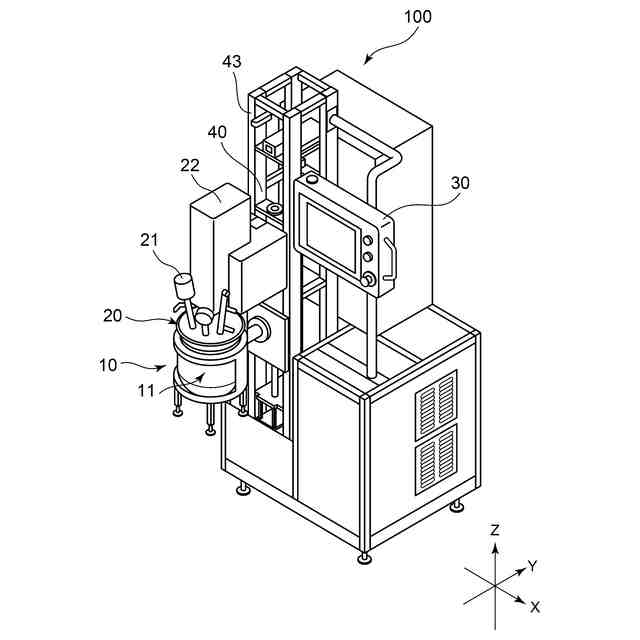
【解決手段】液体と液体、液体と固体を含む液体、又は固体を含む液体と固体を含む液体を原料として撹拌する撹拌装置100であって、当該原料を格納する撹拌槽10と、略鉛直方向に設けられ前記撹拌槽の中で回転駆動する回転駆動部22と、前記回転駆動部に取付けられた撹拌羽根と、前記撹拌羽根が前記回転駆動部から落下することを防止する落下防止部と、を備え、前記落下防止部は、前記回転駆動部に対し略水平方向から取付け可能であることを特徴とする撹拌装置とした。
【選択図】図1
特許請求の範囲
【請求項1】
液体と液体、液体と固体を含む液体、又は固体を含む液体と固体を含む液体を原料として撹拌する撹拌装置であって、
当該原料を格納する撹拌槽と、
略鉛直方向に設けられ前記撹拌槽の中で回転駆動する回転駆動部と、
前記回転駆動部に取付けられた撹拌羽根と、
前記撹拌羽根が前記回転駆動部から落下することを防止する落下防止部と、を備え、
前記落下防止部は、前記回転駆動部に対し略水平方向から取付け可能であることを特徴とする撹拌装置。
続きを表示(約 520 文字)
【請求項2】
前記回転駆動部は、前記撹拌槽内に露出した部分における前記撹拌羽根の取付け位置より先端側の少なくとも一部に略水平方向の落下防止部挿入溝を有し、前記落下防止部は略水平方向から前記落下防止部挿入溝に挿入可能であることを特徴とする請求項1に記載の撹拌装置。
【請求項3】
前記落下防止部は、全体として略U字形状を有した板状であり、一部にボルト挿入用のボルト用孔又はボルト用ねじ孔を前記板状の面と略平行に有し、当該ボルト用孔を介して前記回転駆動部にボルト締め可能であることを特徴とする請求項1又は2に記載の撹拌装置。
【請求項4】
液体と液体、液体と固体を含む液体、又は固体を含む液体と固体を含む液体を原料として撹拌する撹拌装置における撹拌羽根取付け方法であって、
回転駆動部の先端を露出させた状態で、当該回転駆動部の先端から撹拌羽根を挿入する撹拌羽根挿入工程と、
前記回転駆動部における前記撹拌羽根が挿入された位置よりも先端側に落下防止部を略水平方向から挿入し、当該落下防止部を略水平方向から取付ける落下防止部取付け工程と、を備えたことを特徴とする撹拌羽根取付け方法。
発明の詳細な説明
【技術分野】
【0001】
本発明は、液体と液体、液体と固体を含む液体、又は固体を含む液体と固体を含む液体とを撹拌する撹拌装置、及び撹拌羽根取付け方法に関するものである。
続きを表示(約 1,200 文字)
【背景技術】
【0002】
化粧品、食品、化学品、又は医薬品における液体と液体、液体と固体を含む液体、又は固体を含む液体と固体を含む液体とを材料として微細化し撹拌するために撹拌装置が用いられている。撹拌装置は、撹拌槽内で回転軸を回転又は回動させて材料を撹拌する撹拌羽根と、当該回転軸を回転させるための駆動部等からなっている。
【0003】
撹拌して微細化する品種は化粧品ひとつをとっても多岐にわたり、それら多くの品種毎に撹拌する材料は異なっている。そして品種の切替えに際しては、撹拌槽及び撹拌羽根の洗浄や撹拌羽根の交換が欠かせない。そのため、品種切替えの効率化を進める上で撹拌羽根の取外し及び取付けをスムーズに行えることが望まれている。
【0004】
特許文献1には、撹拌槽(容器)底部の羽根部を上方からボルトにより交換可能とした構成が記載されている。
【先行技術文献】
【特許文献】
【0005】
特許文献1:特開2016-019945号公報
【発明の概要】
【発明が解決しようとする課題】
【0006】
しかしながら、特許文献1に記載のものは、狭い撹拌槽の上部から手を入れて撹拌槽底部のボルトを締めたり緩めたりしなければならず作業性が悪いという問題がある。また、仮に、羽根が撹拌槽上部に取付けられている場合は、下方から腰をかがめてボルトの取付けを行わねばならず、さらに作業性が悪く時間がかかるという問題がある。
【0007】
本発明は、上記問題点を解決して、撹拌羽根の交換作業の作業性を改善し品種切替えの迅速化を進めることを課題とする。
【課題を解決するための手段】
【0008】
上記課題を解決するために本発明は、液体と液体、液体と固体を含む液体、又は固体を含む液体と固体を含む液体を原料として撹拌する撹拌装置であって、
当該原料を格納する撹拌槽と、
略鉛直方向に設けられ前記撹拌槽の中で回転駆動する回転駆動部と、
前記回転駆動部に取付けられた撹拌羽根と、
前記撹拌羽根が前記回転駆動部から落下することを防止する落下防止部と、を備え、
前記落下防止部は、前記回転駆動部に対し略水平方向から取付け可能であることを特徴とする撹拌装置を提供するものである。
【0009】
この構成により、撹拌羽根の交換作業の作業性を改善し品種切替えの迅速化を進めることができる。
【0010】
撹拌装置であって、前記回転駆動部は、前記撹拌槽内に露出した部分における前記撹拌羽根の取付け位置よりも先端側の少なくとも一部に略水平方向の落下防止部挿入溝を有し、前記落下防止部は略水平方向から前記落下防止部挿入溝に挿入可能である構成としてもよい。
(【0011】以降は省略されています)
この特許をJ-PlatPat(特許庁公式サイト)で参照する
関連特許
プライミクス株式会社
攪拌装置
18日前
株式会社切川物産
撹拌装置
19日前
トヨタ紡織株式会社
フィルタ
12日前
株式会社高垣製作所
粉粒体加工装置
3日前
栗田工業株式会社
ギ酸の回収方法
19日前
トヨタ紡織株式会社
水流帯電装置
12日前
個人
吸着材複合粒子
3日前
東芝ライテック株式会社
紫外線処理装置
18日前
株式会社HELIX
加熱装置
4日前
株式会社ダイセル
圧力容器
10日前
栗田工業株式会社
有機物含有水の脱泡処理装置
26日前
株式会社ダルトン
空気清浄化装置のフィルタ保持装置
3日前
愛三工業株式会社
水素分離膜
10日前
株式会社豊田中央研究所
二酸化炭素回収システム
12日前
日本スピンドル製造株式会社
除去フィルタ及び除去装置
3日前
オルガノ株式会社
ろ過膜の洗浄方法及び洗浄装置
26日前
三菱化工機株式会社
粒子の分級装置及び粒子の分級方法
3日前
セイコーエプソン株式会社
フィルター装置
10日前
株式会社デンソー
電気化学セル
11日前
株式会社ハイドロネクスト
金属材料
5日前
トヨタ自動車株式会社
予測モデル
3日前
大陽日酸株式会社
ガス分離方法及びガス分離装置
18日前
栗田工業株式会社
方法、システム及びプログラム
10日前
株式会社HELIX
供給装置及び加熱装置
4日前
エヌ・イーケムキャット株式会社
貴金属吸着材料
4日前
大陽日酸株式会社
ガス分離方法及びガス分離装置
18日前
トヨタ車体株式会社
ガス処理装置
3日前
大陽日酸株式会社
ガス分離方法及びガス分離装置
18日前
日本化薬株式会社
フィルタ、およびフィルタを備えるガス発生器
5日前
株式会社ハイドロネクスト
水素分離装置
5日前
栗田工業株式会社
超純水製造装置の立ち上げ時の洗浄方法
26日前
三菱ケミカル株式会社
触媒およびそれを用いるメタノールの製造方法
18日前
いすゞ自動車株式会社
二酸化炭素回収装置
10日前
いすゞ自動車株式会社
二酸化炭素回収装置
10日前
セイコーエプソン株式会社
流体デバイス
10日前
いすゞ自動車株式会社
二酸化炭素回収装置
10日前
続きを見る
他の特許を見る