TOP
|
特許
|
意匠
|
商標
特許ウォッチ
Twitter
他の特許を見る
公開番号
2025174159
公報種別
公開特許公報(A)
公開日
2025-11-28
出願番号
2024080265
出願日
2024-05-16
発明の名称
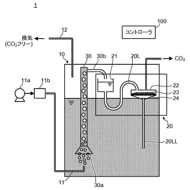
二酸化炭素回収装置
出願人
いすゞ自動車株式会社
代理人
弁理士法人鷲田国際特許事務所
主分類
B01D
53/14 20060101AFI20251120BHJP(物理的または化学的方法または装置一般)
要約
【課題】省エネルギー化の観点で、より好適な構成を有する二酸化炭素回収装置を提供すること。
【解決手段】本開示に係る二酸化炭素回収装置1は、シクロヘキシルアミン基をもつジアミン化合物の吸収液を貯留する吸収液タンク10と、再生器20と、吸収液タンク10内でガス導入口11の上方に配された吸収液吸入口30aを有し、吸収液吸入口30a内に入る前記ガスのバブルの上昇流を利用して、吸収液タンク10内から吸収液を、再生器20に輸送する誘導管30と、を備える。そして、再生器20は、サブタンク21と、サブタンク21から送出される吸収液を導入し、当該吸収液を下部から排出する再生チャンバー22と、再生チャンバー22内に配設され、吸収液中から二酸化炭素の吸収により発生した固体析出物を捕集する捕集材23と、捕集材23を加熱するヒータ24と、を有する。
【選択図】図1
特許請求の範囲
【請求項1】
シクロヘキシルアミン基をもつジアミン化合物を吸収液として利用した二酸化炭素回収装置であって、
外部から二酸化炭素を含有する被分離ガスを導入するガス導入口を有し、自身が貯留する前記吸収液と前記ガスとを接触させることによって、前記二酸化炭素を前記吸収液に吸収させる吸収液タンクと、
自身と前記吸収液タンクとの間で前記吸収液が還流するように配設された再生器と、
前記吸収液タンク内で前記ガス導入口の上方に配された吸収液吸入口を有し、前記吸収液吸入口内に入る前記ガスのバブルの上昇流を利用して、前記吸収液タンク内から前記吸収液を、前記再生器に輸送する誘導管と、
を備え、
前記再生器は、
前記誘導管から輸送される前記吸収液を一時的に貯留するサブタンクと、
自身の内部空間に前記サブタンクから送出される前記吸収液を導入し、当該吸収液を下部から排出する再生チャンバーと、
前記再生チャンバー内に配設され、前記吸収液中から前記二酸化炭素の吸収により発生した固体析出物を捕集する捕集材と、
前記捕集材を加熱し、前記捕集材に捕集された前記固体析出物から前記二酸化炭素を放散させるヒータと、
を含んで構成される二酸化炭素回収装置。
続きを表示(約 1,100 文字)
【請求項2】
前記サブタンクは、タンク下部から前記吸収液を排出するように、前記再生チャンバーよりも上方に配設され、
前記サブタンクと前記再生チャンバーとは、吸収液導入用配管を介して接続されている
請求項1に記載の二酸化炭素回収装置。
【請求項3】
前記吸収液導入用配管は、前記吸収液を前記サブタンクの排出口から受け取り、当該排出口から前記吸収液を下方に案内する第1案内部と、前記吸収液を前記第1案内部の終端から上方に案内する第2案内部と、前記吸収液を前記第2案内部の終端から下方に案内した後、前記再生チャンバーの吸収液導入口に輸送する第3案内部と、を含んで構成される
請求項2に記載の二酸化炭素回収装置。
【請求項4】
前記吸収液導入用配管の前記第2案内部の最上部の高さ位置は、前記サブタンクの最上部の高さ位置よりも下方に位置し、且つ、前記サブタンクの最下部の高さ位置よりも上方に位置する
請求項3に記載の二酸化炭素回収装置。
【請求項5】
外部から、前記ガス導入口に対して前記被分離ガスを供給する空気ポンプと、
前記空気ポンプ及び前記ヒータの動作を制御する制御部と、を更に有し、
前記制御部は、当該二酸化炭素回収装置が運用されている際中に、前記捕集材中に前記固体析出物を捕集する第1期間と、前記捕集材中の前記固体析出物を再生する第2期間とを交互に設け、前記第1期間中には、前記空気ポンプを稼働状態とし、且つ、前記ヒータを非稼働状態とし、前記第2期間中には、前記空気ポンプを非稼働状態とし、且つ、前記ヒータを稼働状態とする
請求項1に記載の二酸化炭素回収装置。
【請求項6】
前記再生チャンバーは、自身の底部が、前記吸収液タンク内の前記吸収液の液面よりも高い位置となるように配設されている
請求項1に記載の二酸化炭素回収装置。
【請求項7】
前記再生チャンバーの底部は、前記吸収液排出口の周囲から前記吸収液排出口に向かって高さが低くなる傾斜形状を呈する
請求項6に記載の二酸化炭素回収装置。
【請求項8】
前記再生チャンバーは、自身の上部に、二酸化炭素排気口を有する
請求項1に記載の二酸化炭素回収装置。
【請求項9】
前記捕集材は、ステンレスメッシュ、ステンレスウール、又はグラスウールで構成される
請求項1に記載の二酸化炭素回収装置。
【請求項10】
前記ジアミン化合物は、イソホロンジアミンである
請求項1に記載の二酸化炭素回収装置。
発明の詳細な説明
【技術分野】
【0001】
本開示は、二酸化炭素回収装置に関する。
続きを表示(約 1,800 文字)
【背景技術】
【0002】
従来、排ガスや大気中から二酸化炭素を回収する方法が各種提案されている。二酸化炭素の回収方法の一つである化学吸収法は、特徴として選択性が高いことが挙げられる。化学吸収法では、二酸化炭素吸収液(以下、単に「吸収液」と称する)が、低温で二酸化炭素と反応し、高温で二酸化炭素を放出する特性を利用して、高濃度の二酸化炭素として回収している。
【0003】
この種の二酸化炭素回収装置としては、吸収塔と再生塔とによって構成された二塔式のものが代表的である。二塔式の二酸化炭素回収装置は、典型的には、吸収塔にて排ガス中の二酸化炭素を吸収液に吸収させ、再生塔にて二酸化炭素を吸収した吸収液から二酸化炭素を放散させ、吸収液を両者間で循環させる構成となっている(例えば、特許文献1を参照)。
【0004】
従来、この種の二酸化炭素回収装置では、吸収液としてMEA(モノエタノールアミン)等が用いられており、再生塔にて二酸化炭素を再放出させる際には120度程度まで昇温する必要がある。又、MEA等の一般的な吸収液は、通常、液体の状態(即ち、後述するイソホロンジアミンとは異なり、二酸化炭素と反応しても、二酸化炭素を固体析出物として安定化させない)で二酸化炭素を吸放出することになる。そのため、吸収液を両者間で循環させる際には、大量の吸収液を圧送し、且つ、その間に熱交換を行わせ、吸収液の大幅な温度調整を行う必要がある。
【0005】
それ故、従来技術に係る二酸化炭素回収装置では、吸収塔と再生塔は同等程度の大きさとなり、設備も大がかりなものとなってしまう。又、吸収液の圧送にもエネルギーを要するため、システム全体で必要なエネルギー量が大きくなる、という課題もあった。
【先行技術文献】
【特許文献】
【0006】
特開2015-147171号公報
【非特許文献】
【0007】
Soichi Kikkawa, et al. "Direct Air Capture of CO2 Using a Liquid Amine-Solid Carbamic Acid Phase-Separation System Using Diamines Bearing an Aminocyclohexyl Group", ACS Environmental Au, August 2022,vol 2, pp354-pp362, Publication Date(Web):May 10, 2022,("URL: https://pubs.acs.org/doi/epdf/10.1021/acsenvironau.1c00065.pdf")
【発明の概要】
【発明が解決しようとする課題】
【0008】
近年、二酸化炭素との反応により、固体として析出するイソホロンジアミン等の吸収液が提案されている(例えば、非特許文献1を参照)。イソホロンジアミンは、シクロヘキシルアミン基をもつジアミン化合物の一種である。
【0009】
一般的にアミンと二酸化炭素が反応すると、不安定なカルバミン酸が形成されるが、シクロヘキシルアミン基をもつジアミン化合物は、二酸化炭素と反応すると、固体のカルバミン酸を形成し、固体として析出するという特性を有する。イソホロンジアミンは、この特性を顕著に有する。かかるカルバミン酸の一種である固体析出物(以下、単に「固体析出物」と称する)は、相分離により、吸収液中から選択的に取り出すことが可能である。又、かかる固体析出物は、60度程度の低温で、吸収した二酸化炭素を再放出し、元のイソホロンジアミンに戻る。つまり、イソホロンジアミンを、二酸化炭素回収装置の吸収液として用いることによって、容易に二酸化炭素を吸収・固定化することが可能となり、且つ、二酸化炭素回収装置の小型化も可能となる。
【0010】
但し、現在の二酸化炭素回収装置においては、イソホロンジアミン等のシクロヘキシルアミン基をもつジアミン化合物を利用した好適な装置構成が十分に検討されていないのが現状である。特に、この種の二酸化炭素回収装置では、カーボンニュートラルの観点から、装置全体の省エネルギー化が重要となるが、かかる観点では、現在の二酸化炭素回収装置には改善の余地がある。
(【0011】以降は省略されています)
この特許をJ-PlatPat(特許庁公式サイト)で参照する
関連特許
株式会社日本触媒
ドロー溶質
1か月前
プライミクス株式会社
攪拌装置
8日前
日本バイリーン株式会社
フィルタ
22日前
サンノプコ株式会社
消泡剤
1か月前
東レ株式会社
遠心ポッティング方法
29日前
トヨタ自動車株式会社
濾過装置
23日前
株式会社切川物産
撹拌装置
9日前
トヨタ紡織株式会社
フィルタ
2日前
トヨタ紡織株式会社
水流帯電装置
2日前
個人
気液混合装置
1か月前
栗田工業株式会社
ギ酸の回収方法
9日前
松岡紙業 株式会社
油吸着体の製造方法
1か月前
株式会社フクハラ
圧縮空気圧回路ユニット
1か月前
東芝ライテック株式会社
光照射装置
23日前
富士電機株式会社
ガス処理システム
1か月前
株式会社明電舎
成膜装置
1か月前
日本化薬株式会社
直鎖ブテン製造用触媒及びその使用
29日前
東芝ライテック株式会社
紫外線処理装置
8日前
株式会社ダイセル
圧力容器
今日
個人
フッ化炭素糸物にフッ素をコーティングした浄水手段
1か月前
三浦工業株式会社
撹拌装置
1か月前
いであ株式会社
PFAS除去用バイオ炭の製造方法
24日前
JFEエンジニアリング株式会社
二酸化炭素回収方法
1か月前
三菱重工業株式会社
石膏脱水システム
22日前
栗田工業株式会社
有機物含有水の脱泡処理装置
16日前
愛三工業株式会社
水素分離膜
今日
株式会社豊田中央研究所
二酸化炭素回収システム
2日前
セイコーエプソン株式会社
フィルター装置
今日
オルガノ株式会社
ろ過膜の洗浄方法及び洗浄装置
16日前
JFEエンジニアリング株式会社
二酸化炭素回収システム
1か月前
愛三工業株式会社
ガス吸着装置
1か月前
株式会社デンソー
電気化学セル
1日前
株式会社神鋼環境ソリューション
濾過方法および濾過装置
1か月前
東京濾器株式会社
二酸化炭素吸着剤
1か月前
大陽日酸株式会社
ガス分離方法及びガス分離装置
8日前
大陽日酸株式会社
ガス分離方法及びガス分離装置
8日前
続きを見る
他の特許を見る