TOP
|
特許
|
意匠
|
商標
特許ウォッチ
Twitter
他の特許を見る
公開番号
2025133541
公報種別
公開特許公報(A)
公開日
2025-09-11
出願番号
2024031554
出願日
2024-03-01
発明の名称
フィルタ装置
出願人
ヤマシンフィルタ株式会社
代理人
個人
主分類
B01D
29/07 20060101AFI20250904BHJP(物理的または化学的方法または装置一般)
要約
【課題】シンプルな構成のフィルタ装置を提供する。
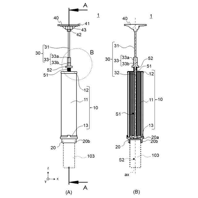
【解決手段】棒状部材と、棒状部材の一方の端である第1端が設けられたエンドキャップと、エンドキャップに設けられており、筒状の濾材を有するフィルタエレメントと、棒状部材の第2端(第1端と反対側の端)が設けられており、エンドキャップ及びフィルタエレメントをタンクに取り付けるためのカバーと、を備える。棒状部材は、フィルタエレメントの長さより長く、フィルタエレメントの中心軸に沿ってフィルタエレメントを貫通するように設けられている。
【選択図】 図1
特許請求の範囲
【請求項1】
棒状部材と、
前記棒状部材の一方の端に設けられたエンドキャップと、
前記エンドキャップに設けられ、筒状の濾材を有するフィルタエレメントと、
前記棒状部材の他方の端に設けられており、前記エンドキャップをタンクに取り付けるためのカバーと、
を備え、
前記棒状部材は、前記フィルタエレメントの長さより長く、前記フィルタエレメントの中心軸に沿って前記フィルタエレメントを貫通するように設けられている
ことを特徴とするフィルタ装置。
続きを表示(約 960 文字)
【請求項2】
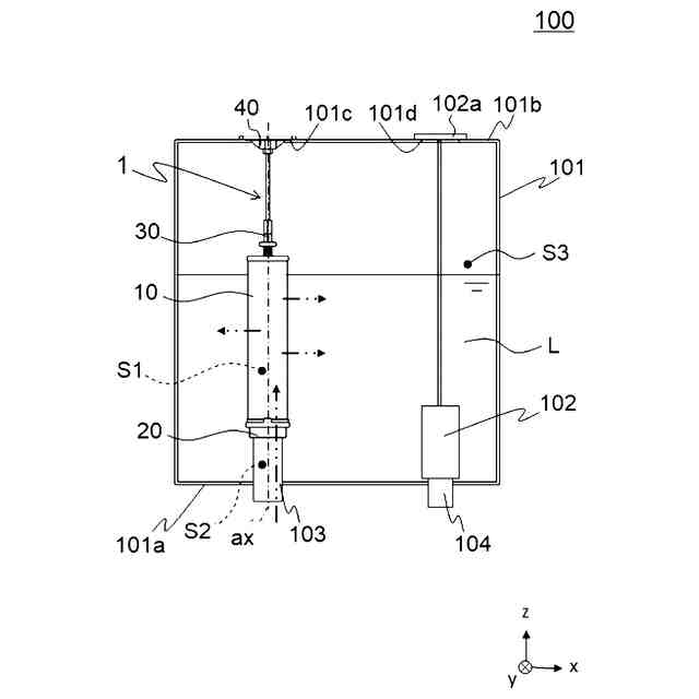
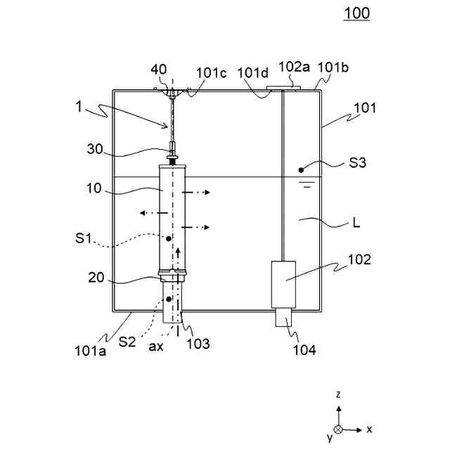
油が貯留されるタンクに設けられるフィルタ装置であって、
筒状の濾材を有するフィルタエレメントと、
前記フィルタエレメントに設けられたエンドキャップと、
前記エンドキャップに一方の端が接続する棒状部材と、
前記棒状部材の他方の端と接続し、前記タンクに設けられた開口部を覆うように前記タンクに設けられるカバーと、
を備え、
前記棒状部材、前記フィルタエレメント及び前記エンドキャップは、前記タンク内に配置されており、
前記棒状部材は、前記フィルタエレメントの長さより長く、前記フィルタエレメントの中心軸に沿って前記フィルタエレメントを貫通するように設けられており、
前記エンドキャップは、前記タンクの流入部が嵌合する嵌合部を有し、
前記エンドキャップには、前記流入部と前記濾材の中空部とを連通する孔が設けられている
ことを特徴とするフィルタ装置。
【請求項3】
前記カバーは、板状の板状部材と、前記板状部材に設けられた突起部であって、前記棒状部材が挿入される穴が形成された突起部と、前記突起部の周囲に設けられた前記突起部を補強する補強部と、を有する
ことを特徴とする請求項1又は2に記載のフィルタ装置。
【請求項4】
前記棒状部材は、前記カバーに設けられた第1棒状部材と、前記エンドキャップに設けられた第2棒状部材と、前記第1棒状部材と前記第2棒状部材とを連結する連結部材と、を有し、
前記連結部材は、前記フィルタエレメントと前記カバーとの間に設けられている
ことを特徴とする請求項1から3のいずれか一項に記載のフィルタ装置。
【請求項5】
前記棒状部材には、フランジ部が設けられており、
前記フランジ部は、前記濾材の前記エンドキャップに隣接していない側の端に設けられたプレートと前記カバーとの間に設けられており、
前記フランジ部と前記プレートとの間には弾性部材が設けられており、
前記フィルタエレメントは、前記中心軸と平行な第1方向に移動可能である
ことを特徴とする請求項1から4のいずれか一項に記載のフィルタ装置。
発明の詳細な説明
【技術分野】
【0001】
本発明は、フィルタ装置に関する。
続きを表示(約 1,800 文字)
【背景技術】
【0002】
特許文献1には、交換可能なフィルタ要素が受容されているフィルタハウジングと、フィルタハウジングを貯蔵タンクのタンク壁などの第3構成部材に固定するためのフィルタヘッドとを備え、フィルタハウジングは1以上の自由度を提供する支持部によってフィルタヘッドに関節式で支持されているフィルタ装置が開示されている。
【先行技術文献】
【特許文献】
【0003】
特表2022-547300号公報
【発明の概要】
【発明が解決しようとする課題】
【0004】
図10は、特許文献1に記載の発明の概略を示す図である。図10の二点鎖線は液体の流れを示す。特許文献1に記載の発明では、タンクの上端に設けられたフィルタヘッド及び上側エンドキャップにフィルタハウジング及びフィルタ要素が設けられており、下側エンドキャップがタンク内に設けられた装着ソケットに被せられている。また、特許文献1に記載の発明では、エンドキャップの下側貫通孔を介してフィルタ要素の中空部に流体が流入し、フィルタ要素を内側から外側に流れることで液体が濾過され、濾過された液体はフィルタ要素とフィルタハウジングの間の空間に流入する。その後、フィルタハウジングに形成された流体通過箇所を通って液体がフィルタハウジングの内部(フィルタ装置)からタンクに流出する。
【0005】
しかしながら、特許文献1に記載の発明では、フィルタ要素を囲むフィルタハウジング等が必須であり、部品点数が多くなる。また、フィルタヘッドの構造が複雑であり、それに付随して部品点数も多くなる。
【0006】
本発明はこのような事情に鑑みてなされたもので、シンプルな構成のフィルタ装置を提供することを目的とする。
【課題を解決するための手段】
【0007】
上記課題を解決するために、本発明に係るフィルタ装置は、例えば、棒状部材と、前記棒状部材の一方の端に設けられたエンドキャップと、前記エンドキャップに設けられ、筒状の濾材を有するフィルタエレメントと、前記棒状部材の他方の端に設けられており、前記エンドキャップ及び前記フィルタエレメントをタンクに取り付けるためのカバーと、を備え、前記棒状部材は、前記フィルタエレメントの長さより長く、前記フィルタエレメントの中心軸に沿って前記フィルタエレメントを貫通するように設けられていることを特徴とする。
【0008】
また、本発明に係るフィルタ装置は、例えば、油が貯留されるタンクに設けられるフィルタ装置であって、筒状の濾材を有するフィルタエレメントと、前記フィルタエレメントに設けられたエンドキャップと、前記エンドキャップに一方の端が接続する棒状部材と、前記棒状部材の他方の端と接続し、前記タンクに設けられた開口部を覆うように前記タンクに設けられるカバーと、を備え、前記棒状部材、前記フィルタエレメント及び前記エンドキャップは、前記タンク内に配置されており、前記棒状部材は、前記フィルタエレメントの長さより長く、前記フィルタエレメントの中心軸に沿って前記フィルタエレメントを貫通するように設けられており、前記エンドキャップは、前記タンクの流入部が篏合する篏合部を有し、前記エンドキャップには、前記流入部と前記濾材の中空部とを連通する孔が設けられていることを特徴とする。
【0009】
本発明に係るフィルタ装置によれば、フィルタエレメントの長さより長い棒状部材がフィルタエレメントの中心軸に沿って前記フィルタエレメントを貫通するように設けられており、棒状部材の一端はフィルタエレメントに設けられたエンドキャップに設けられており、他端はカバーに設けられている。これにより、シンプルな構成のフィルタ装置とすることができる。
【0010】
前記カバーは、板状の板状部材と、前記板状部材に設けられた突起部であって、前記棒状部材が挿入される穴が形成された突起部と、前記突起部の周囲に設けられた前記突起部を補強する補強部と、を有してもよい。これにより、補強部により荷重が分散され、シンプルな構成でありながら、頑丈なフィルタ装置とすることができる。
(【0011】以降は省略されています)
この特許をJ-PlatPat(特許庁公式サイト)で参照する
関連特許
東レ株式会社
複合半透膜
1か月前
ユニチカ株式会社
複合中空糸膜
1日前
東レ株式会社
中空糸膜モジュール
今日
株式会社ニクニ
液体処理装置
14日前
日本化薬株式会社
メタノール改質触媒
15日前
株式会社大善
濃縮脱水機
24日前
三機工業株式会社
ろ過装置
1か月前
株式会社フクハラ
圧縮空気圧回路
1か月前
株式会社カネカ
濃縮システム
1か月前
株式会社カネカ
製造システム
1か月前
テルモ株式会社
ろ過デバイス
25日前
株式会社MRT
微細バブル発生装置
4日前
株式会社笹山工業所
濁水処理システム
4日前
個人
攪拌装置
4日前
東京理化器械株式会社
クリップ
8日前
日本ソリッド株式会社
水中懸濁物質付着素材
23日前
株式会社Tornada
気泡発生装置
1か月前
株式会社切川物産
撹拌混合装置
28日前
ヤマシンフィルタ株式会社
フィルタ装置
2日前
ヤマシンフィルタ株式会社
フィルタ装置
22日前
ノリタケ株式会社
ガス吸収シート
15日前
ダイハツ工業株式会社
二酸化炭素分解装置
23日前
浙江漢信科技有限公司
攪拌装置
29日前
杉山重工株式会社
回転円筒型反応装置
4日前
株式会社キャタラー
カーボン担体材料
1か月前
株式会社福島県南環境衛生センター
処理装置
1か月前
中外炉工業株式会社
ガス発生装置及び窒化装置
24日前
東レ株式会社
多孔中実繊維、繊維束および浄化カラム
23日前
本田技研工業株式会社
二酸化炭素回収装置
2日前
本田技研工業株式会社
分離システム
4日前
本田技研工業株式会社
二酸化炭素回収装置
2日前
株式会社インパクト
消臭剤又は消臭紙の製造方法
7日前
本田技研工業株式会社
二酸化炭素回収装置
2日前
靜甲株式会社
高圧損発生ユニット並びに充填装置
22日前
個人
生分解性蓄熱マイクロカプセルおよびその製造方法
23日前
本田技研工業株式会社
二酸化炭素回収装置
今日
続きを見る
他の特許を見る