TOP
|
特許
|
意匠
|
商標
特許ウォッチ
Twitter
他の特許を見る
10個以上の画像は省略されています。
公開番号
2025171033
公報種別
公開特許公報(A)
公開日
2025-11-20
出願番号
2024075993
出願日
2024-05-08
発明の名称
予混合装置および給湯装置
出願人
株式会社ミクニ
代理人
SSIP弁理士法人
主分類
F23D
14/64 20060101AFI20251113BHJP(燃焼装置;燃焼方法)
要約
【課題】小流量域での空気と燃料との予混合を促進可能な予混合装置を提供する。
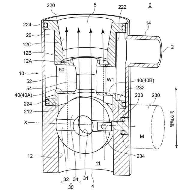
【解決手段】予混合装置1は、空気通路11を取り囲むように設けられ、環状の燃料チャンバ20が管壁内部に形成された筒状の主管10と、空気導入穴31を有し、空気通路11内に位置するように回動可能に設けられるバタフライ弁30と、燃料チャンバ20に連通する燃料通路50を内部に有し、バタフライ弁30の下流側において空気通路11内に位置するように主管10の内壁面12から径方向内側に延在する少なくとも一つの支持部40と、バタフライ弁30の下流側において空気通路11内に位置するように少なくとも一つの支持部40によって支持されるベンチュリ環60と、を備える。燃料通路50は、空気通路11のうちベンチュリ環60の内周側の空間61に開口する出口54を有する。
【選択図】図2
特許請求の範囲
【請求項1】
空気通路を取り囲むように設けられ、環状の燃料チャンバが管壁内部に形成された筒状の主管と、
空気導入穴を有し、前記空気通路内に位置するように回動可能に設けられるバタフライ弁と、
前記燃料チャンバに連通する燃料通路を内部に有し、前記バタフライ弁の下流側において前記空気通路内に位置するように前記主管の内壁面から径方向内側に延在する少なくとも一つの支持部と、
前記バタフライ弁の下流側において前記空気通路内に位置するように前記少なくとも一つの支持部によって支持されるベンチュリ環と、
を備え、
前記燃料通路は、前記空気通路のうち前記ベンチュリ環の内周側の空間に開口する出口を有する
予混合装置。
続きを表示(約 1,000 文字)
【請求項2】
前記ベンチュリ環は、全閉状態における前記バタフライ弁の前記空気導入穴と同芯状となるように前記空気通路内に配置される
請求項1に記載の予混合装置。
【請求項3】
前記ベンチュリ環は、前記少なくとも一つの支持部としての一対の支持部により支持され、
前記一対の支持部は、前記バタフライ弁の回動軸に沿ってそれぞれ延在するように、前記空気通路内において前記ベンチュリ環を挟んで互いに反対側に設けられる
請求項1又は2に記載の予混合装置。
【請求項4】
各々の前記支持部は、前記主管の管軸方向に沿った第1幅が、前記管軸方向に直交する方向に沿った第2幅よりも大きい
請求項3に記載の予混合装置。
【請求項5】
各々の前記支持部の前記第2幅は、前記バタフライ弁の最大厚さに対する比が、0.8以上1.2以下である
請求項4に記載の予混合装置。
【請求項6】
前記ベンチュリ環は、前記燃料通路の前記出口が開口する内周面を有する
請求項1又は2に記載の予混合装置。
【請求項7】
前記ベンチュリ環の前記内周面は、
前記ベンチュリ環の内径が下流に向かって縮径する第1先細部と、
前記第1先細部の下流側に位置し、前記燃料通路の前記出口が開口する領域に設けられる第1スロート部と、
前記第1スロート部の下流側に位置し、前記ベンチュリ環の前記内径が下流に向かって拡径する第1拡径部と、
を含む
請求項6に記載の予混合装置。
【請求項8】
前記主管の前記内壁面は、
前記ベンチュリ環の上流端よりも下流側に位置し、下流に向かって前記主管の内径が縮径する第2先細部と、
前記第2先細部の下流側に位置し、前記主管の管軸方向において前記ベンチュリ環の下流端に対応する位置に設けられる第2スロート部と、
前記第2スロート部の下流側に位置し、前記主管の前記内径が下流に向かって拡径する第2拡径部と、
を含む
請求項7に記載の予混合装置。
【請求項9】
燃料および燃焼用空気の混合気を生成するための請求項1又は2に記載の予混合装置と、
前記予混合装置からの前記混合気に含まれる前記燃料を燃焼するためのバーナと、
前記バーナにおける前記燃料の燃焼により生じた燃焼ガスの保有熱を利用して温水を生成するための加熱器と、
を備える給湯装置。
発明の詳細な説明
【技術分野】
【0001】
本開示は、予混合装置および給湯装置に関する。
続きを表示(約 1,600 文字)
【背景技術】
【0002】
従来から、ベンチュリ状の空気通路のスロート部に燃料流出口を形成し、下流側に位置するファンによって燃料ガスおよび燃焼用空気を吸引することで、燃料と空気との予混合を実現するようにしたベンチュリ型の予混合装置が知られている。
【0003】
例えば、特許文献1には、ベンチュリ部に設けた空隙から燃料ガスを流出させ、燃料ガスを空気流に混合させるようにした予混合装置が記載されている。
なお、特許文献1記載の予混合装置では、バタフライ弁によってベンチュリ部を流れる空気量を調節可能である。
【先行技術文献】
【特許文献】
【0004】
特開2017-36889号公報
【発明の概要】
【発明が解決しようとする課題】
【0005】
しかしながら、例えば特許文献1記載の従来の予混合装置において、ファンの回転数を最小にしてバタフライ弁を閉じたとき(すなわち、小流量域での予混合装置の稼働時)、ファンが燃料及び空気に与える運動量は限定的であり、ファンにおける燃料及び空気の攪拌は期待できない。
このため、燃料と空気とが、十分に予混合されないままバーナに到達し、バーナの燃焼安定性を損なうおそれがある。
【0006】
上述の事情に鑑みて、本発明の少なくとも幾つかの実施形態は、小流量域での空気と燃料との予混合を促進可能な予混合装置を提供することを目的とする。
【課題を解決するための手段】
【0007】
本発明の少なくとも幾つかの実施形態に係る予混合装置は、
空気通路を取り囲むように設けられ、環状の燃料チャンバが管壁内部に形成された筒状の主管と、
空気導入穴を有し、空気通路内に位置するように回動可能に設けられるバタフライ弁と、
燃料チャンバに連通する燃料通路を内部に有し、バタフライ弁の下流側において空気通路内に位置するように主管の内壁面から径方向内側に延在する少なくとも一つの支持部と、
バタフライ弁の下流側において空気通路内に位置するように少なくとも一つの支持部によって支持されるベンチュリ環と、
を備え、
燃料通路は、空気通路のうちベンチュリ環の内周側の空間に開口する出口を有する。
【発明の効果】
【0008】
本発明の少なくとも幾つかの実施形態によれば、予混合が不十分となりやすい小流量域において、バタフライ弁の空気導入穴を通過した空気を空気通路の中央部分に偏らせ、ベンチュリ環の下流側における空気流の流速差に起因した渦を利用して予混合を促進できる。
【図面の簡単な説明】
【0009】
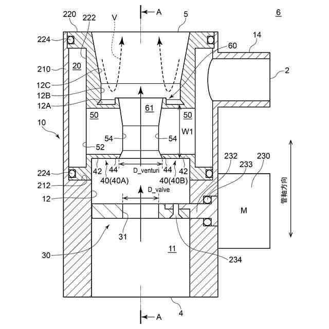
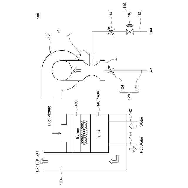
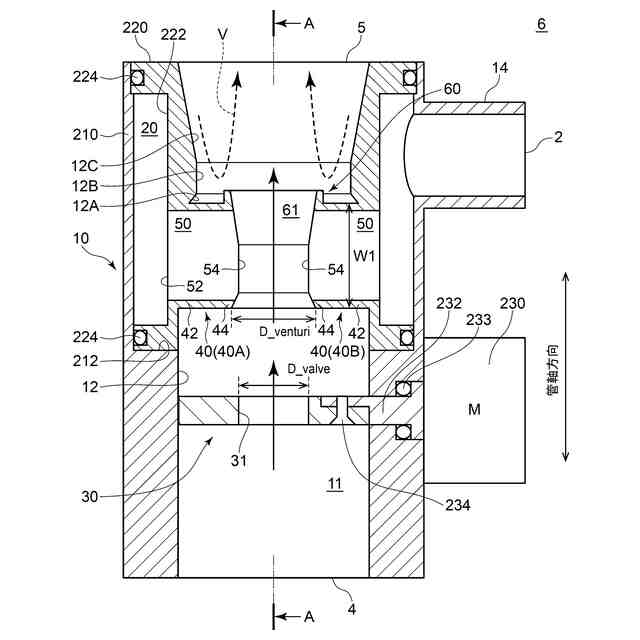
一実施形態に係る給湯装置の概略構成を示す図である。
一実施形態に係る予混合装置の予混合ユニットを示す断面図であり、小流量域の状態を示す。
図2のA-A線に沿った予混合ユニットの断面図である。
図2に対応する予混合ユニットの斜視断面図である。
図3に対応する予混合ユニットの斜視断面図である。
一実施形態に係る予混合装置の予混合ユニットを示す断面図であり、大流量域の状態を示す。
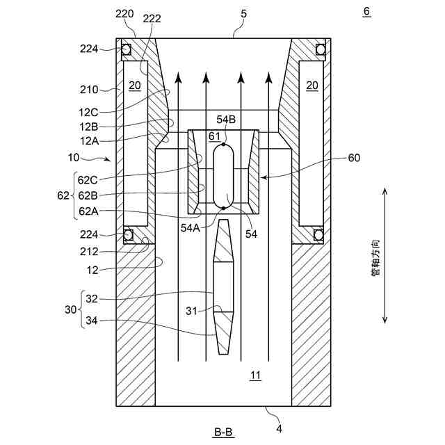
図6のB-B線に沿った予混合ユニットの断面図である。
図6に対応する予混合ユニットの斜視断面図である。
図7に対応する予混合ユニットの斜視断面図である。
【発明を実施するための形態】
【0010】
以下、添付図面を参照して本発明の幾つかの実施形態について説明する。ただし、実施形態として記載されている又は図面に示されている構成部品の寸法、材質、形状、その相対的配置等は、本発明の範囲をこれに限定する趣旨ではなく、単なる説明例にすぎない。
(【0011】以降は省略されています)
この特許をJ-PlatPat(特許庁公式サイト)で参照する
関連特許
株式会社ミクニ
電動ポンプ
1か月前
株式会社ミクニ
電動ポンプ
1か月前
株式会社ミクニ
制御回路ユニット
2日前
株式会社ミクニ
制御回路ユニット
2日前
株式会社ミクニ
制御回路ユニット
2日前
株式会社ミクニ
予混合装置および給湯装置
2日前
株式会社ミクニ
エンジンのスロットル装置
15日前
株式会社ミクニ
メッシュフェンス及びメッシュフェンスの製造方法
15日前
株式会社ミクニ
クローズドインペラ、電動ポンプおよびクローズドインペラの製造方法
1か月前
個人
燃焼炉の操業方法
2か月前
個人
固形燃料ストーブ
15日前
個人
煙突煤払い掃除機
4か月前
個人
ウッドガスストーブ
1か月前
個人
形見の製造方法
1か月前
コーキ株式会社
煙突
2か月前
株式会社トヨトミ
石油燃焼器
1か月前
株式会社パロマ
燃焼装置
4か月前
株式会社豊田自動織機
耐熱部材
2か月前
株式会社トヨトミ
固体燃料燃焼器
6か月前
株式会社オメガ
熱風発生装置
6か月前
個人
有機物酸化分解資源化装置
2日前
三浦工業株式会社
ボイラ
5か月前
株式会社サイトウ工研
焚き火台
1か月前
株式会社フクハラ
充填物処理方法
4か月前
個人
回転キルンを利用した燻炭製造方法
5か月前
東京パイプ株式会社
着火器具
3か月前
株式会社タクマ
付着物除去システム
4か月前
大陽日酸株式会社
バーナ
6か月前
大陽日酸株式会社
バーナ
6か月前
大陽日酸株式会社
バーナ
6か月前
三浦工業株式会社
燃焼システム
1か月前
リンナイ株式会社
燃焼装置
5か月前
三浦工業株式会社
水素燃焼ボイラ
2か月前
株式会社アドバンテック
燃焼装置
2か月前
株式会社アドバンテック
燃焼装置
2か月前
株式会社アドバンテック
燃焼装置
2か月前
続きを見る
他の特許を見る