TOP
|
特許
|
意匠
|
商標
特許ウォッチ
Twitter
他の特許を見る
公開番号
2025167885
公報種別
公開特許公報(A)
公開日
2025-11-07
出願番号
2024072878
出願日
2024-04-26
発明の名称
制御装置、制御方法、及びプログラム
出願人
株式会社CoLab
代理人
弁理士法人キュリーズ
主分類
B25J
13/00 20060101AFI20251030BHJP(手工具;可搬型動力工具;手工具用の柄;作業場設備;マニプレータ)
要約
【課題】ロボット装置をより適切に制御することを可能とする。
【解決手段】制御装置は、ロボット装置の動作状態に関する測定を行うためのセンサを用いて得られる測定情報を取得する取得部と、前記測定情報に基づいて前記ロボット装置の動作の制御を行う制御部と、を備え、前記センサは、視覚センサ及び力覚センサを含み、前記制御部は、前記視覚センサを用いて得られる視覚測定情報による前記制御である視覚制御と、前記力覚センサを用いて得られる力覚測定情報による前記制御である力覚制御と、の制御比率を、前記ロボット装置を用いた作業の状況に応じて動的に又は段階的に変更する。
【選択図】図6
特許請求の範囲
【請求項1】
ロボット装置の動作状態に関する測定を行うためのセンサを用いて得られる測定情報を取得する取得部と、
前記測定情報に基づいて前記ロボット装置の動作の制御を行う制御部と、を備え、
前記センサは、視覚センサ及び力覚センサを含み、
前記制御部は、前記視覚センサを用いて得られる視覚測定情報による前記制御である視覚制御と、前記力覚センサを用いて得られる力覚測定情報による前記制御である力覚制御と、の制御比率を、前記ロボット装置を用いた作業の状況に応じて動的に又は段階的に変更する
制御装置。
続きを表示(約 1,200 文字)
【請求項2】
前記制御部は、
前記視覚測定情報を参照して、前記制御の内容を示す第1情報を生成する視覚制御部と、
前記力覚測定情報を参照して、前記制御の内容を示す第2情報を生成する力覚制御部と、
前記第1情報及び前記第2情報に基づいて、前記ロボット装置に対する制御指令を生成する指令生成部と、
前記作業の状況に応じて、前記視覚測定情報と前記力覚測定情報との間の重み付け処理、又は前記第1情報と前記第2情報との間の重み付け処理を行うことで、前記制御比率を変更する重み付け部と、を有する
請求項1に記載の制御装置。
【請求項3】
前記制御部は、前記作業が進行するにつれて前記制御比率を動的に又は段階的に変更する
請求項1に記載の制御装置。
【請求項4】
前記作業は、予め定められた複数の工程を含み、
前記制御部は、前記制御比率を工程ごとに変更する
請求項1乃至3のいずれか1項に記載の制御装置。
【請求項5】
前記複数の工程のそれぞれの前記制御比率に関する設定を含む設定ライブラリを記憶するライブラリ記憶部をさらに備え、
前記制御部は、前記設定ライブラリに基づいて前記制御比率を工程ごとに変更する
請求項4に記載の制御装置。
【請求項6】
前記制御部は、前記作業における1つの工程から次の工程への遷移時において、前記1つの工程における前記制御比率から前記次の工程における前記制御比率へ向けて緩やかに前記制御比率を変更する
請求項4に記載の制御装置。
【請求項7】
前記制御部は、
前記測定情報に基づいて、前記作業における1つの工程から次の工程への遷移条件が満たされたか否かを判定し、
前記遷移条件が満たされたことに応じて、前記1つの工程から前記次の工程へ遷移するとともに、前記次の工程に対応する前記制御比率に変更する
請求項3に記載の制御装置。
【請求項8】
前記制御部は、前記次の工程へ切り替えた後に前記次の工程における前記制御が収束しない場合、前記1つの工程へ戻すとともに前記1つの工程に対応する前記制御比率に変更する
請求項7に記載の制御装置。
【請求項9】
前記制御部は、前記視覚制御を優先して前記制御を行う第1制御状態と、前記視覚制御と前記力覚制御とを協調して用いて前記制御を行う第2制御状態と、前記力覚制御を優先して用いて前記制御を行う第3制御状態と、の間で前記制御を切り替える
請求項1乃至3のいずれか1項に記載の制御装置。
【請求項10】
前記制御部は、前記測定情報に基づいて、前記第1制御状態乃至前記第3制御状態における前記制御の切り替えを判断する
請求項9に記載の制御装置。
(【請求項11】以降は省略されています)
発明の詳細な説明
【技術分野】
【0001】
本開示は、ロボット装置を制御する制御装置、制御方法、及びプログラムに関する。
続きを表示(約 1,900 文字)
【背景技術】
【0002】
従来、ロボット装置を制御する制御装置が広く用いられている。このような制御装置において、視覚センサ及び力覚センサを用いてロボット装置の動作状態を測定すると共に、ロボット装置の動作状態を目標状態にするよう制御する技術が知られている(例えば、特許文献1参照)。
【先行技術文献】
【特許文献】
【0003】
特許第7295344号公報
【発明の概要】
【発明が解決しようとする課題】
【0004】
視覚センサを用いて得られる視覚測定情報によるロボット装置の制御である視覚制御と、力覚センサを用いて得られる力覚測定情報によるロボット装置の制御である力覚制御とのそれぞれのメリットを活用し、視覚制御及び力覚制御を両立してロボット装置の動作を適切に制御することが望まれている。
【0005】
本開示は、ロボット装置をより適切に制御することを可能とする制御装置、制御方法、及びプログラムを提供する。
【課題を解決するための手段】
【0006】
本開示の第1の態様に係る制御装置は、ロボット装置の動作状態に関する測定を行うためのセンサを用いて得られる測定情報を取得する取得部と、前記測定情報に基づいて前記ロボット装置の動作の制御を行う制御部と、を備え、前記センサは、視覚センサ及び力覚センサを含み、前記制御部は、前記視覚センサを用いて得られる視覚測定情報による前記制御である視覚制御と、前記力覚センサを用いて得られる力覚測定情報による前記制御である力覚制御と、の制御比率を、前記ロボット装置を用いた作業の状況に応じて動的に又は段階的に変更する。
【0007】
本開示の第2の態様に係る制御方法は、ロボット装置の動作状態に関する測定を行うためのセンサを用いて得られる測定情報を取得することと、前記測定情報に基づいて前記ロボット装置の動作の制御を行うことと、を有し、前記センサは、視覚センサ及び力覚センサを含み、前記制御を行うことは、前記視覚センサを用いて得られる視覚測定情報による前記制御である視覚制御と、前記力覚センサを用いて得られる力覚測定情報による前記制御である力覚制御と、の制御比率を、前記ロボット装置を用いた作業の状況に応じて動的に又は段階的に変更することを含む。
【0008】
本開示の第3の態様に係るプログラムは、制御装置に、ロボット装置の動作状態に関する測定を行うためのセンサを用いて得られる測定情報を取得することと、前記測定情報に基づいて前記ロボット装置の動作の制御を行うことと、を実行させ、前記センサは、視覚センサ及び力覚センサを含み、前記制御を行うことは、前記視覚センサを用いて得られる視覚測定情報による前記制御である視覚制御と、前記力覚センサを用いて得られる力覚測定情報による前記制御である力覚制御と、の制御比率を、前記ロボット装置を用いた作業の状況に応じて動的に又は段階的に変更することを含む。
【発明の効果】
【0009】
本開示の一態様によれば、ロボット装置をより適切に制御することを可能とする制御装置、制御方法、及びプログラムを提供できる。
【図面の簡単な説明】
【0010】
実施形態に係る制御装置を含む制御システムのシステム構成例を示す図である。
第1実施形態に係る制御装置の機能ブロック構成を示すブロック図である。
第1実施形態に係る制御装置によるデータ収集の一例を説明するための図である。
第1実施形態に係る制御装置によるデータ収集の一例を説明するための図である。
第1実施形態に係る制御装置によるデータ収集の一例を説明するためのフロー図である。
実施形態に係る制御装置が記憶する設定ライブラリの一例を説明するための図である。
第2実施形態に係る制御装置の機能ブロック構成を示すブロック図である。
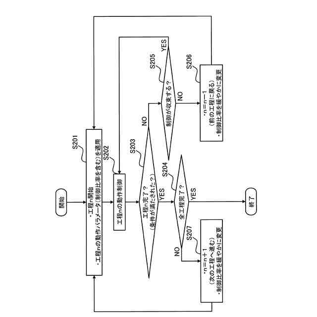
第2実施形態に係る制御装置による制御フローの一例を説明するためのフロー図である。
第2実施形態に係る制御装置による制御として「基板への部品装着」作業時の制御の具体例を説明するための図である。
第3実施形態に係る制御装置の機能ブロック構成を示すブロック図である。
第3実施形態に係る制御装置による制御として「基板への部品装着」作業時の制御の具体例を説明するための図である。
【発明を実施するための形態】
(【0011】以降は省略されています)
この特許をJ-PlatPat(特許庁公式サイト)で参照する
関連特許
個人
フラワーホッチキス。
1か月前
個人
手持ち挟持具
1か月前
CKD株式会社
把持装置
2日前
トヨタ自動車株式会社
学習装置
17日前
ダイセイ株式会社
ロボット自動刻印装置
2日前
株式会社マキタ
ハンマドリル
1か月前
株式会社マキタ
ハンマドリル
1か月前
瓜生製作株式会社
電動締付工具
10日前
株式会社安川電機
ロボット
1か月前
株式会社マキタ
集塵アタッチメント
9日前
株式会社三共コーポレーション
工具保持具
1か月前
株式会社不二越
垂直多関節ロボット
17日前
トヨタ自動車株式会社
ロボットハンド
1か月前
株式会社不二越
ロボットに用いる伝送路
1か月前
株式会社マキタ
現場用作業機
1か月前
学校法人立命館
ロボットハンド制御システム
1か月前
株式会社マキタ
電動工具
17日前
ニデックインスツルメンツ株式会社
産業用ロボット
1か月前
NTN株式会社
把持装置
2日前
株式会社マキタ
作業機
1か月前
トヨタ自動車株式会社
モバイルマニピュレータ
1か月前
国立大学法人東京科学大学
多自由度入力装置用制御装置
9日前
ファナック株式会社
経路データセット生成
1か月前
株式会社田村製作所
エンドエフェクタ及びロボット装置
1か月前
株式会社ケイズベルテック
物品定量取り分け装置
1か月前
株式会社人機一体
有脚ロボット
1か月前
株式会社マキタ
インパクト工具
1か月前
ダイハツ工業株式会社
ロボット制御システム
2日前
積水ハウス株式会社
固定ピン保持用アタッチメント
1か月前
カツデン株式会社
回転工具用治具
1か月前
泰芳機械股分有限公司
コレット収納装置
1か月前
株式会社デンソー
ワーク投入装置
1か月前
パナソニック株式会社
インパクト工具
2日前
株式会社秦製作所
ジャック差込口ナット締め用の供回り防止レンチ
18日前
日本発條株式会社
ケーブルユニット及びその製造方法
1か月前
久維科技(蘇州)有限公司
締結部材打込み機
1か月前
続きを見る
他の特許を見る