TOP
|
特許
|
意匠
|
商標
特許ウォッチ
Twitter
他の特許を見る
10個以上の画像は省略されています。
公開番号
2025147558
公報種別
公開特許公報(A)
公開日
2025-10-07
出願番号
2024047860
出願日
2024-03-25
発明の名称
配管の接続構造および配管システム
出願人
川崎重工業株式会社
代理人
弁理士法人三協国際特許事務所
主分類
F16L
23/02 20060101AFI20250930BHJP(機械要素または単位;機械または装置の効果的機能を生じ維持するための一般的手段)
要約
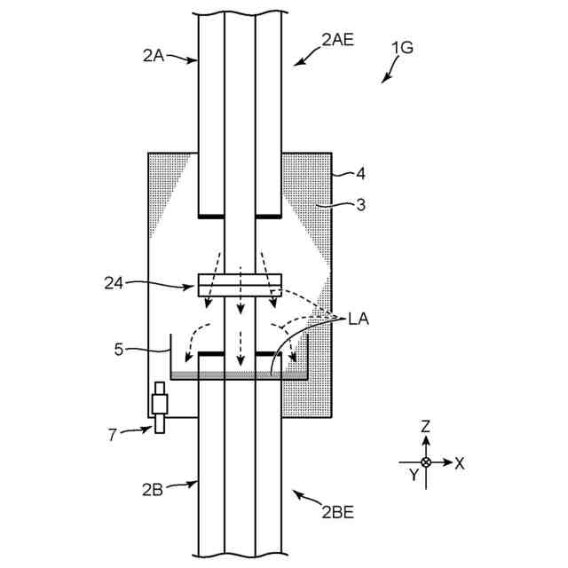
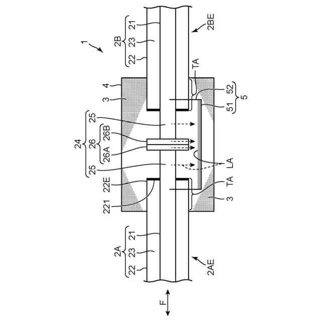
【課題】真空断熱配管の接続部の構造を簡素化する。
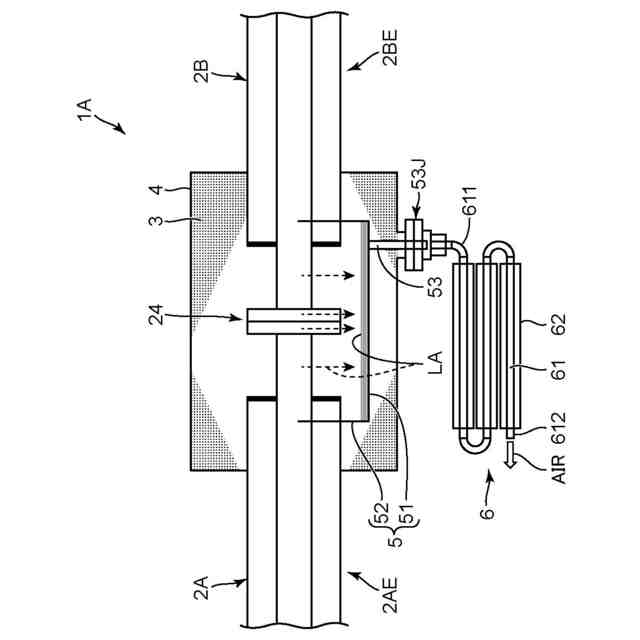
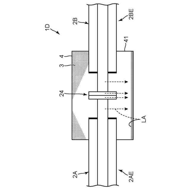
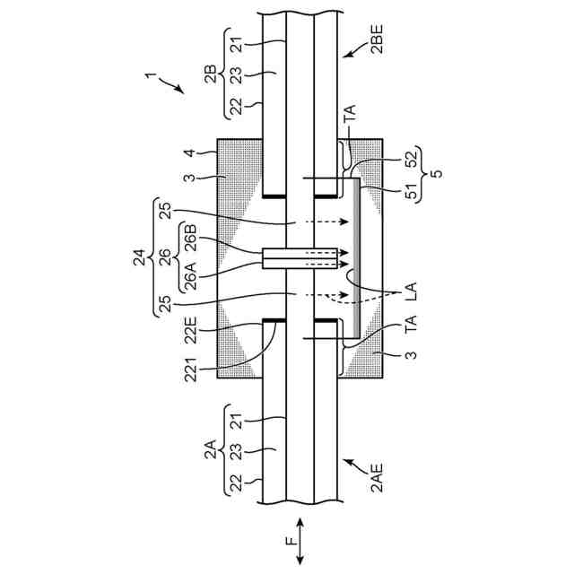
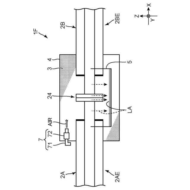
【解決手段】配管の接続構造1は、内管21、外管22および真空断熱層23と、を各々含む第1配管2Aおよび第2配管2Bの終端同士を接続する構造である。接続構造1は、第1配管2Aおよび第2配管2Bの各々の終端 に位置し外管22の端縁22Eよりも突出した内管21の突出端部25と、突出端部25同士のフランジ接続部26と、を含む配管接続部24と、外管22の端縁22Eから当該外管の管軸方向Fの所定長の外管表面領域である断熱エリアTAを覆い、且つ配管接続部24を覆う断熱材3と、断熱材3を覆うカバー4と、カバー4の内部に配置され、配管接続部24から発生する液化空気LAを受ける受け皿5と、を備える。
【選択図】図1
特許請求の範囲
【請求項1】
極低温流体が通過する内管と、前記内管を覆う外管と、前記内管と前記外管との間の真空断熱層と、を各々含む第1配管および第2配管の終端同士を接続する配管の接続構造であって、
前記第1配管および前記第2配管の各々の終端に位置し前記外管の端縁よりも突出した前記内管の突出端部と、前記突出端部同士のフランジ接続部と、を含む配管接続部と、
前記終端における前記外管の端縁から当該外管の管軸方向の所定長の外管表面領域である断熱エリアを覆い、且つ前記配管接続部を覆う断熱材と、
前記断熱材を覆うカバーと、
前記カバーの内部に配置され、前記配管接続部から発生する液化空気を受ける受け部材と、を備える配管の接続構造。
続きを表示(約 990 文字)
【請求項2】
請求項1に記載の配管の接続構造において、
前記受け部材は、前記カバーの内部において前記配管接続部の下方に配置された受け皿である、配管の接続構造。
【請求項3】
請求項2に記載の配管の接続構造において、
前記受け皿は、前記管軸方向において前記配管接続部よりも長い長さを有し、前記断熱エリアの少なくとも一部の下方と前記配管接続部の下方とに跨がって配置されている、配管の接続構造。
【請求項4】
請求項1に記載の配管の接続構造において、
前記受け部材は、前記カバーの下部領域である、配管の接続構造。
【請求項5】
請求項1~4のいずれか1項に記載の配管の接続構造において、
前記カバーの下方に配置され、前記カバーから流出する液化空気を受ける外側受け部材をさらに備える、配管の接続構造。
【請求項6】
請求項1~4のいずれか1項に記載の配管の接続構造において、
前記受け部材が受けた液化空気を気化させる気化装置をさらに備える、配管の接続構造。
【請求項7】
請求項6に記載の配管の接続構造において、
前記気化装置は、熱交換機能を含む熱交換パイプであり、
前記熱交換パイプの一端が、前記受け部材に接続され、前記熱交換パイプの他端が大気に開放されている、配管の接続構造。
【請求項8】
請求項1~4のいずれか1項に記載の配管の接続構造において、
前記カバーは、密閉の空間を作る筐体であり、外部から前記カバー内に空気を取り入れる開口部を含む、配管の接続構造。
【請求項9】
請求項1~4のいずれか1項に記載の配管の接続構造において、
前記フランジ接続部を覆うフランジキャップと、前記フランジキャップの上部から延出された放散管とをさらに備える、配管の接続構造。
【請求項10】
請求項2に記載の配管の接続構造において、
前記受け皿と共に前記フランジ接続部を囲う筐体を形成するフランジキャップと、前記フランジキャップの上部から延出された放散管と、前記受け皿から液化空気を導出する排液管と、をさらに備える、配管の接続構造。
(【請求項11】以降は省略されています)
発明の詳細な説明
【技術分野】
【0001】
本開示は、内管、外管および真空断熱層を備える配管の終端同士を接続する接続構造、および前記接続構造を含む配管システムに関する。
続きを表示(約 1,900 文字)
【背景技術】
【0002】
極低温流体を移送する配管においては、配管を部分的に分離できる構造とすることが好ましい。例えば、配管には、ポンプなどの機器が接続されることがある。機器のメンテナンスや交換の際、配管に残存する極低温流体が機器側へ流出しないよう、当該機器を配管から切り離すことが望ましい。配管自体の交換やメンテテンスの場合も同様である。特許文献1には、配管にフランジ接続部を設け、漏液防止用のシール部材で前記フランジ接続部の周面を覆ってなる配管の接続構造が開示されている。機器の切り離しが必要なとき、フランジ接続部を利用すれば機器と配管との縁切りが可能となる。
【先行技術文献】
【特許文献】
【0003】
特開2004-239310号公報
【発明の概要】
【発明が解決しようとする課題】
【0004】
移送する極低温流体が、液化空気を発生させる流体、例えば液化水素である場合、配管として、内管、外管および真空断熱層を備える真空断熱配管が用いられる。真空断熱配管に縁切りが可能な接続部を設ける場合、多重管構造であることから構造が複雑化する。
【0005】
本開示の目的は、真空断熱配管の接続部を簡素化できる配管の接続構造、および前記接続構造を備えた配管システムを提供することにある。
【課題を解決するための手段】
【0006】
本開示の一局面に係る配管の接続構造は、極低温流体が通過する内管と、前記内管を覆う外管と、前記内管と前記外管との間の真空断熱層と、を各々含む第1配管および第2配管の終端同士を接続する配管の接続構造であって、前記第1配管および前記第2配管の各々の終端 に位置し前記外管の端縁よりも突出した前記内管の突出端部と、前記突出端部同士のフランジ接続部と、を含む配管接続部と、前記終端における前記外管の端縁から当該外管の管軸方向の所定長の外管表面領域である断熱エリアを覆い、且つ前記配管接続部を覆う断熱材と、前記断熱材を覆うカバーと、前記カバーの内部に配置され、前記配管接続部から発生する液化空気を受ける受け部材と、を備える。
【0007】
本開示の他の局面に係る配管システムは、上記の配管の接続構造と、前記第1配管または前記第2配管の前記終端とは反対側の他端が入り込む空間であって、メンテナンス作業を必要とする空間を区画する容器 と、を備える。
【発明の効果】
【0008】
本開示によれば、真空断熱配管の接続部を簡素化できる配管の接続構造、および前記接続構造を備えた配管システムを提供できる。
【図面の簡単な説明】
【0009】
図1は、本開示の第1実施形態に係る配管の接続構造を概略的に示す断面図である。
図2は、第2実施形態に係る配管の接続構造を示す断面図である。
図3は、第3実施形態に係る配管の接続構造を示す断面図である。
図4は、第4実施形態に係る配管の接続構造を示す断面図である。
図5は、第5実施形態に係る配管の接続構造を示す断面図である。
図6は、第6実施形態に係る配管の接続構造を示す断面図である。
図7は、第7実施形態に係る配管の接続構造を示す断面図である。
図8は、第7実施形態の変形例に係る配管の接続構造を示す断面図である。
図9は、第8施形態に係る配管の接続構造を示す断面図である。
図10は、第9実施形態に係る配管の接続構造を示す断面図である。
図11は、実施形態に係る配管システムの運用状態を示す図である。
図12は、配管システムの制御例を示す図である。
【発明を実施するための形態】
【0010】
以下、図面に基づいて、本開示に係る配管の接続構造の各種実施形態を詳細に説明する。低温流体を扱う設備では、当該低温流体の移送配管として真空断熱多重管が用いられることがある。真空断熱多重管を用いることで、ボイルオフガスの発生や配管表面への着氷を抑制できる。また、移送対象が極低温流体である場合には、配管表面での液化空気の発生を抑制できる。極低温流体は、周囲の空気を液化させる温度域の流体、または、周囲の空気に含まれる酸素や窒素を液化させる温度域の流体である。極低温流体は、液化水素(LH
2
)や液化ヘリウム(LHe)などである。また、極低温流体は、極低温の温度域の水素ガスやヘリウムガスなどであってもよい。
(【0011】以降は省略されています)
この特許をJ-PlatPat(特許庁公式サイト)で参照する
関連特許
個人
留め具
1日前
個人
鍋虫ねじ
1か月前
個人
回転伝達機構
2か月前
個人
ホース保持具
6か月前
個人
紛体用仕切弁
1か月前
個人
トーションバー
6か月前
個人
差動歯車用歯形
3か月前
個人
ジョイント
26日前
個人
給排気装置
8日前
個人
地震の揺れ回避装置
2か月前
個人
ナット
27日前
個人
回転式配管用支持具
7か月前
個人
ボルトナットセット
6か月前
株式会社不二工機
電磁弁
5か月前
株式会社不二工機
電磁弁
3か月前
個人
吐出量監視装置
1か月前
カヤバ株式会社
緩衝器
3か月前
カヤバ株式会社
緩衝器
3か月前
カヤバ株式会社
ダンパ
3か月前
カヤバ株式会社
緩衝器
7か月前
カヤバ株式会社
ダンパ
3か月前
株式会社三協丸筒
枠体
6か月前
カヤバ株式会社
緩衝器
7日前
個人
ベルトテンショナ
7か月前
柿沼金属精機株式会社
分岐管
2か月前
個人
固着具と固着具の固定方法
4か月前
株式会社不二工機
電動弁
8日前
個人
角型菅の連結構造及び工法
7か月前
株式会社ニフコ
クリップ
12日前
個人
固着具と固着具の固定方法
4か月前
日東電工株式会社
断熱材
6か月前
株式会社奥村組
制振機構
16日前
株式会社奥村組
制振機構
16日前
日東精工株式会社
樹脂被覆ねじ
7か月前
アズビル株式会社
回転弁
20日前
個人
固着具と固着具の固定方法
4か月前
続きを見る
他の特許を見る