TOP
|
特許
|
意匠
|
商標
特許ウォッチ
Twitter
他の特許を見る
10個以上の画像は省略されています。
公開番号
2025158906
公報種別
公開特許公報(A)
公開日
2025-10-17
出願番号
2024226244
出願日
2024-12-23
発明の名称
インパクト工具及びインパクトレンチ
出願人
株式会社マキタ
代理人
弁理士法人酒井国際特許事務所
主分類
B25B
23/18 20060101AFI20251009BHJP(手工具;可搬型動力工具;手工具用の柄;作業場設備;マニプレータ)
要約
【課題】アングルインパクト工具において、ライトにより作業箇所を適切に照らすこと。
【解決手段】インパクト工具は、前後方向に延びるグリップ部と、グリップ部の前方に配置されるモータハウジング部と、モータハウジング部の内部に配置されるモータと、モータの前方に配置され、前後方向と交わる方向に延び、モータにより回転されるスピンドルと、スピンドルにより回転されるハンマと、ハンマにより回転方向に打撃されるアンビルと、アンビルの下端に配置される先端工具保持部と、スピンドル及びハンマを収容するハンマケースと、ハンマケースに保持される発光体と、を備える。
【選択図】図6
特許請求の範囲
【請求項1】
前後方向に延びるグリップ部と、
前記グリップ部の前方に配置されるモータハウジング部と、
前記モータハウジング部の内部に配置されるモータと、
前記モータの前方に配置され、前後方向と交わる方向に延び、前記モータにより回転されるスピンドルと、
前記スピンドルにより回転されるハンマと、
前記ハンマにより回転方向に打撃されるアンビルと、
前記アンビルの下端に配置される先端工具保持部と、
前記スピンドル及び前記ハンマを収容するハンマケースと、
前記ハンマケースに保持される発光体と、を備える、
インパクト工具。
続きを表示(約 1,200 文字)
【請求項2】
前記スピンドルは、前後方向と直交する回転軸に沿って下方向に延びる、
請求項1に記載のインパクト工具。
【請求項3】
前記発光体は、前記ハンマケースの下面に保持される、
請求項1に記載のインパクト工具。
【請求項4】
前記発光体と前記ハンマケースの下面との間に配置される緩衝部材をさらに備える、
請求項3に記載のインパクト工具。
【請求項5】
前記発光体は、前記アンビルの周囲に複数設けられ、かつ、前記アンビルの周方向に沿って配列される、
請求項1に記載のインパクト工具。
【請求項6】
前記ハンマケースに収容され、前記モータの回転力を前記スピンドルに伝達する減速機構部をさらに備え、
前記発光体は、前記ハンマケースのうち、前記減速機構部の収容部分の下面に保持される、
請求項1に記載のインパクト工具。
【請求項7】
前記ハンマケースは、前記スピンドル及び前記ハンマを収容する第1部分と、前記第1部分の後部に連続する第2部分と、を含み、
前記発光体は、前記ハンマケースのうち、前記第2部分の下面に保持される、
請求項1に記載のインパクト工具。
【請求項8】
前記発光体に接続し、前記ハンマケースの下面に沿って前記モータハウジング部へ延びるリード線と、
前記ハンマケースの下面に配置され、前記発光体を保持すると共に前記リード線を覆うライトカバーと、をさらに備える、
請求項1から7のいずれか1項に記載のインパクト工具。
【請求項9】
前後方向に延びるグリップ部と、
前記グリップ部の前方に配置されるモータハウジング部と、
前記モータハウジング部の内部に配置されるモータと、
前記モータにより回転されるスピンドルと、
前記スピンドルに対して移動するハンマと、
前記ハンマにより回転方向に、直接又は間接に打撃されるアンビルと、
前記アンビルの下端に配置される先端工具保持部と、
前記アンビルの周囲に配置される複数の発光体と、
前記スピンドル及び前記ハンマを収容するハンマケースと、
前記モータハウジング部とは別体であり、前記ハンマケースの下面に配置され、前記複数の発光体を保持する発光体保持部と、を備える、
インパクト工具。
【請求項10】
前記ハンマケースの下面は、平坦な載置面と、前記載置面から下方に突出し前記アンビルが通過する筒状部と、を有し、
前記発光体及び前記発光体保持部は、前記載置面に配置される、
請求項9に記載のインパクト工具。
(【請求項11】以降は省略されています)
発明の詳細な説明
【技術分野】
【0001】
本明細書で開示する技術は、インパクト工具及びインパクトレンチに関する。
続きを表示(約 2,800 文字)
【背景技術】
【0002】
ピストルタイプのインパクト工具において、先端部にライトを配置する構成が知られている。また、ピストルタイプのインパクト工具の先端部が入らない狭所での作業を可能とするアングルインパクト工具がある。アングルインパクト工具は、モータの回転軸と出力軸とが交差して非平行となる。アングルインパクト工具は、棒状で先端部が屈曲した形状を有し、狭い作業箇所に先端部を差し込んで締め付け作業を行える。
【先行技術文献】
【特許文献】
【0003】
特許5844970号公報
【発明の概要】
【発明が解決しようとする課題】
【0004】
アングルインパクト工具の先端部を狭所に差し込むと、ライトにより作業箇所を照らすことが困難になる。アングルインパクト工具においても、ライトにより作業箇所を適切に照らせるようにすることが望まれる。
【0005】
本明細書で開示する技術は、アングルインパクト工具において、ライトにより作業箇所を適切に照らすことを目的とする。
【課題を解決するための手段】
【0006】
本明細書は、インパクト工具を開示する。インパクト工具は、前後方向に延びるグリップ部と、グリップ部の前方に配置されるモータハウジング部と、モータハウジング部の内部に配置されるモータと、モータの前方に配置され、前後方向と交わる方向に延び、モータにより回転されるスピンドルと、スピンドルにより回転されるハンマと、ハンマにより回転方向に打撃されるアンビルと、アンビルの下端に配置される先端工具保持部と、スピンドル及びハンマを収容するハンマケースと、ハンマケースに保持される発光体と、を備えてもよい。
【発明の効果】
【0007】
上記の構成によれば、アングルインパクト工具において、ライトにより作業箇所を適切に照らすことができる。
【図面の簡単な説明】
【0008】
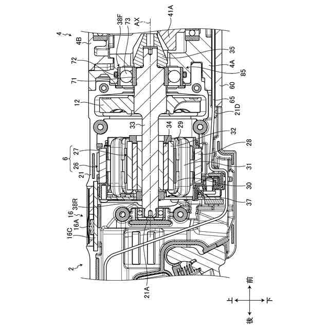
図1は、実施形態に係るインパクト工具を示す斜視図である。
図2は、実施形態に係るインパクト工具を示す側面図である。
図3は、実施形態に係るインパクト工具を示す下面図である。
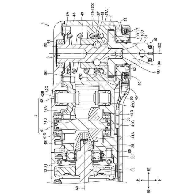
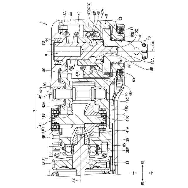
図4は、実施形態に係るインパクト工具を示す縦断面図である。
図5は、実施形態に係るインパクト工具のモータハウジング部を示す縦断面図である。
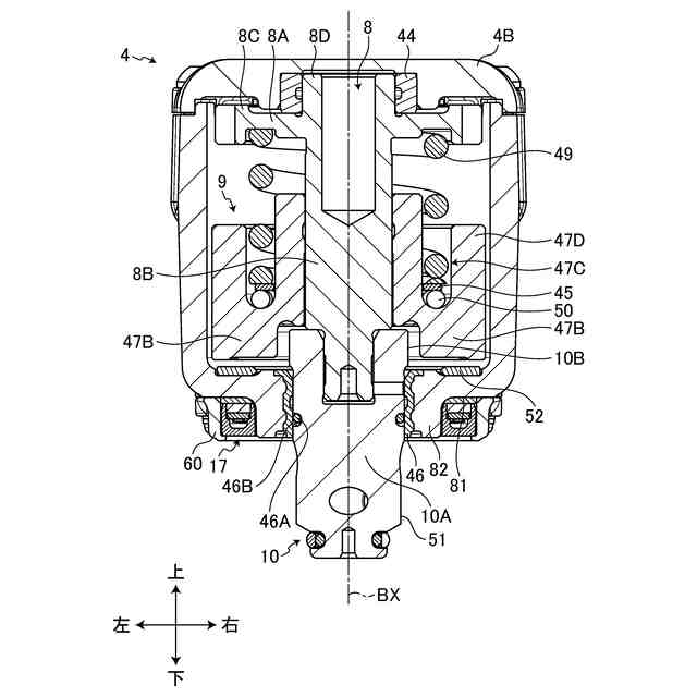
図6は、実施形態に係るインパクト工具のハンマケースを示す縦断面図である。
図7は、実施形態に係るインパクト工具のアンビルに沿った左右方向の断面図である。
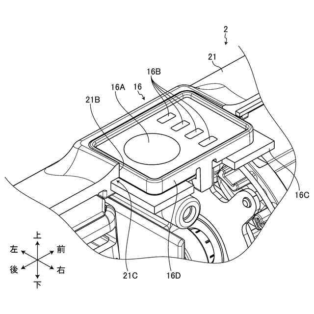
図8は、実施形態に係る操作パネルを示す斜視図である。
図9は、実施形態に係るバッテリ保持部へのバッテリパックの装着を示す模式図である。
図10は、実施形態に係るライトユニットを示す前後方向に沿った縦断面図である。
図11は、実施形態に係るライトユニットの構造を示す分解斜視図である。
図12は、実施形態に係るインパクト工具の前部を示す下方からの斜視図である。
図13は、実施形態に係るハンマケースへのライトカバーの装着を示す下方からの分解斜視図である。
図14は、実施形態に係るハンマケースを示す下方からの斜視図である。
図15は、ライトカバーを取り外した状態のハンマケースの下面図である。
図16は、ライトカバーを示した斜視図である。
図17は、実施形態に係るインパクト工具のベベルギヤの周辺を示す縦断面図である。
図18は、実施形態に係るハンマケースの後面を示す分解斜視図である。
図19は、実施形態に係るモータハウジング部の前面を示す分解斜視図である。
図20は、実施形態に係るベベルギヤ、ベアリングおよび中間支持部材を示す分解斜視図である。
図21は、実施形態に係る中間支持部材を示す縦断面図である。
図22は、実施形態に係るロータのサブアセンブリを示す分解斜視図である。
図23は、第2実施形態に係る中間支持部材を示す斜視図である。
図24は、第2実施形態に係るモータのサブアセンブリを示す分解斜視図である。
図25は、第3実施形態に係る中間支持部材を示す断面図である。
図26は、第4実施形態に係る中間支持部材を示す断面図である。
図27は、第4実施形態に係る中間支持部材の周辺を示す縦断面図である。
図28は、第5実施形態に係る中間支持部材及び固定部材を示す縦断面図である。
図29は、第6実施形態に係るインパクト工具の前部を示す縦断面図である。
図30は、第7実施形態に係るインパクト工具の前部を示す下方からの斜視図である。
図31は、第7実施形態に係るインパクト工具の前部を示す下面図である。
図32は、第7実施形態に係るハンマケースへのライトカバーの装着を示す下方からの分解斜視図である。
図33は、第7実施形態に係るライトユニットを示す前後方向に沿った縦断面図である。
図34は、第7実施形態に係るライトカバーを取り外した状態のインパクト工具の前部を示す下面図である。
図35は、第7実施形態に係るインパクト工具の前部を示す縦断面図である。
【発明を実施するための形態】
【0009】
1つ又はそれ以上の実施形態において、インパクト工具は、前後方向に延びるグリップ部と、グリップ部の前方に配置されるモータハウジング部と、モータハウジング部の内部に配置されるモータと、モータの前方に配置され、前後方向と交わる方向に延び、モータにより回転されるスピンドルと、スピンドルにより回転されるハンマと、ハンマにより回転方向に打撃されるアンビルと、アンビルの下端に配置される先端工具保持部と、スピンドル及びハンマを収容するハンマケースと、ハンマケースに保持される発光体と、を備えてもよい。
【0010】
上記の構成では、前後方向と交わる方向に延びるスピンドル、スピンドルにより回転されるハンマ、ハンマにより回転方向に打撃されるアンビルを備えたアングルインパクト工具において、スピンドル及びハンマを収容するハンマケースに発光体が保持される。これにより、発光体がアンビルの近くに配置されるので、インパクト工具の先端部(アンビル)を狭所に差し込んだときにも発光体からの光をアンビルの付近の作業箇所へ到達させることができる。その結果、アングルインパクト工具において、ライト(発光体)により作業箇所を適切に照らすことができる。
(【0011】以降は省略されています)
この特許をJ-PlatPat(特許庁公式サイト)で参照する
関連特許
株式会社マキタ
集塵アタッチメント
11日前
株式会社マキタ
往復動工具、及び、往復動工具の電動モータを制御する方法
4日前
株式会社マキタ
往復動工具、及び、往復動工具における電動モータを制御する方法
4日前
株式会社マキタ
往復動工具、及び、往復動工具における電動モータの通電を保持する方法
4日前
株式会社マキタ
往復動工具、及び、往復動工具における往復部材の位置検出に関連する不具合の発生を検出する方法
4日前
個人
フラワーホッチキス。
1か月前
個人
手持ち挟持具
1か月前
トヨタ自動車株式会社
学習装置
19日前
CKD株式会社
把持装置
4日前
川崎重工業株式会社
ハンド
2か月前
ダイセイ株式会社
ロボット自動刻印装置
4日前
株式会社マキタ
ハンマドリル
1か月前
株式会社マキタ
ハンマドリル
1か月前
瓜生製作株式会社
電動締付工具
12日前
工機ホールディングス株式会社
作業機
2か月前
川崎重工業株式会社
塗装システム
2か月前
株式会社安川電機
ロボット
1か月前
株式会社三共コーポレーション
工具保持具
1か月前
株式会社マキタ
集塵アタッチメント
11日前
株式会社不二越
垂直多関節ロボット
19日前
トヨタ自動車株式会社
ロボットハンド
1か月前
工機ホールディングス株式会社
作業機
2か月前
川崎重工業株式会社
ワーク搬送ロボット
2か月前
株式会社マキタ
現場用作業機
1か月前
株式会社不二越
ロボットに用いる伝送路
1か月前
NTN株式会社
把持装置
4日前
株式会社マキタ
作業機
1か月前
ニデックインスツルメンツ株式会社
産業用ロボット
1か月前
株式会社マキタ
電動工具
19日前
学校法人立命館
ロボットハンド制御システム
1か月前
トヨタ自動車株式会社
モバイルマニピュレータ
1か月前
国立大学法人東京科学大学
多自由度入力装置用制御装置
11日前
株式会社人機一体
有脚ロボット
1か月前
川崎重工業株式会社
監視システム
2か月前
株式会社ケイズベルテック
物品定量取り分け装置
1か月前
株式会社田村製作所
エンドエフェクタ及びロボット装置
1か月前
続きを見る
他の特許を見る